Запчасти Case IH 2400 (09-11) - AUTOMATIC HITCH (12) - FRAME

Схема запчастей Case IH 2400 - (09-11) - AUTOMATIC HITCH (12) - FRAME
15
5
17
12
20
3
1
19
9
19
4
22
10
7
6
13
21
11
2
8
14
18
16
FIT
1:1
100%

Артикул

Название

Примечание

Количество

529503R91

ATTACHMENT, AUTOMATIC HITCH, CONSISTS OF: REF. 1, 2 P/NS 533919R1 AND 311650R1 (P/N 3116501R1 IS SERVICE ONLY), 3, 4 P/N 533884R2, REF. 5-18, 19 (3 REQUIRED), 20-22 AND THE WASHER, CLIP AND ARM THAT FOLLOW REF. 22, Serial Range: -008077

1шт.

FOR TRACTORS EQUIPPED W/HYD DRAFT CONTROL ATTACHMENT AND AUTOMATIC HITCH W/THREE POSITION DRAWBAR

1шт.

ATTACHMENT, AUTOMATIC HITCH, CONSISTS OF: REF. 1, 4-18, 19 (2 REQUIRED), 20-22 AND THE WASHER AND CLIP THAT FOLLOW REF. 22

1шт.

FOR TRACTORS EQUIPPED W/HYD DRAFT CONTROL ATTACHMENT AND AUTOMATIC HITCH W/O THREE POSITION DRAWBAR

1шт.

538400R91

PACKAGE, AUTOMATIC HITCH COMPLETING, CONSISTS OF: REF. 1, 5-15, 17

1шт.

FOR TRACTORS EQUIPPED W/HYD DRAFT CONTROL, THREE POINT HITCH AND THREE POSITION DRAWBAR

1шт.

3116265R91

ATTACHMENT, AUTOMATIC HITCH, CONSISTS OF: REF. 1, 2 P/NS 533915R1 AND 3116498R1, 3-18, 20-22 AND THE WASHER, CLIP AND ARM THAT FOLLOW REF. 22, Start Serial: 008078

1шт.

FOR TRACTORS EQUIPPED W/HYD DRAFT CONTROL AND AUTOMATIC HITCH W/THREE POSITION DRAWBAR

1шт.

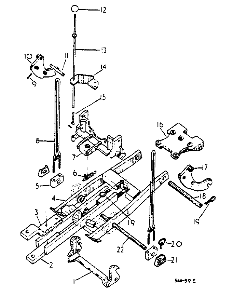
1

535220R2

LATCH

ASSY, AUTOMATIC HITCH

1шт.

2

533919R1

BAR

HITCH, ASSY

1шт.

ORDER HOOK ASSY. 3116495R1 W/HITCH ASSY 3116500R1 AND 1 COTTER PIN 700387R1

1шт.

2

3116501R1

DRAWBAR

HITCH ASSY

1шт.

2

533915R1

SPARE PART

HITCH, DRAWBAR ASSY, UP TO 454/100619, UP TO 2400/100067

1шт.

ORDER HOOK ASSY. 3116495R1 W/HITCH ASSY. 3116498R1 AND 1 COTTER PIN 700387R1

1шт.

2

3116498R1

BAR

HITCH, ASSY, 454/100620 UP, 2400/100068 UP

1шт.

INCLUDING 454/233413-100434-100581-100587-100593-100600-100616-100617-100618

1шт.

3

3064333R1

DRAWBAR CLAMP

CLEVIS

1шт.

102639

NUT,5/8"-11, G5

2шт.

413-1044

BOLT,Hex, 5/8" - 11 x 2-3/4", Gr 5

5/8 X 2-3/4 UNC HEX HD, 454/100620 UP, 2400/100068 UP

2шт.

INCLUDING 454/233413-100434-100581-100587-100593-100600-100616-100617-100618

1шт.

3

3064333R1

DRAWBAR CLAMP

CLEVIS

1шт.

413-1060

BOLT,Hex, 5/8" - 11 x 3-3/4", Gr 5

SCREW, HEX-HD. CAP 5/8 X 3-3/4, Course Threads

2шт.

102639

NUT,5/8"-11, G5

Up to 454/100619, Up to 2400/100067

2шт.

4

533884R2

SPARE PART

HOOK ASSY, TRAILER, UP TO 454/100619, UP TO 2400/100067

1шт.

ORDER HOOK ASSY. 3116495R1 W/HITCH ASSY. 3116498R1 AND 1 COTTER PIN 700387R1

1шт.

533883R1

BUSHING

HOOK FRAME, USED W/HOOK 533884R1

1шт.

4

3116495R1

HOOK

ASSY, TRAILER, 454/100620 UP, 2400/100068 UP

1шт.

INCLUDING 454/233413-100434-100581-100587-100593-100600-100616-100617-100618

1шт.

5

533907R1

BLOCK

LIFT ROD ADJUSTMENT

2шт.

6

399743R1

SPRING

LATCH RETURN

1шт.

7

533867R2

SUPPORT

ASSY, DRAWBAR

1шт.

271558

HOOD,Hex, 5/8" - 11 x 1 1/2", Gr 5

HEX-HD. CAP 5/8 X 1-1/2

6шт.

8

533904R1

ROD

ASSY, LIFT

2шт.

271500

SOCKET

HEX. 7/16

8шт.

103322

LOCK WASHER,7/16"

4шт.

9

720631R1

LINCH PIN

Q A COTTER

4шт.

PO12898

WASHER

LOCK, 7/16

2шт.

10

533898R1

ARM

ASSY, EXTENSION L.H.

1шт.

179881

BOLT,1/2" - 13 x 1", Gr 5

1шт.

103323

LOCK WASHER,1/2"

1шт.

11

3116500R1

PIN

ROCKSHAFT ARM

2шт.

1034

WASHER, .656 X 1.312 X .074

2шт.

12

264055R2

KNOB

HAND LATCH CONTROL ROD

1шт.

13

533909R2

ROD

ASSY, HAND LATCH CONTROL

1шт.

103385

COTTER PIN,1/8" x 1"

1шт.

16038R1

WASHER

17/32 X 1 X 11 GA.

1шт.

14

533912R1

BRACKET

ASSY, LEVER SUPPORT

1шт.

179889

BOLT,Hex, 1/2" - 13 x 2", Gr 5

HEX-HD. CAP 1/2 X 2

2шт.

103323

LOCK WASHER,1/2"

2шт.

15

3061075R1

SPRING

CONTROL ROD RETURN

1шт.

16

533865R1

SUPPORT

SPARE PART ASSY, DRAWBAR PIVOT

1шт.

179886

BOLT,Hex, 1/2" - 13 x 1 5/8", Gr 5

HEX-HD. CAP 1/2 X 1-5/8

2шт.

413-840

BOLT,Hex, 1/2" - 13 x 2-1/2", Gr 5

HEX-HD. CAP 1/2 X 2-1/2

2шт.

103323

LOCK WASHER,1/2"

4шт.

17

533899R1

ARM

SPARE PART ASSY, EXTENSION R.H.

1шт.

179881

BOLT,1/2" - 13 x 1", Gr 5

1шт.

103323

LOCK WASHER,1/2"

1шт.

18

529541R1

SHAFT

SHAFT, DRAWBAR PIVOT SUPPORT CROSS

1шт.

19

700387R1

CLIP, SPRING

PIN, COTTER

1шт.

20

533189R1

PIN

ASSY, COTTER

2шт.

21

404787R1

SHIELD

LINCH PIN

2шт.

22

533908R1

SHAFT

LIFT ROD CROSS

1шт.

Q123

WASHER

1-1/32 X 2-1/2 X 16 GA.

2шт.

267805R1

RING

CLIP, ROCKSHAFT ARM PIN, UP TO 454/100197, UP TO 2400/100020

2шт.

3064334R1

ARM

SPARE PART DRAWBAR CLEVIS, UP TO 454/100619, UP TO 2400/100068

1шт.

Выбрано товаров: 65