Запчасти Case IH 2400 (12-74) - FUEL FILTER, BOSCH INJECTION C.R. PUMP Power

Схема запчастей Case IH 2400 - (12-74) - FUEL FILTER, BOSCH INJECTION C.R. PUMP Power
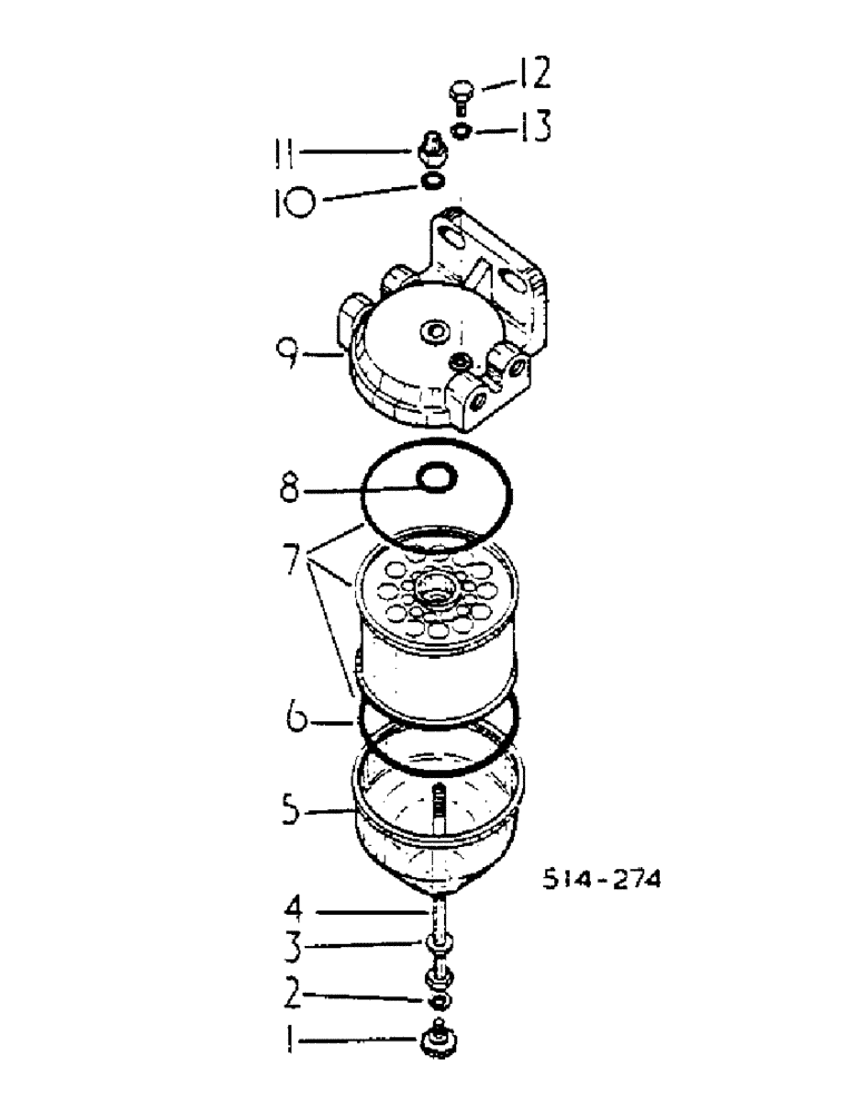
1
13
12
5
2
8
3
4
7
10
6
9
11
FIT
1:1
100%

Артикул

Название

Примечание

Количество

3144502R91

FILTER

FUEL CPT

2шт.

179837

BOLT,Hex, 3/8" - 16 x 3/4", Gr 5

4шт.

933620R1

BELLEVILLE WASHER,M10 Bolt Size x 20mm OD x 1.1mm Thk

Disc

4шт.

1

3144475R1

SCREW

DRAIN

1шт.

2

3144476R2

RING,7.2mm ID x 12mm OD x 1.5mm Thk

PACKING

2шт.

3

3144480R1

RING,8.1mm ID x 16mm OD x 2mm Thk

PACKING

1шт.

4

3144479R1

BOLT,Hex, M8 x 148mm, Cl 8.8

HOLLOW

1шт.

5

3144478R1

FILTER BOWL

GLASS

1шт.

6

3144472R1

RING

PACKING

2шт.

7

3144477R92

FILTER

ELEMENT, PACKAGE

1шт.

7

3044506R93

FILTER, FUEL

ELEMENT, PACKAGE, OPTIONAL

1шт.

8

3144779R1

RING

PACKING

1шт.

9

3144503R1

HEAD

1шт.

10

3144474R1

RING,8mm ID x 13mm OD x 1.5mm Thk

PACKING

1шт.

11

3144473R1

CROWN NUT

CROWN

1шт.

12

3144780R1

SCREW

AIR VENT

1шт.

13

757760R1

RING

PACKING

1шт.

Выбрано товаров: 17