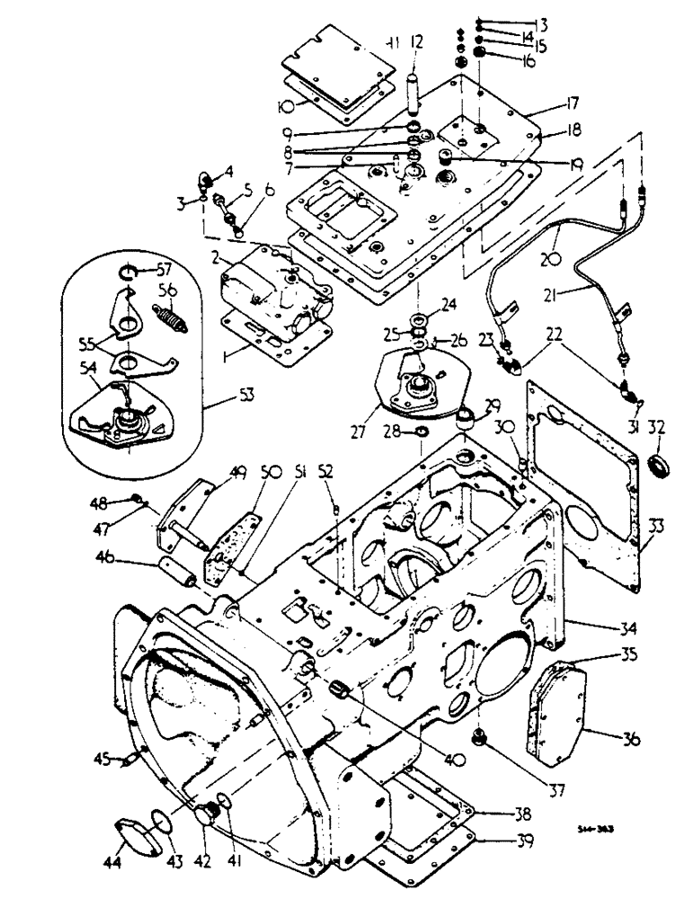
Запчасти Case IH 2400 (07-02) - HYDRO DRIVE HOUSING, CONTROL CAM, MULTI-VALVE (04) - Drive Train

Схема запчастей Case IH 2400 - (07-02) - HYDRO DRIVE HOUSING, CONTROL CAM, MULTI-VALVE (04) - Drive Train
13
41
53
49
27
20
34
52
28
23
15
25
39
1
19
40
8
35
12
44
7
38
56
57
55
45
51
4
36
5
31
26
22
18
42
24
48
54
16
50
33
32
29
14
17
3
21
47
9
30
2
46
11
37
6
10
43
FIT
1:1
100%

Артикул

Название

Примечание

Количество

1

401056R1

GASKET

MULTIPLE VALVE BODY

1шт.

2

VALVE, BODY MULTIPLE, SEE FIGURE 07-17

1шт.

179848

BOLT,Hex, 3/8" - 16 x 2 1/4", Gr 5

5шт.

3

369751R1

O-RING,0.072" Thk x 0.351" ID, -904, Cl 6, 90 Duro

1/4 OD tube

1шт.

4

9410974

ELBOW,90 Degree, 7/16"-20, 37 Degree x 7/16"-20, O-Ring

7/16-20 37 DEG HYD FLARED TUBE

1шт.

5

533561R1

TUBE

PRESSURE CHECK

1шт.

6

9403330

PLUG,7/16"-20, 37 Degree

7/16-20 37 DEG HYD FLARED TUBE

1шт.

7

19892R1

SPLIT PIN/SAFETY PIN

3/8 X 1-1/2 DOWEL

1шт.

8

66534C91

NEEDLE BEARING

ASSY, NEEDLE

2шт.

8

67123C91

NO LONGER SERVICED

BEARING ASSY, NEEDLE, OPTIONAL

2шт.

9

352221R1

O-RING,0.103" Thk x 0.549" ID, -113, Cl 5, 75 Duro

9/16 X 3/4 X 3/32, CAM ACTUATING SHAFT, UP TO 454/006980, UP TO 2400/000654

1шт.

9

65457C1

SEAL,19.04mm ID x 25.5mm OD x 3.17mm Thk

OIL CAM ACTUATING SHAFT, 454/6981 UP, 2400/655 UP

1шт.

10

400957R1

GASKET,0.76mm Thk

SERVO ACCESS COVER

1шт.

11

400956R1

COVER

SERVO ACCESS

1шт.

413-624

BOLT,Hex, 3/8" - 16 x 1-1/2", Gr 5

4шт.

179837

BOLT,Hex, 3/8" - 16 x 3/4", Gr 5

2шт.

413-616

BOLT,Hex, 3/8" - 16 x 1", Gr 5

2шт.

12

401053R1

SPARE PART CAM ACTUATING, UP TO 454/006980, UP TO 2400/000654

1шт.

12

65458C2

SHAFT

CAM ACTUATING, 454/6981 UP, 2400/655 UP

1шт.

13

384937R1

O-RING,0.07" Thk x 0.239" ID, -10, Cl 6, 90 Duro

1/4 X 3/8 X 1/16

2шт.

14

401017R1

RING

BACK UP

2шт.

15

402865R1

LOCK

TUBE

2шт.

16

402864R1

RETAINER

TUBE LOCK

2шт.

17

66544C91

COVER

ASSY, CAM MOUNTING, HAND SPEED CONTROL, ILLUSTRATED

1шт.

17

400955R11

COVER

ASSY, CAM MOUNTING, HAND SPEED CONTROL

1шт.

ON ORDERS FOR COVER 400955R11 FURNISH COVER 66544C91 TOGETHER W/SHAFT 65458C2 AND SEAL 65457C1

1шт.

17

66545C91

COVER

ASSY, CAM MOUNTING, FOOT SPEED CONTROL

1шт.

17

402177R91

COVER

ASSY, CAM MOUNTING, FOOT SPEED CONTROL

1шт.

ORDER 66545C91 TOGETHER W/SHAFT 65458C2 AND SEAL 65457C1

1шт.

19892R1

SPLIT PIN/SAFETY PIN

3/8 X 1-1/2 DOWEL

1шт.

172531

PLUG,Exp, 3/4"

EXPANSION

1шт.

66534C91

NEEDLE BEARING

ASSY, NEEDLE

2шт.

67123C91

NO LONGER SERVICED

BEARING ASSY, NEEDLE, OPTIONAL

2шт.

179845

BOLT,Hex, 3/8" - 16 x 1 3/4", Gr 5

3/8-16 X 1-3/4 HEX HD CAP

10шт.

18

401019R3

GASKET

TOP COVER

1шт.

19

9409947

DRAIN PLUG,Sq Soc, 3/4"-14 NPTF

3/4 SQ SOC HD PIPE

1шт.

20

401005R1

TUBE

ASSY, RESERVE PRESSURE

1шт.

13-510

BOLT,Hex, 5/16" - 18 x 5/8", Gr 5, Full Thd

1шт.

3340

CABLE

WASHER, 11/32 X 11/16 X .065, FLAT

1шт.

21

401001R1

TUBE

ASSY, FORWARD PRESSURE

1шт.

13-510

BOLT,Hex, 5/16" - 18 x 5/8", Gr 5, Full Thd

1шт.

95-11034

WASHER,1/4"

11/32 X 11/16 X .065 FLAT

1шт.

22

9410974

ELBOW,90 Degree, 7/16"-20, 37 Degree x 7/16"-20, O-Ring

7/16-20 37 DEG HYD FLARED TUBE 90 DEG

2шт.

24

396795R1

THRUST WASHER

NEEDLE BEARING THRUST

2шт.

24

530047R1

RACE

NEEDLE BEARING THRUST, OPTIONAL

2шт.

25

324105R91

THRUST BEARING,19.1mm ID x 31.5mm OD x 1.98mm W

NEEDLE THRUST

1шт.

25

530048R91

THRUST BEARING

NEEDLE, OPTIONAL

1шт.

26

106751

KEY

3/16 X 3/4 WOODRUFF 9

1шт.

27

401050R31

CAM

ASSY, CONTROL

1шт.

133765

SCREW,Sl Flat Hd, 1/4" - 20 x 7/16"

1/4-20 X 7/16 SLOT F HD, MACH

3шт.

28

373692R1

RING

RETAINING CAM

1шт.

29

400947R1

PIPE

OVERFLOW

1шт.

23

369751R1

O-RING,0.072" Thk x 0.351" ID, -904, Cl 6, 90 Duro

1/4 OD tube

1шт.

30

20556R1

DOWEL,1/2" x 3/4"

1шт.

31

369751R1

O-RING,0.072" Thk x 0.351" ID, -904, Cl 6, 90 Duro

1/4 OD tube

1шт.

32

530091R91

OIL SEAL

IPTO SHAFT LIP

1шт.

32

252050R91

SEAL

IPTO SHAFT LIP, OPTIONAL

1шт.

33

399814R4

GASKET

CLUTCH HOUSING TO REAR FRAME

1шт.

34

537098R92

HOUSING

ASSY, HYDRO DRIVE, INCLUDES: REF. 30, 32, 37, 44, 45 AND 50

1шт.

19892R1

SPLIT PIN/SAFETY PIN

3/8 X 1-1/2 DOWEL

1шт.

340340R1

BOLT,Hex, 1/2" - 13 x 1 1/2", Gr 8

SCREW, 1/2-13 X 1-1/2 HEX HD CAP, TO REAR FRAME

9шт.

413-828

BOLT,Hex, 1/2" - 13 x 1-3/4", Gr 5

6шт.

179894

BOLT,Hex, 1/2" - 13 x 3 1/4", Gr 5

2шт.

186295

BOLT,Hex, 1/2" - 13 x 5 1/2", Gr 5

1/2-13 X 5-1/2 HEX HD CAP

2шт.

102637

NUT,1/2"-13, G5

2шт.

103323

LOCK WASHER,1/2"

Adaptor plate to clutch hsg

2шт.

179895

BOLT,Hex, 1/2" - 13 x 3 1/2", Gr 5

1/2-13 X 3-1/2 HEX HD CAP, OIL PAN/SPACER TO CLUTCH HSG

2шт.

35

400951R1

GASKET

RELIEF VALVE ACCESS COVER

2шт.

36

400950R1

COVER

RELIEF VALVE ACCESS, 1 OFF USED ON INDUSTRIAL MODELS

2шт.

36

405079R1

COVER

RELIEF VALVE ACCESS, INDUSTRIAL MODELS

1шт.

179815

BOLT,Hex, 5/16" - 18 x 11/16", Gr 5

12шт.

37564HA

WASHER

5/16 COPPER

2шт.

37

3113103R1

PLUG

3/4-14 AUTOMOTIVE HEX HD PIPE

1шт.

38

402556R2

GASKET

BOTTOM COVER

1шт.

39

402182R1

COVER

BOTTOM

1шт.

179837

BOLT,Hex, 3/8" - 16 x 3/4", Gr 5

11шт.

40

539245R1

BUSHING

CLUTCH AND BRAKE SHAFT

1шт.

41

368269R1

O-RING,0.116" Thk x 0.924" ID, -912, Cl 6, 90 Duro

3/4 OD TUBE

1шт.

42

9410361

PLUG

1-1/16-12 CZ STR THD O-RING, BOSS

1шт.

43

21480R1

O-RING,0.103" Thk x 1.987" ID, -136, Cl 5, 75 Duro

2 X 2-3/16 X 3/32, FRONT IPTO BEARING COVER

1шт.

44

400954R1

COVER

SPARE PART FRONT IPTO BEARING

1шт.

179840

BOLT,Hex, 3/8" - 16 x 1 1/8", Gr 5

2шт.

103321

LOCK WASHER,3/8"

2шт.

45

19904R1

DOWEL,1/2" x 1"

2шт.

46

537099R1

NO LONGER SERVICED

BUSHING, LH BRAKE PEDAL PIVOT

1шт.

46

539834R1

BUSHING,22.35mm ID x 25.47mm OD x 68.07mm L

LH BRAKE PEDAL PIVOT

1шт.

46

539245R1

BUSHING

CLUTCH AND BRAKE SHAFT, OPTIONAL

1шт.

47

369751R1

O-RING,0.072" Thk x 0.351" ID, -904, Cl 6, 90 Duro

1/4 OD tube, Pressure check plug

1шт.

48

405192R1

PLUG

PRESSURE CHECK

1шт.

49

405195R1

COVER ASSY

SPARE PART PRESSURE CHECK ACCESS

1шт.

179815

BOLT,Hex, 5/16" - 18 x 11/16", Gr 5

4шт.

37564HA

WASHER

5/16 COPPER

1шт.

50

405193R1

GASKET

ACCESS COVER

1шт.

51

384937R1

O-RING,0.07" Thk x 0.239" ID, -10, Cl 6, 90 Duro

1/4 X 3/8 X 1/16, PRESSURE CHECK BUSHING

1шт.

52

19962R1

DOWEL,3/8" x 3/4"

1шт.

53

CAM ASSY, CENTERING MECHANISM, INDUSTRIAL MODELS ONLY, CONSISTS OF: REF. 53 THRU 56

1шт.

54

402179R41

CAM

ASSY

1шт.

133765

SCREW,Sl Flat Hd, 1/4" - 20 x 7/16"

1/4-20 X 7/16 SLOT F HD MACH

3шт.

55

402180R1

PLATE

CAM CENTERING

2шт.

56

402181R1

SPRING

CENTERING

1шт.

57

567879R1

RING

RETAINING

1шт.

Выбрано товаров: 101