Запчасти Case IH 2400 (08-15) - ELECTRICAL, BASIC DIESEL ENGINE TRACTOR WIRING (06) - ELECTRICAL

Схема запчастей Case IH 2400 - (08-15) - ELECTRICAL, BASIC DIESEL ENGINE TRACTOR WIRING (06) - ELECTRICAL
48
6
52
36
44
1
42
56
39
36
5
13
41
3
7
31
43
53
13
30
23
55
35
32
7
6
40
46
8
19
16
29
6
54
33
15
17
50
34
28
7
47
4
45
20
38
27
9
2
26
31
12
14
37
6
7
22
10
11
24
36
18
21
51
12
25
49
FIT
1:1
100%

Артикул

Название

Примечание

Количество

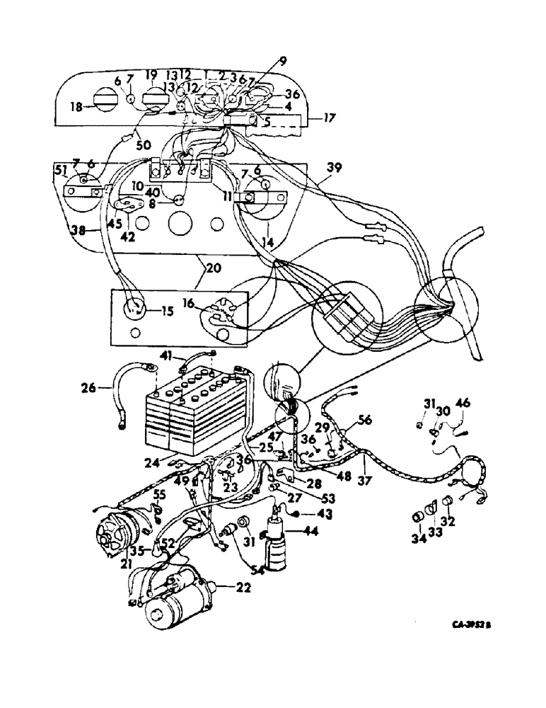
1

GAUGE ASSY, charge indicator, refer to instrument panel and gauges listing, group 11

1шт.

2

529660R1

CABLE

CABLE ASSY, junction block to charge indicator negative terminal

1шт.

3

529661R1

CABLE

CABLE ASSY, junction block to charge indicator positive terminal

1шт.

4

GAUGE ASSY, fuel, refer to instrument panel and gauges listing, group 11

1шт.

5

404391R1

CABLE

CABLE ASSY, junction block to fuel gauge

1шт.

6

537803R1

SOCKET

SOCKET ASSY, instrument light, 3 used w/synchromesh transmission tractors, 4 used w/hydrostatic drive tractors

1шт.

7

9417863

BULB,C2F, #1895, 14V

LIGHT, no. 1895, 12 volt, 3 used w/synchromesh transmission tractors, 4 used w/hydrostatic drive tractors

1шт.

8

HOUSING ASSY, fuse, refer to engine controls and switches listing

1шт.

9

145510

FUSE,1 Amp, Type 3AG

FUSE, cartridge type AGC-1, 1-1/4 long

1шт.

9

149559

SPARE PART FUSE, cartridge type AGA-1, 5/8 long 1 Amp, Type 1AG

1шт.

10

404530R1

CABLE

SPARE PART CABLE ASSY, junction, Serial Range: block-fuse

1шт.

11

378336R91

BLOCK

BLOCK ASSY, junction

1шт.

103319

LOCK WASHER,1/4"

WASHER, LOCK, 1/4"

2шт.

109084

NUT,1/4"-20, G5

NUT, 1/4"-20, G5

2шт.

120614

NUT,Hex, #10 - 32

NUT, #10-32

3шт.

120217

LOCK WASHER,#10

WASHER, LOCK, #10

3шт.

12

537804R1

SOCKET

SOCKET ASSY, park brake and transmision oil

2шт.

13

9417863

BULB,C2F, #1895, 14V

LIGHT, no. 1895, 12 volt

2шт.

14

TACHOMETER, refer to instrument panel and gauges listing, group 11

1шт.

15

SWITCH ASSY, ignition key, refer to engine controls and switches listing

1шт.

16

SWITCH ASSY, lighting, refer to engine controls and switches listing

1шт.

17

PANEL, instrument face, refer to instrument panel and gauges listing, group 11

1шт.

18

INDICATOR ASSY, heat, refer to instrument panel and gauges listing, group 11

1шт.

19

GAUGE ASSY, oil pressure indicator, refer to instrument panel and gauges listing, group 11

1шт.

20

PANEL ASSY, instrument, refer to instrument panel and gauges listing, group 11

1шт.

21

ALTERNATOR-GENERATOR, for components, see list of parts under details of alternator generator

1шт.

22

1113203

MOTOR

MOTOR, cranking, Delco Remy, 403298R91 for complete assy, furnish 1107867, synchromesh transmission tractors, for components, see list of parts under details of cranking motor

1шт.

22

1107867

ELECTRIC MOTOR

MOTOR, cranking, Delco Remy, 403300R92, synchromesh transmission tractors

1шт.

22

189330A5GV

STARTER MOTOR,12V, 2.8kW

Value

1шт.

22

189330A5R

REMAN-STARTER,12V, 2.8kW

Remanufactured Starter 12 volt, 2.8KW

1шт.

22

189330A5C

CORE-STARTER,12V, 2.8kW

Return Part Number, Starter 12 volt, 2.8KW

1шт.

22

1113690

STARTING MOTOR

MOTOR, cranking, Delco Remy, hydrostatic drive tractors, for components, see list of parts under details of cranking motor

1шт.

120614

NUT,Hex, #10 - 32

NUT, #10-32

1шт.

120217

LOCK WASHER,#10

WASHER, LOCK, #10

1шт.

120622

NUT,#8-32

NUT, #8-32

1шт.

121841

LOCK WASHER,#8

WASHER, LOCK, #8

1шт.

179840

BOLT,Hex, 3/8" - 16 x 1 1/8", Gr 5

SCREW, 3/8-16 x 1-1/8 hex-hd cap

3шт.

103321

LOCK WASHER,3/8"

WASHER, LOCK, 3/8"

3шт.

124829

JAM NUT,Hex, 3/8" - 16, Gr 5

NUT, Jam, 3/8"-16, G5

1шт.

120381

WASHER

WASHER, 3/8 C-Z light lock

1шт.

23

534784R1

RESISTOR

RESISTOR

1шт.

17403R1

BOLT,Hex, 1/4" - 20 x 1/2", Gr 2

SCREW, 1/4-20 x 1/2 hex-hd cap

1шт.

103319

LOCK WASHER,1/4"

WASHER, LOCK, 1/4"

1шт.

109084

NUT,1/4"-20, G5

NUT, 1/4"-20, G5

1шт.

24

538977R1

SPARE PART BATTERY, Prestolite 1253X, 6 volt, 2400 series A synchromesh transmission tractors with serial no. 2866 and below

2шт.

24

65247C1

SPARE PART BATTERY, Prestolite 3016X, 12 volt, 454 synchromesh transmission tractors and 2400 series A synchromesh transmission tractors with serial no. 2867 and above

1шт.

24

538982R1

SPARE PART BATTERY, Prestolite 1258X, 6 volt, 454 synchromesh transmission tractors with heavy duty batteries and 2400 series A synchromesh transmission tractors with heavy duty batteries and serial no. 101196 and below

2шт.

24

537532R1

SPARE PART BATTERY, Prestolite 1266X, 6 volt, replaces 400123R1, hydrostatic drive tractors, hydrostatic drive tractors with heavy duty batteries and 2400 series A synchromesh transmission tractors with heavy duty batteries and serial no. 101197 and above

1шт.

25

529662R1

CABLE

CABLE W/BOOT, battery to solenoid switch

1шт.

26

529663R1

CABLE

CABLE ASSY, Serial Range: battery-ground

1шт.

395-11053

WASHER,0.53" ID x 1.06" OD x 0.1" Thk

WASHER, 17/32 x 1-1/16 x .074

1шт.

27

121629C1

IGNITION SWITCH

SWITCH ASSY, neutral starting, replaces 382728R91, all tractors except 2400 series A hydrostatic drive tractors with foot controls and serial no. 100003 and above

1шт.

27

121629C1

IGNITION SWITCH

SWITCH ASSY, neutral starting, replaces 532682R1, 2400 series A hydrostatic drive tractors with foot controls and serial no. 100003 and above

1шт.

28

533859R1

BRACKET

BRACKET, neutral starting switch, all tractors except 2400 series A hydrostatic drive tractors with foot controls and serial no. 100003 and above

1шт.

179835

BOLT,Hex, 3/8" - 16 x 5/8", Gr 5, Full Thd

BOLT, Hex, 3/8"-16 x 5/8", G5, Full Thd

1шт.

103321

LOCK WASHER,3/8"

WASHER, LOCK, 3/8"

1шт.

280161

BOLT,Hex, 3/8" - 16 x 3", Gr 5

BOLT, , Hydrostatic drive tractors with hand controls Hex, 3/8"-16 x 3", G5

2шт.

28

537937R2

BRACKET

BRACKET, neutral starting switch, 2400 series A hydrostatic drive tractors with foot controls and serial no. 100003 and above

1шт.

113-206

BOLT,Hex, 3/8" - 16 x 3/4", Gr 5, Full Thd

BOLT, 3/8-16 x 3/4 C-Z hex-hd cap

2шт.

120382

LOCK WASHER,Helical Spring, 3/8"

WASHER, LOCK, 3/8"

1шт.

120377

NUT,3/8" - 16, Gr 5

NUT, 3/8"-16, G5

1шт.

29

376855R92

SWITCH

SWITCH, transmission oil pressure, 454 hydrostatic drive tractors, 2400 series A hydrostatic drive tractors with serial no. 100000 and below and 2400 series A synchromesh transmission tractors with draft control

1шт.

29

529796R1

IGNITION SWITCH

SWITCH ASSY, oil pressure, 454 synchromesh transmission tractors and 2400 series A hydrostatic drive tractors with serial no. 100001 and above

1шт.

29

392249R92

SWITCH

SWITCH, transmission oil pressure, 2400 series A synchromesh transmission tractors with forward and reverse

1шт.

30

404352R1

SWITCH

SWITCH ASSY, park brake warning light, replaces 529461R91

1шт.

31

534351R1

COVER

COVER, warning light switch

3шт.

32

394132R91

FLASHER UNIT

FLASHER, warning light

1шт.

33

394133R1

FASTENER

BRACKET, flasher mounting

1шт.

34

394134R1

SEAL

ABSORBER, flasher mounting

1шт.

35

364910R1

BOOT

INSULATOR, terminal cover boot

1шт.

36

384396R1

SPADE TERMINAL,Male

TERMINAL, oil pressure and park brake tellite

3шт.

37

65026C2

HARNESS

HARNESS ASSY, main cable

1шт.

38

529659R2

HARNESS

HARNESS ASSY, panel cable, consist of ref no. 9

1шт.

39

404531R1

CABLE

CABLE, charge indicator to stop light switch, tractors with stop lights

1шт.

40

66219C1

SPARE PART CABLE ASSY, ether switch to main harness, tractors with serial no. 8130 and above

1шт.

41

370394R91

CABLE

CABLE ASSY, battery to battery, tractors with two batteries

1шт.

42

397940R93

SWITCH

SWITCH, ether push button

1шт.

436730

LOCK SCREW,Slotted Pan Hd, #10-24 x 3/8"

SCREW, 10-24 x 3/8 C-Z slt-pan-hd mach

2шт.

120361

NUT,Hex Mach Screw, #10 - 24

NUT, #10-24

2шт.

43

405227R1

CABLE

CABLE, ether, Serial Range: solenoid-ground

1шт.

44

SOLENOID ASSY, ether injection, refer to ether starting listing, group 12

1шт.

45

404414R1

CABLE PULLING GRIP

CABLE, junction block to ether switch, tractors with serial no. 8129 and below

1шт.

45

66220C1

SPARE PART CABLE ASSY, ether switch to fuel gauge, tractors with serial no. 8130 and above

1шт.

46

405229R1

CABLE

CABLE ASSY, parking brake ground

1шт.

47

65425C1

SWITCH

SWITCH ASSY, oil temperature, hydrostatic drive tractors

1шт.

120614

NUT,Hex, #10 - 32

NUT, #10-32

1шт.

120217

LOCK WASHER,#10

WASHER, LOCK, #10

1шт.

48

534820R2

SPARE PART CABLE ASSY, warning light junction, hydrostatic drive tractors

1шт.

49

66483C92

SPARE PART CABLE W/FUSE, stop light switch, tractors with stop lights

1шт.

117142

FUSE,10 Amp, Type 3AG

FUSE, type AGC 10 amp

1шт.

50

534821R1

SPARE PART CABLE ASSY, instrument light junction, hydrostatic drive tractors

1шт.

51

SPEEDOMETER, hydrostatic drive tractors, refer to instrument panel and gauges listing, group 11

1шт.

52

66482C1

SPARE PART BRACKET, stop light switch, tractors with stop lights

1шт.

180318

SCREW, 1/4-20 x 5/8 znd hex.

3шт.

492-11025

LOCK WASHER,1/4"

WASHER, LOCK, 1/4"

3шт.

120375

NUT,Hex, 1/4" - 20, Gr 5

NUT, 1/4"-20, G5

3шт.

53

539462R1

SPARE PART HARNESS, 2400 series A hydrostatic drive tractors with foot controls

1шт.

289862C1

CABLE TIE,3/16" x 7"

CABLE STRAP STRAP

1шт.

54

404352R1

SWITCH

SWITCH ASSY, brake light, tractors with stop lights

2шт.

55

399470R1

BOOT

INSULATOR, terminal cover boot

1шт.

56

404531R1

CABLE

CABLE, oil pressure switch junction, synchromesh transmission tractors

1шт.

Выбрано товаров: 101