Запчасти Case IH 2400 (10-39) - HYDRAULICS, UNLOADING AND FLOW CONTROL VALVE (07) - HYDRAULICS

Схема запчастей Case IH 2400 - (10-39) - HYDRAULICS, UNLOADING AND FLOW CONTROL VALVE (07) - HYDRAULICS
24
6
3
5
8
13
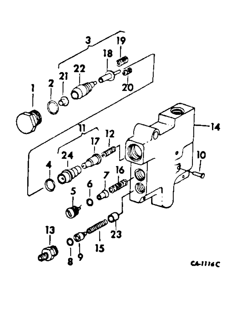
1
12
7
22
23
15
2
4
19
21
11
14
9
16
17
18
10
20
FIT
1:1
100%

Артикул

Название

Примечание

Количество

59098C93

VALVE

ASSY, unloading & flow control, on orders for valve 400001R91, furnish valve 59098C93 and o-ring 59099C1

1шт.

1

545494R2

PLUG

unloading valve

1шт.

2

296247R1

O-RING,16-1, 90 Duro, 1.171" ID x .116" Thk

1 in. OD tube

1шт.

3

376762R11

PISTON ASSY.

PISTON ASSY, unloading valve

1шт.

4

385713R1

O-RING,0.139" Thk x 0.796" ID, -211, Cl 6, 90 Duro

unloading valve piston

1шт.

5

399851R1

PLUG

check valve

1шт.

6

570828R1

O-RING,0.087" Thk x 0.644" ID, -908, Cl 6, 90 Duro

1/2 OD tube

1шт.

7

389587R3

CHECK VALVE

VALVE, check poppet

1шт.

8

570828R1

O-RING,0.087" Thk x 0.644" ID, -908, Cl 6, 90 Duro

1/2 OD tube

1шт.

9

58367C1

GUIDE

spring, used with valve 59098C93

1шт.

10

617057R1

PIN,1/4" x 1", Coiled

on orders for shaft 399854R1, furnish pin 617057R1 and o-ring 59099C1 1/4" x 1", Coiled

1шт.

11

530138R1

BODY

ASSY, unloading valve

1шт.

12

530141R1

SPRING

unloading

1шт.

13

527910R1

FITTING

flow control, used with valve 400001R91

1шт.

13

9410203

HYD CONNECTOR,3/4"-16, 37 Degree x 3/4"-16, O-Ring

CONNECTOR, 3/4-16 znd 37 deg hyd flared tube short swivel, used with valve 59098C93

1шт.

14

BODY, unloading and flow control valve, not serviced separately, order valve assy, 59098C91

1шт.

15

530142R1

SPRING

flow control valve

1шт.

16

535547R1

SPRING

check poppet

1шт.

17

VALVE, not serviced separately, order body assy 530138R1

1шт.

18

ROD, not serviced separately, order piston assy 376762R11

1шт.

19

SPRING, inner, not serviced separately, order piston assy 376762R11

1шт.

20

SPRING, outer, not serviced separately, order piston assy 376762R11

1шт.

21

RETAINER, not serviced separately, order piston assy 376762R11

1шт.

22

PISTON, unloading valve, not serviced separately, order piston assy 376762R11

1шт.

23

VALVE, flow control, not serviced separately, order valve assy 59098C93

1шт.

24

BODY, not serviced separately, order body assy 530138R1

1шт.

Выбрано товаров: 26