Запчасти Case IH 2400 (12-16) - POWER, FOOT ACCELERATOR, DIESEL ENGINE TRACTORS Power

Схема запчастей Case IH 2400 - (12-16) - POWER, FOOT ACCELERATOR, DIESEL ENGINE TRACTORS Power
4
10
11
6
9
14
3
13
12
8
1
2
7
15
5
FIT
1:1
100%

Артикул

Название

Примечание

Количество

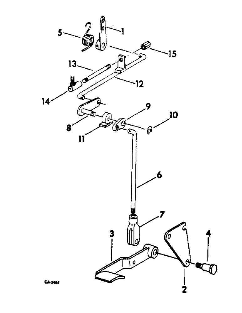
1

528328R1

LEVER

ASSY

1шт.

19313R1

PIN,5/32" x 7/8", Coiled

1шт.

21309R1

WASHER

13/32 x 7/8 x 7 ga.

1шт.

2

528754R2

SUPPORT

BRACKET, foot accelerator pedal support

1шт.

113-206

BOLT,Hex, 3/8" - 16 x 3/4", Gr 5, Full Thd

3/8-16 x 3/4 znd hex-hd cap

2шт.

3

69409C91

PACKAGE

foot pedal accelerator, consists of (1) pedal 528755R2 (NSS), (1) arm 529756R2 (NSS), (1) pad 537590R1 (NSS), (1) hub 532964R2 (NSS)

1шт.

4

532965R3

BOLT,3/8" - 16 x 1.7"

foot accelerator pedal pivot

1шт.

120382

LOCK WASHER,Helical Spring, 3/8"

WASHER, LOCK, 3/8"

1шт.

120377

NUT,3/8" - 16, Gr 5

1шт.

5

539012R1

SPRING

torsion

1шт.

6

528758R3

ROD, foot accelerator pull

1шт.

NLS

NO LONGER SERVICED

PIN, 1/16 x 1/2 cot.

1шт.

120613

JAM NUT,Hex, 1/4" - 28, Gr 5

1шт.

7

213-124

ADJUSTABLE CLEVIS,1/4"-28

CLEVIS, 1/4-28 x 1-11/16 adjusting rod end, 454 tractors and 2400 series A tractors with serial no. 100104 and below

1шт.

114783

PIN

1/4 x 51/64 rod end

1шт.

103361

PIN, SPLIT (COTTER)

PIN, 1/16 x 1/2 cot.

1шт.

7

104036

ADJUSTABLE CLEVIS,1/4"-28 x 2"

CLEVIS, 1/4-28 x 2 adjusting rod end, 2400 series A tractors with serial no. 100105 and above

1шт.

114783

PIN

1/4 x 51/64 rod end

1шт.

NLS

NO LONGER SERVICED

PIN, 1/16 x 1/2 cot.

1шт.

8

528760R3

ARM

ASSY, Bellcrank

1шт.

9

528764R2

LEVER

Bellcrank

1шт.

10

110668R1

CIRCLIP,#37, .300" Dia, E-Type

Ring, Retaining, #37, .300" Dia, E-Type

1шт.

11

532967R2

ARM

ASSY, actuating

1шт.

19368R1

PIN,5/32" x 1", Coiled

1шт.

12

528767R1

ROD ASSY.

ROD ASSY, Bellcrank pull

1шт.

103361

PIN, SPLIT (COTTER)

PIN, 1/16 x 1/2 cot.

2шт.

13

528773R1

ROD

foot accelerator pick-up

1шт.

120613

JAM NUT,Hex, 1/4" - 28, Gr 5

2шт.

14

109400

STEERING KNUCKLE

JOINT, 1/4-28 ball, optional w/19318R1

1шт.

14

19318R1

BALL JOINT

JOINT, 1/4-28 ball, optional w/109400

1шт.

492-11025

LOCK WASHER,1/4"

WASHER, LOCK, 1/4"

1шт.

120367

NUT,Hex, 1/4" - 28, Gr 5

1/4028 znd hex.

1шт.

15

528776R1

NUT

foot accelerator pick-up rod swivel

1шт.

Выбрано товаров: 0