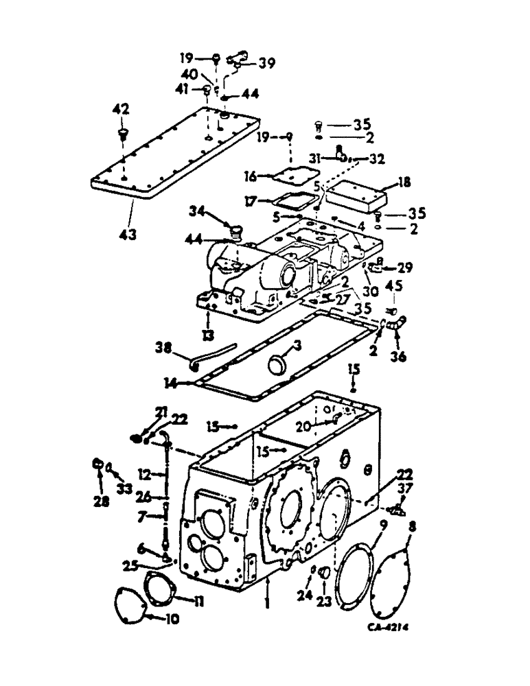
Запчасти Case IH 2400 (07-18) - DRIVE TRAIN, REAR FRAME, COVER AND CONNECTIONS (04) - Drive Train

Схема запчастей Case IH 2400 - (07-18) - DRIVE TRAIN, REAR FRAME, COVER AND CONNECTIONS (04) - Drive Train
15
42
19
3
23
35
5
7
35
2
20
18
35
22
28
24
17
37
41
5
6
36
45
13
1
30
14
16
43
15
34
2
27
10
44
11
32
29
12
44
8
2
22
31
40
25
4
15
33
21
2
38
39
19
26
9
FIT
1:1
100%

Артикул

Название

Примечание

Количество

1

399848R51

FRAME

1шт.

FRAME ASSY, rear, synchromesh transmission tractors, consists of (1) frame 399848R5 (NSS), (2) pin 19904R1, (4) pin 19875R1, (2) plug 3113103R1, (1) pin 19846R1, (2) plug 386194R1, (1) plug 327412R1, (1) plug 512870R1, (1) plug 349373R1, (1) plug 70129R1, (1) plug 23828R1, (1) plug 330222R1, (1) plug 151162R1, (1) 327413R1

1шт.

243120R1

SCREW

W/NYLOK PELLET INSERT, 5/16-18 x 1/2 znd hex-hd cap, used w/2400 series A tractors

1шт.

23364R1

WASHER

11/32 x 1-3/4 x 7 ga C-Z, used w/2400 series A tractors

1шт.

1

399849R94

FRAME

1шт.

FRAME ASSY, rear, hydrostatic drive tractors, consists of (1) frame 399848R4 (NSS), (2) pin 19904R1, (4) pin 19875R1, (2) plug 3113103R1, (3) plug 386194R1, (1) pin 19846R1, (1) plug 70129R1, (1) plug 23828R1, (1) plug 330222R1, (1) plug 151162R1, (1) plug 327413R1

1шт.

243120R1

SCREW

W/NYLOK PELLET INSERT 5/16-18 x 1/2 znd hex-hd cap

1шт.

23364R1

WASHER

11/32 x 1-3/4 x 7 ga C-Z

1шт.

2

570828R1

O-RING,0.087" Thk x 0.644" ID, -908, Cl 6, 90 Duro

1/2 OD tube

4шт.

3

527748R1

PLUG

oil reservoir, synchromesh transmission tractors

1шт.

3

538057R1

PLUG

oil reservoir, hydrostatic drive tractors

1шт.

4

21433R1

O-RING,0.103" Thk x 0.674" ID, -115, Cl 6, 90 Duro

11/16 x 7/8 x 3/32, auxiliary valve manifold, used w/cover 529381R94

1шт.

5

377952R1

O-RING,0.103" Thk x 0.549" ID, -113, Cl 6, 90 Duro

9/16 x 3/4 x 3/32, auxiliary valve manifold, used w/cover 529381R94

2шт.

6

9410976

ELBOW,90 Degree, 9/16"-18, 37 Degree x 9/16"-18, O-Ring

9/16-18 deg hyd flared tube adj str thd 90 deg oil level gage tube

1шт.

7

528059R1

TUBE

rear frame oil level gage

1шт.

8

405738R1

COVER

side PTO

1шт.

179837

BOLT,Hex, 3/8" - 16 x 3/4", Gr 5

7шт.

9

405739R2

GASKET

side IPTO cover

1шт.

10

399842R1

COVER

rear frame IPTO

2шт.

11

399843R3

GASKET

IPTO cover

2шт.

179837

BOLT,Hex, 3/8" - 16 x 3/4", Gr 5

6шт.

12

528054R2

DIPSTICK

GAGE ASSY, rear frame oil level, 454 tractors with synchromesh transmission and 2400 series A tractors with synchromesh transmission and skidded unit no. 100003 and below

1шт.

12

528057R2

DIPSTICK

GAGE ASSY, rear frame oil level, 454 tractors w/hydrostatic drive and 2400 series A tractors with hydrostatic drive and skidded unit no. 100003 and below

1шт.

12

66730C1

DIPSTICK

GAGE ASSY, rear frame oil level, 2400 series A tractors w/skidded unit no. 100004 and above with draft control

1шт.

13

529381R94

COVER ASSY

1шт.

COVER ASSY, rear frame, 454 tractors and 2400 series A tractors w/serial no. 100003 and below without draft control, consists of (3) screw 179883, (3) nut 454522R1, (1) plug 386194R1, (1) plug 373553R1, (1) plug 41600D, (2) plug 24469R1, (2) stud, long 531143R2, (2) stud, short 531144R1

1шт.

120377

NUT,3/8" - 16, Gr 5

4шт.

120382

LOCK WASHER,Helical Spring, 3/8"

WASHER, LOCK, 3/8"

4шт.

413-630

BOLT,Hex, 3/8" - 16 x 1-7/8", Gr 5

11шт.

179886

BOLT,Hex, 1/2" - 13 x 1 5/8", Gr 5

SCREW, 1/2-13 x 1-5/8 hex-hd cap

2шт.

179888

LEVER

SCREW, 1/2-13 x 1-7/8 hex-hd cap

4шт.

179847

BOLT,Hex, 3/8" - 16 x 2", Gr 5

1шт.

179850

BOLT,Hex, 3/8" - 16 x 2 3/4", Gr 5

SCREW, 3/8-16 x 2-3/4 hex-hd cap

2шт.

103321

LOCK WASHER,3/8"

WASHER, LOCK, 3/8"

14шт.

444695

PLUG

3/8-16 autom-hex-soc-hd pipe

1шт.

20953R1

DRAIN PLUG,Sq Hd, 1 1/4"-11 1/2 NPTF

PLUG, 1-1/4 x 11 x 1/2 autom sq-hd pipe

1шт.

14

538649R91

PACKAGE

rear frame cover gasket, will work for 399994R2, consists of (1) gasket 399994R2 (NSS), (3) seal 406734R1

1шт.

15

406734R1

SEAL

teflon

3шт.

16

65969C1

COVER

linkage access 3/8-18 N.P.T. tapped hole, used with cover 529381R94, on orders for cover 399995R1 with 1/8-27 N.P.T. tapped hole, furnish cover 65969C1, breather 65970C1 and gasket 399996R1

1шт.

179791

BOLT,Hex, 1/4" - 20 x 1/2", Gr 5

5шт.

17

399996R1

GASKET

linkage access cover, used with cover 529381R94

1шт.

18

529382R1

MANIFOLD

aux valve, used with cover 529381R94

1шт.

179847

BOLT,Hex, 3/8" - 16 x 2", Gr 5

4шт.

19

366591R91

CLEANER

BREATHER ASSY, 1/8-27 N.P.T. hyd unit housing, replaces 538330R1

1шт.

19

65970C2

BREATHER ASSY.

BREATHER ASSY, 3/8-18 N.P.T. hydraulic unit housing

1шт.

20

9410977

ELBOW,90 Degree, 3/4"-16, 37 Degree x 3/4"-16, O-Ring

3/4-16 C-Z 37 deg hyd flared tube adj str thd 90 deg, transfer pump outlet tube, 454 tractors w/synchromesh transmission and 2400 series A tractors with synchromesh transmission and serial no. 100003 and below

1шт.

20

9411131

TEE,3/4"-16, 37 Degree x 3/4"-18, O-Ring Run

3/4-16 C-Z 37 deg hyd flared tube adj str thd 90 deg, transfer pump outlet tube, 2400 series A tractors with synchromesh transmission and serial no. 100004 and above with draft control

1шт.

21

9410200

HYD CONNECTOR,7/16" - 20 JIC x 7/16" - 20 ORB

UNION, 7/16-20 C-Z 37 deg hyd flared tube short swivel, brake LH tube

1шт.

23

9410363

PLUG

1-5/16-12 str thd-o-ring boss

1шт.

24

296247R1

O-RING,16-1, 90 Duro, 1.171" ID x .116" Thk

1 OD tube

1шт.

25

364839R1

O-RING,0.078" Thk x 0.468" ID, -906, Cl 6, 90 Duro

6-1, 90 Duro, .468" ID x .078" Thk, 3/8 OD tube

1шт.

26

352219R1

O-RING,0.07" Thk x 0.239" ID, -10, Cl 5, 75 Duro

1/4 x 3/8 x 1/16

1шт.

27

82301R1

BLEEDER,3/8" - 24 x 117mm

brake bleed, used w/cover 529381R94

2шт.

28

9410356

PLUG

7/16-20 str thd o-ring boss

1шт.

29

9410978

ELBOW,90 Degree, 7/8"-14, 37 Degree x 7/8"-14, O-Ring

7/8-14 C-Z 37 deg hyd flared tube adj str. thd 90 deg, used w/cover 529381R94

1шт.

30

364885R1

O-RING,0.097" Thk x 0.755" ID, -910, Cl 6, 90 Duro

5/8 OD tube, used w/cover 529381R94

1шт.

31

9410978

ELBOW,90 Degree, 7/8"-14, 37 Degree x 7/8"-14, O-Ring

7/8-14 C-Z 37 deg hyd flared tube adj str thd 90 deg, auziliary valve manifold, used w/cover 529381R94

1шт.

32

364885R1

O-RING,0.097" Thk x 0.755" ID, -910, Cl 6, 90 Duro

5/8 OD tube, used w/cover 529381R94

1шт.

34

20953R1

DRAIN PLUG,Sq Hd, 1 1/4"-11 1/2 NPTF

PLUG, 1-1/4 x 11 x 1/2 auto sq-hd pipe

1шт.

35

9410359

PLUG

3/4-16 str thd o-ring boss, used with cover 529381R94, 2 used with synchromesh transmission tractors, 3 used with hydrostatic drive

1шт.

36

9410977

ELBOW,90 Degree, 3/4"-16, 37 Degree x 3/4"-16, O-Ring

7/8-14 C-Z 37 deg hyd flared tube adj str thd 90 deg, lub regulator return tube, 454 and 2400 series A synchromesh transmission tractors with serial no. 100003 and below

1шт.

37

9411128

TEE,7/16"-20, 37 Degree x 7/16"-20, O-Ring Run

7/16-20 C-Z 37 deg hyd flared tube adj str-thd 90 deg, brake RH tube

1шт.

9403369

CAP,37 Degree, 7/16"-20

7/16-20 C-Z 37 deg hyd flared tube

1шт.

38

68393C1

TUBE ASSY.

TUBE ASSY, oil return, replaces 66202C1, 2400 series A tractors with synchromesh transmission and serial no. 100004 and above with draft control

1шт.

39

534773R2

ELBOW

2400 series A tractors with serial no. 100004 and above with draft control

1шт.

39

9410977

ELBOW,90 Degree, 3/4"-16, 37 Degree x 3/4"-16, O-Ring

7/8-14 C-Z 37 deg hyd flared tube adj str thd 90 deg, 2400 series A tractors with serial no. 100004 and above with flat plate

1шт.

39

9410359

PLUG

3/4-16 str thd o-ring boss, 2400 series A tractors with serial no. 100004 and above with forward-reverse

1шт.

40

221-89

REDUCER,Hex, 1/2" x 3/8" NPT

ADAPTER, 1/2-14 - 3/8-18 reducing pipe cover to breather, used w/cover 537628R2

1шт.

41

444676

DRAIN PLUG,Sq Soc, 1"-11 1/2, NTPF

PLUG, 1 x 11 x 1/2 auto sq-soc-hd, used w/cover 537628R2

1шт.

42

444658

PLUG

3/8-18 auto sq-soc-hd pipe, used w/cover 537628R2

1шт.

43

537628R2

COVER

ASSY, rear frame, 2400 series A tractors with serial no. 100004 and above without draft control

1шт.

413-622

BOLT,Hex, 3/8" - 16 x 1-3/8", Gr 5

3/8-16 x 1-3/8 hex-hd cap

8шт.

179843

BOLT,Hex, 3/8" - 16 x 1 1/2", Gr 5

6шт.

179885

BOLT,Hex, 1/2" - 13 x 1 1/2", Gr 5

6шт.

103321

LOCK WASHER,3/8"

WASHER, LOCK, 3/8"

14шт.

44

570828R1

O-RING,0.087" Thk x 0.644" ID, -908, Cl 6, 90 Duro

1/2 OD tube

1шт.

45

9410359

PLUG

3/4-16 str thd o-ring boss, hydrostatic drive tractors and 2400 series A tractors with draft control and serial no. 100004 and above

1шт.

A SKIDDED UNIT WAS A UNIT THAT WAS SHIPPED ON PALLETS AND ASSEMBLED IN THE U.S. TO SAVE TARIFF COSTS. SERIAL NO IS BY THE BELL HOUSING. SEE FRONT OF BOOK FOR PHOTO OF LOCATION.

1шт.

22

369751R1

O-RING,0.072" Thk x 0.351" ID, -904, Cl 6, 90 Duro

4-1, 90 Duro, .351" ID x .072" Thk, 1/4 OD tube

2шт.

33

369751R1

O-RING,0.072" Thk x 0.351" ID, -904, Cl 6, 90 Duro

4-1, 90 Duro, .351" ID x .072" Thk, 1/4 OD tube

1шт.

Выбрано товаров: 80