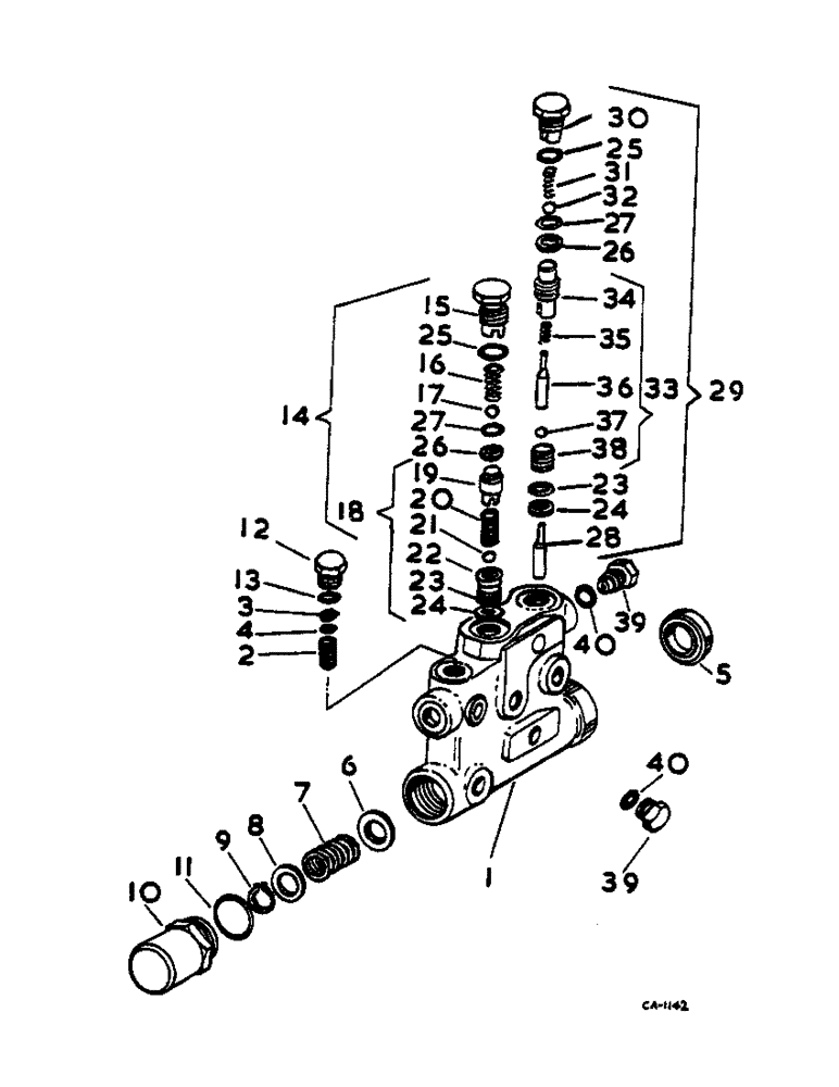
Запчасти Case IH 2500 (07-079) - DRIVE CONTROL VALVE (04) - Drive Train

Схема запчастей Case IH 2500 - (07-079) - DRIVE CONTROL VALVE (04) - Drive Train
3
40
11
24
13
22
14
32
7
40
35
27
26
25
39
21
8
33
29
25
9
5
23
20
16
2
15
37
6
4
23
31
17
30
16
34
26
10
12
24
27
38
19
39
28
36
FIT
1:1
100%

Артикул

Название

Примечание

Количество

401852R91

LOCK VALVE

ASSY, DRIVE CONTROL

1шт.

1

BODY ASSY, DRIVE CONTROL

1шт.

2

400454R1

SPRING

VALVE

1шт.

3

875777R1

SNAP RING,#25, Ext

#25, Ext

1шт.

4

401291R1

SPRING WASHER

ANTI-COAST VALVE PIN

1шт.

5

381232R91

OIL SEAL

OIL -OPTIONAL W/530097R91-

1шт.

5

530097R91

SEAL

OIL -OPTIONAL W/381232R91-

1шт.

6

398693R1

WASHER

1шт.

7

398733R1

SPRING

DRIVE CONTROL VALVE CENTERING

1шт.

8

398694R1

WASHER

1шт.

9

398700R1

SNAP RING,#56, .524", Ext

RETAINING

1шт.

10

398692R1

PLUG

DRIVE CONTROL VALVE

1шт.

11

297459R1

O-RING,0.116" Thk x 1.048" ID, -914, Cl 6, 90 Duro

7/8 OD TUBE

1шт.

12

533567R1

PLUG

9/16-18 STR-THD O-RING BOSS

1шт.

13

364839R1

O-RING,0.078" Thk x 0.468" ID, -906, Cl 6, 90 Duro

3/8 OD tube

1шт.

14

404497R2

SPARE PART

VALVE ASSY, -B- CAPSULE

1шт.

15

NSS

NOT SOLD SEPARAT

BODY, CHECK VALVE SEAT, ORDER VALVE ASSY 404497R2-

1шт.

16

NSS

NOT SOLD SEPARAT

SPRING, UPPER BALL CHECK, ORDER VALVE ASSY 404497R2-

1шт.

17

NSS

NOT SOLD SEPARAT

BALL, 5/16 DIA., ORDER VALVE ASSY 404497R2-

1шт.

18

NSS

NOT SOLD SEPARAT

VALVE ASSY, COMBINATION, ORDER VALVE ASSY 404497R2-

1шт.

19

NSS

NOT SOLD SEPARAT

BODY, CHECK VALVE SEAT, ORDER VALVE ASSY 404497R2-

1шт.

20

NSS

NOT SOLD SEPARAT

SPRING, LOW PRESSURE RELIEF, ORDER VALVE ASSY 404497R2-

1шт.

21

NSS

NOT SOLD SEPARAT

BALL, 7/32 DIA., ORDER VALVE ASSY 404497R2-

1шт.

22

NSS

NOT SOLD SEPARAT

SEAT, RELIEF VALVE, ORDER VALVE ASSY 404497R2-

1шт.

23

375271R1

O-RING,0.426" ID x 0.07" Width

7/16 X 9/16 X 1/16

2шт.

24

398699R1

BACK-UP RING

2шт.

25

570828R1

O-RING,0.087" Thk x 0.644" ID, -908, Cl 6, 90 Duro

1/2 OD TUBE

2шт.

26

383004R1

BACK-UP RING,Split, 13.16mm ID x 15.9mm OD x 1.32mm Thk

2шт.

27

370920R1

O-RING,1/2" ID

1/2 X 5/8 X 1/16

2шт.

28

398696R1

PIN

LOWER VALVE LIFT

1шт.

29

404496R2

VALVE

ASSY, -A- CAPSULE

1шт.

30

NSS

NOT SOLD SEPARAT

BODY, CHECK VALVE, ORDER VALVE ASSY 404496R2-

1шт.

31

NSS

NOT SOLD SEPARAT

SPRING, CHECK VALVE, ORDER VALVE ASSY 404496R2-

1шт.

32

NSS

NOT SOLD SEPARAT

BALL, 5/16 DIA, ORDER VALVE ASSY 404496R2-

1шт.

33

NSS

NOT SOLD SEPARAT

VALVE ASSY, COMBINATION, ORDER VALVE ASSY 404496R2-

1шт.

34

NSS

NOT SOLD SEPARAT

BODY, CHECK VALVE SEAT, ORDER VALVE ASSY 404496R2-

1шт.

35

NSS

NOT SOLD SEPARAT

SPRING, LOWER CHECK VALVE, ORDER VALVE ASSY 404496R2-

1шт.

36

NSS

NOT SOLD SEPARAT

PIN, UPPER VALVE LIFT, ORDER VALVE ASSY 404496R2-

1шт.

37

NSS

NOT SOLD SEPARAT

BALL, 1/4 DIA., ORDER VALVE ASSY 404496R2-

1шт.

38

NSS

NOT SOLD SEPARAT

SEAT, LOWER CHECK VALVE, ORDER VALVE ASSY 404496R2-

1шт.

39

9410356

PLUG

7/16-20 STR-THD O-RING BOSS

3шт.

40

369751R1

O-RING,0.072" Thk x 0.351" ID, -904, Cl 6, 90 Duro

1/4 OD tube

3шт.

Выбрано товаров: 42