Запчасти Case IH 2500 (07-36) - DRIVE TRAIN, HYDROSTATIC FOOT CONTROLS, INTERNATIONAL 2500 SERIES A TRACTORS (04) - Drive Train

Схема запчастей Case IH 2500 - (07-36) - DRIVE TRAIN, HYDROSTATIC FOOT CONTROLS, INTERNATIONAL 2500 SERIES A TRACTORS (04) - Drive Train
23
49
14
18
3
11
15
19
2
47
27
22
40
48
40
39
1
31
36
7
17
34
4
25
12
43
8
37
44
28
24
5
10
13
26
6
21
28
30
46
45
35
33
20
45
32
42
16
29
9
38
41
FIT
1:1
100%

Артикул

Название

Примечание

Количество

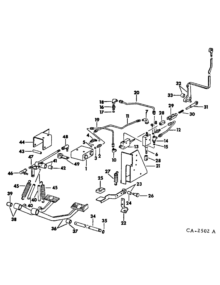
1

MANIFOLD ASSY, check valve, for components, see list of parts under details of check valve manifold

1шт.

180130

BOLT,Hex, 3/8" - 16 x 2", Gr 5

SCREW, 3/8-16 x 2 znd hex-hd cap

2шт.

2

9410200

HYD CONNECTOR,7/16" - 20 JIC x 7/16" - 20 ORB

UNION, 7/16-20 C-Z 37 deg hyd flared tube short swivel

1шт.

3

369751R1

O-RING,0.072" Thk x 0.351" ID, -904, Cl 6, 90 Duro

4-1, 90 Duro, .351" ID x .072" Thk, 1/4 OD tube

1шт.

4

9411102

ELBOW,45 Degree, 7/16"-20, 37 Degree x 7/16"-20, O-Ring

7/16-20 C-Z 37 deg hyd flared tube adj str thd 45 deg

1шт.

5

369751R1

O-RING,0.072" Thk x 0.351" ID, -904, Cl 6, 90 Duro

4-1, 90 Duro, .351" ID x .072" Thk, 1/4 OD tube

1шт.

6

398705R91

VALVE

ASSY, foot-n-inch, for components, see list of parts under details of foot-n-inch valve

1шт.

180130

BOLT,Hex, 3/8" - 16 x 2", Gr 5

SCREW, 3/8-16 x 2 znd hex-hd cap

2шт.

120382

LOCK WASHER,Helical Spring, 3/8"

WASHER, LOCK, 3/8"

2шт.

120377

NUT,3/8" - 16, Gr 5

2шт.

7

9410278

ELBOW,90 Degree, 7/16"-20, 37 Degree x 7/16"-20, 37 Degree Fem Sw

7/16-20 C-Z 37 deg hyd flared tube 90 deg swivel

1шт.

8

9410201

HYD CONNECTOR,1/2"-20, 37 Degree x 1/2"-20, O-Ring

UNION, 1/2-20 C-Z 37 deg hyd flared tube short swivel

1шт.

9

369384R1

O-RING,0.072" Thk x 0.414" ID, -905, Cl 6, 90 Duro

5-1, 90 Duro, .414" ID x .072" Thk, 5/16 OD tube

1шт.

10

9410278

ELBOW,90 Degree, 7/16"-20, 37 Degree x 7/16"-20, 37 Degree Fem Sw

UNION, 7/16-20 C-Z 37 deg hyd flared tube 90 deg swivel

1шт.

11

537924R1

TUBE ASSY.

TUBE ASSY, foot-n-inch pressure

1шт.

12

537925R1

TUBE ASSY.

TUBE ASSY, foot-n-inch dump

1шт.

13

404211R91

VALVE

ASSY, decelerator, for components, see list of parts under details of decelerator valve

1шт.

180130

BOLT,Hex, 3/8" - 16 x 2", Gr 5

SCREW, 3/8-16 x 2 znd hex-hd cap

2шт.

120368

NUT,5/16"-24, G5

1шт.

120377

NUT,3/8" - 16, Gr 5

2шт.

120382

LOCK WASHER,Helical Spring, 3/8"

WASHER, LOCK, 3/8"

2шт.

14

9411129

TEE,1/2"-20, 37 Degree x 1/2"-20, O-Ring Run

1/2-20 C-Z 37 deg hyd flared tube adj str thd 90 deg

1шт.

15

369384R1

O-RING,0.072" Thk x 0.414" ID, -905, Cl 6, 90 Duro

5-1, 90 Duro, .414" ID x .072" Thk, 5/16 OD tube

1шт.

16

24900R1

HYD CONNECTOR,1/2"-20, 37 Degree x 3/4"-16, O-Ring

CONNECTOR, HYD., 1/2"-20, 37 deg x 3/4"-16, O-Ring

1шт.

17

570828R1

O-RING,0.087" Thk x 0.644" ID, -908, Cl 6, 90 Duro

1/2 OD tube

1шт.

18

9410279

ELBOW,90 Degree, 1/2"-20, 37 Degree x 1/2"-20, 37 Degree Fem Sw

1/2-20 C-Z 37 deg hyd flared tube 90 deg swivel

1шт.

19

537926R1

TUBE ASSY.

TUBE ASSY, decelerator valve pressure

1шт.

20

537927R1

TUBE ASSY.

TUBE ASSY, decelerator vavle dump

1шт.

21

537928R1

BRACKET

ASSY, valve mounting

1шт.

186282

BOLT,Hex, 3/8" - 16 x 3 1/4", Gr 5

SCREW, 3/8-16 x 3-1/4 hex-hd cap

2шт.

22

537937R2

BRACKET

safety starting switch

1шт.

413-412

BOLT,Hex, 1/4" - 20 x 3/4", Gr 5

2шт.

492-11025

LOCK WASHER,1/4"

WASHER, LOCK, 1/4"

2шт.

120375

NUT,Hex, 1/4" - 20, Gr 5

2шт.

23

537933R91

PEDAL

ASSY, foot-n-inch

1шт.

24

537936R1

BUSHING

1шт.

25

237672R1

PAD

foot-n-inch pedal

1шт.

26

532965R3

BOLT,3/8" - 16 x 1.7"

foot-n-inch pedal pivot shoulder

1шт.

120382

LOCK WASHER,Helical Spring, 3/8"

WASHER, LOCK, 3/8"

1шт.

120377

NUT,3/8" - 16, Gr 5

1шт.

27

537938R1

SPRING

foot-n-inch pedal return

1шт.

28

398766R1

UNION

BLOCK, decelerator valve adjusting

1шт.

29

537939R1

CLEVIS

decelerator valve

1шт.

22751R1

HEADED PIN,5/16" x 1 5/8"

PIN, 5/16" x 1 5/8"

1шт.

103384

COTTER PIN,1/8" x 3/4"

Pin, Split (Cotter), 1/8" x 3/4"

1шт.

30

404290R1

SPRING

decelerator valve clevis

1шт.

31

537940R1

ROD

decelerator valve clevis

1шт.

319565C1

WASHER

3/8 x 5/8 x 1/16

1шт.

19372R1

PIN,3.17mm OD x 22.23mm L, Coiled

1шт.

32

537941R11

LEVER

range shift

1шт.

33

539245R1

BUSHING

range shift lever

2шт.

34

537943R1

SHAFT

forward-reverse speed control shaft

1шт.

23183R1

WASHER

29/32 x 1-3/8 x .054

1шт.

35

454331R1

SNAP RING,#87, Ext

Forward-reverse speed control #87, Ext

1шт.

36

537945R11

PEDAL ASSY.

PEDAL ASSY, speed control reverse

1шт.

37

539246R1

BUSHING

speed control reverse pedal

1шт.

38

537946R11

PEDAL ASSY.

PEDAL ASSY, speed control forward

1шт.

39

539246R1

BUSHING

speed control forward pedal

1шт.

40

537947R1

ROD

forward-reverse speed control

2шт.

181567

BOLT,Hex, 1/4" - 28 x 7/8", Gr 5

SCREW, 1/4-28 x 7/8 znd hex-hd cap

2шт.

120613

JAM NUT,Hex, 1/4" - 28, Gr 5

2шт.

41

537948R91

LEVER

BELLCRANK ASSY, forward-reverse speed control

1шт.

42

537936R1

BUSHING

2шт.

43

537953R1

SPACER

forward-reverse speed control bellcrank

1шт.

44

537954R1

BRACKET, forward-reverse speed control bellcrank

1шт.

189298

BOLT,Hex, 5/16" - 18 x 4", Gr 5

SCREW, 5/16-18 x 4 znd hex-hd cap

1шт.

80681

LOCK WASHER,5/16"

WASHER, LOCK, 5/16"

1шт.

120376

NUT,5/16"-18, G5

1шт.

113-206

BOLT,Hex, 3/8" - 16 x 3/4", Gr 5, Full Thd

3/8-16 x 3/4 znd hex-hd cap

3шт.

120382

LOCK WASHER,Helical Spring, 3/8"

WASHER, LOCK, 3/8"

3шт.

120377

NUT,3/8" - 16, Gr 5

3шт.

45

537956R1

SPRING

speed control return

2шт.

46

392594R1

END ASSY.

JOINT, 3/8-24 x 1-11/32 ball

1шт.

120382

LOCK WASHER,Helical Spring, 3/8"

WASHER, LOCK, 3/8"

1шт.

120369

NUT,3/8"-24, G5

1шт.

47

537957R1

ROD

speed control cam

1шт.

124925

JAM NUT,Jam, 3/8"-24, G5

3/8-16 znd hex. jam

1шт.

23460R1

NUT,Jam, 3/8"-24, G5, LH

3/8-16 C-Z LH thd hex. jam

1шт.

48

534930R1

BALL JOINT

JOINT, 3/8-24 x 1-11/16 ball

1шт.

120382

LOCK WASHER,Helical Spring, 3/8"

WASHER, LOCK, 3/8"

1шт.

120369

NUT,3/8"-24, G5

1шт.

49

537958R2

ARM ASSY.

ARM ASSY, speed control cam actuating

1шт.

19534R1

PIN,1/4" x 1 1/2", Coiled

1шт.

Выбрано товаров: 0