Запчасти Case IH 454 (10-31) - HYDRAULIC PUMP AND CONNECTIONS (07) - HYDRAULICS

Схема запчастей Case IH 454 - (10-31) - HYDRAULIC PUMP AND CONNECTIONS (07) - HYDRAULICS
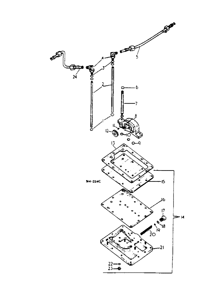
7
5
21
14
12
17
18
8
6
16
9
13
10
23
11
22
24
3
20
19
15
1
2
4
FIT
1:1
100%

Артикул

Название

Примечание

Количество

1

252739R1

O-RING,0.103" Thk x 0.487" ID, -112, Cl 5, 75 Duro

1/2 X 11/16 X 3/32

2шт.

2

402545R1

PRESSURE PIPE

TUBE, PUMP

2шт.

3

570828R1

O-RING,0.087" Thk x 0.644" ID, -908, Cl 6, 90 Duro

1/2 OD TUBE

2шт.

4

9410977

ELBOW,90 Degree, 3/4"-16, 37 Degree x 3/4"-16, O-Ring

3/4-16 C-Z 37 DEG HYD FLARED TUBE ADJ STR THD 90 DEG

2шт.

5

66116C1

TUBE,0.5" OD, 13.04, 2.29" Length

ASSY. TORQUE AMPLIFIER AND FWD, REVERSE RETURN, 454/8693 UP, 2400/0716 UP

1шт.

5

529744R1

SPARE PART ASSY, TORQUE AMPLIER AND FWD, REVERSE RETURN, UP TO 454/8692, UP TO 2400/0715

1шт.

6

382997R1

O-RING,0.07" Thk x 0.489" ID, -14, Cl 6, 90 Duro

1/2 X 5/8 X 1/6

2шт.

7

402544R1

SUCTION PIPE

TUBE, OIL INLET

1шт.

8

402540R91

PUMP, HYDRAULIC

ASSY, TRACTORS W/TORQUE AMPLIFIER

1шт.

8

527757R91

PUMP

ASSY, HYD

1шт.

534263R91

SEALING RING

SEAL, TRACTORS W/FORWARD AND REVERSE

1шт.

9

574069R1

O-RING,0.750" ID x .062"

3/4 X 7/8 X 1/16

1шт.

10

379131R1

O-RING, 5/8 X 3/4 X 1/16

2шт.

11

427261

KEY

1/8 X 3/8 WOODRUFF

1шт.

12

527758R1

GEAR

PUMP DRIVEN, 19T, TRACTORS W/TORQUE AMPLIER, E7066

1шт.

12

528076R1

GEAR

PUMP DRIVEN, 14T, TRACTORS W/FORWARD AND REVERSE

1шт.

115548

LOCK WASHER,Int Tooth, 5/16"

1шт.

114493

JAM NUT,Jam, 5/16"-24, G5

1шт.

13

402556R2

GASKET

PUMP MOUNTING FLANGE LT

1шт.

14

402547R95

VALVE

ASSY, REGULATOR

1шт.

15

402554R1

PLATE

PUMP

1шт.

16

402555R2

GASKET

PUMP PLATE

1шт.

17

PLUG ASSY, SEE PACKAGE 65732C91

1шт.

18

570828R1

O-RING,0.087" Thk x 0.644" ID, -908, Cl 6, 90 Duro

1/2 OD TUBE

1шт.

19

SHIM, SEE PACKAGE 65732C91

1шт.

20

SPRING, REGULATOR VALVE, SEE PACKAGE 65732C91

1шт.

21

402548R1

BODY

REGULATOR VALVE

1шт.

179842

SPACER

3/8-16 X 1-3/8 HEX HD CAP

11шт.

22

369751R2

O-RING

1/4 OD TUBE

11шт.

23

9410356

PLUG

7/16-20 C-Z STR O-RING BOSS

1шт.

24

66117C1

TUBE ASSY.

OIL COOLER RETURN REAR, 454/8693 UP, 2400/0716 UP

1шт.

65732C91

KIT

PACKAGE, REG VALVE SERVICE

1шт.

Выбрано товаров: 32