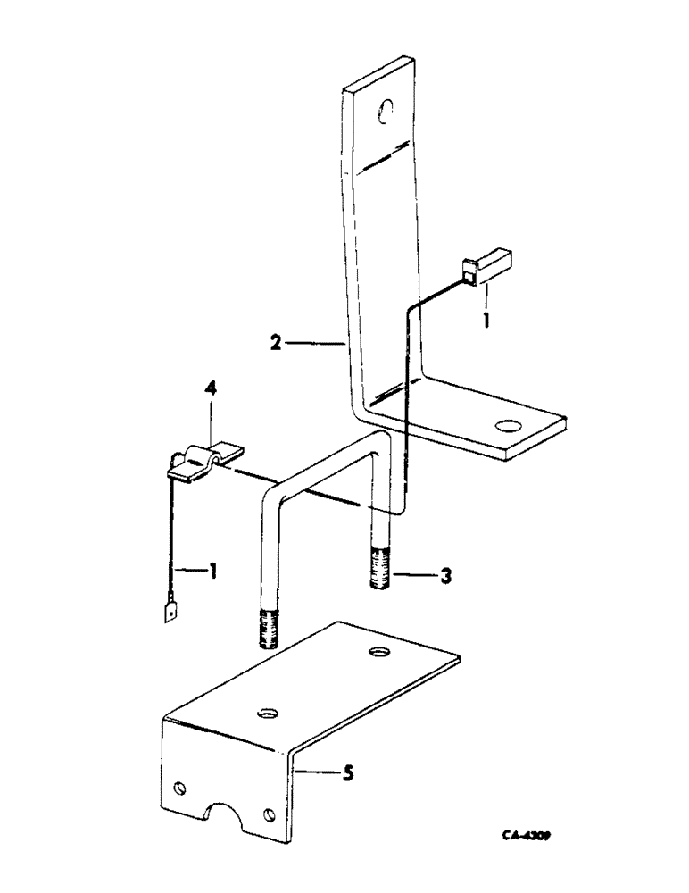
Запчасти Case IH 454 (08-26) - ELECTRICAL, BRAKE AND FLASHING LIGHT MTG BRACKETS (06) - ELECTRICAL

Схема запчастей Case IH 454 - (08-26) - ELECTRICAL, BRAKE AND FLASHING LIGHT MTG BRACKETS (06) - ELECTRICAL
5
1
1
4
2
3
FIT
1:1
100%

Артикул

Название

Примечание

Количество

ATTACHMENT, brake and flashing light mounting, 70006C91, tractors equipped with ROPS

1шт.

1

69974C1

CABLE, flashing light to light harness

2шт.

2

69946C1

BRACKET, flashing light

2шт.

3

527067R1

U-BOLT

2шт.

120382

LOCK WASHER,Helical Spring, 3/8"

WASHER, LOCK, 3/8"

4шт.

120377

NUT,3/8" - 16, Gr 5

4шт.

4

67311C1

CLIP, wiring

14шт.

5

69973C1

BRACKET, stop light

2шт.

Выбрано товаров: 8