Качественные детали и логистика
Оригинальные и аналоговые запчасти с доставкой по России, Казахстану и Беларуси
©2022 PartSell ООО "Система" ИНН 2463123282 ОГРН 1212400004838
Центральный офис: г. Красноярск, Академика Киренского, д.87, пом.4
Телефон: 8 (800) 777-65-74 Email: zakaz@partsell.ru
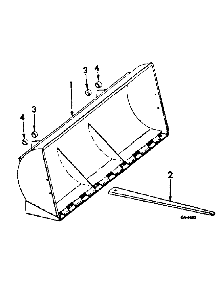
(17-10) - MOUNTED EQUIPMENT, MANURE BUCKET
№
Артикул
Название
Примечание
Количество
1
546736R92
BUCKET ASSY, manure 61 in., consists of ref nos. 3 and 4
1шт.
2
651576R3
FINGER
TINE, fork
9шт.
19083R1
PLOW BOLT,#3, 5/8" - 11 x 2 1/2", Gr 2
BOLT, 5/8 x 2-1/2 no. 3 plow
280374
NUT,Hex, 5/8" - 11, Gr 5
5/8-11 hex.
492-11062
BEARING WASHER,5/8"
WASHER, LOCK, 5/8"
3
378554R1
SPACER
BOSS
4шт.
4
378555R1
Выбрано товаров: 0