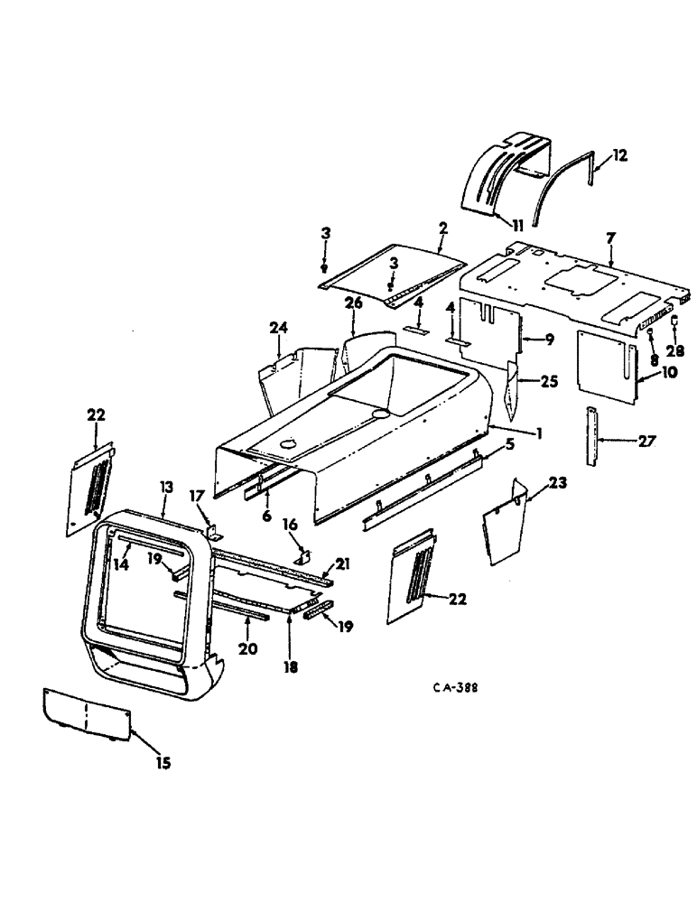
Запчасти Case IH 574 (13-002) - HOOD AND PANELS (05) - SUPERSTRUCTURE

Схема запчастей Case IH 574 - (13-002) - HOOD AND PANELS (05) - SUPERSTRUCTURE
19
13
16
15
5
2
22
20
9
10
4
8
3
12
4
3
24
17
25
21
1
19
11
18
28
27
14
23
7
6
22
26
FIT
1:1
100%

Артикул

Название

Примечание

Количество

1

405422R1

HOOD ASSY -TRACTOR W/UNDERSLUNG EXHAUST

1шт.

1

406417R1

NO LONGER SERVICED

HOOD ASSY -TRACTOR W/VERTICAL EXHAUST

1шт.

534458R1

NUT

HEX 10-24 LOCK

6шт.

3479

WASHER,7/32" x 9/16" x .060"

6шт.

381052R1

BOLT,Sl Hex Wshr Hd, 5/16" - 18 x 5/8"

SCREW 5/16-18 C-Z HEX-WASHER-HD CAP

6шт.

534308R1

SHIELD

SHEET, ASBESTOS

1шт.

534458R1

NUT

HEX 10-24 LOCK

2шт.

3479

WASHER,7/32" x 9/16" x .060"

2шт.

2

401933R11

COVER

ASSY, REAR HOOD - GLASS FIBRE

1шт.

2

3113425R1

COVER

ASSY, REAR HOOD - SHEET METAL -OPTIONAL-

1шт.

3118071R1

SEAL ASSY.

REAR HOOD COVER

1шт.

3118072R1

SEAL ASSY.

REAR HOOD COVER

1шт.

3

389872R1

THUMB SCREW,Knurled Head, 5/16"-18 x 3/4"

2шт.

376787R1

WASHER

X

2шт.

4

406698R1

STRIP

REAR HOOD COVER RETAINER

2шт.

155937

SCREW,Cross Flat Hd, #10 - 24 x 1/2"

4шт.

106497

LOCK WASHER,#10

4шт.

110633

NUT,#10-24

4шт.

5

538362R1

PANEL

ASSY, LOWER HOOD LH

1шт.

6

538363R1

PANEL

ASSY, LOWER HOOD RH

1шт.

157728

SCREW

1/4-20 5/8 C-Z CR REC TRUSS HD MACH

2шт.

120375

NUT,Hex, 1/4" - 20, Gr 5

2шт.

492-11025

LOCK WASHER,1/4"

2шт.

7

528640R2

COVER

ASSY, REAR TOP

1шт.

UP TO 000740 ORDER 528640R1 W/FIVE NUT 120368R1, FIVE WASHER 120214.

1шт.

120368

NUT,5/16"-24, G5

5шт.

80681

LOCK WASHER,5/16"

5шт.

8

401941R1

SPACER

MOUNTING, SHORT

2шт.

9

527858R2

ANGLE

CHANNEL ASSY REAR VERTICAL R.H.

1шт.

413-410

BOLT,Hex, 1/4" - 20 x 5/8", Gr 5

2шт.

10

528638R1

CHANNEL

ASSY, REAR VERTICAL LH

1шт.

413-410

BOLT,Hex, 1/4" - 20 x 5/8", Gr 5

3шт.

10

528473R1

PLATE

SECTION ASSY, VERTICAL INNER -TRACTORS W/HAND OPERATED DRUM BRAKE-

1шт.

10

539464R1

CHANNEL ASSY, REAR VERTICAL LH -FOOT SPEED CONTROL-

1шт.

11

529457R31

COVER

ASSY, HITCH CONTROL LEVER

1шт.

UP TO 000740 ORDER 529384R21 W/FIVE BOLT 181593 FIVE NUT 120368R1 AND FIVE WASHER 120214

1шт.

12

-NOT USED-

1шт.

13

537180R1

HOUSING

ASSY, RADIATOR GRILLE

1шт.

103321

LOCK WASHER,3/8"

2шт.

102635

NUT,3/8"-16, G5

2шт.

14

530854R1

MOLDING

AIR BAFFLE EDGE

1шт.

15

402427R1

PANEL

ASSY, GRILLE LOWER FRONT

1шт.

157728

SCREW

1/4-20 X 5/8 C-Z CR-REC-TRUSS HD

2шт.

16

406696R1

BRACKET

GRILLE HOUSING ANGLE LH

1шт.

17

406697R1

BRACKET

GRILLE HOUSING ANGLE RH

1шт.

180144

RETAINER

2шт.

120383

LOCK WASHER,Helical Spring, 7/16"

2шт.

18

402457R1

BAFFLE

RADIATOR LOWER

1шт.

19

389838R1

FOAM

GASKET, RADIATOR BAFFLE LOWER

2шт.

20

370181R1

GASKET

RADIATOR BAFFLE

1шт.

21

394788R1

GASKET

GASKET, RADIATOR BAFFLE

1шт.

22

402458R1

PANEL

ASSY, GRILLE SIDE LH

1шт.

22

402459R1

PANEL

ASSY, GRILLE SIDE RH

1шт.

NLS

NO LONGER SERVICED

4шт.

103319

LOCK WASHER,1/4"

2шт.

109084

NUT,1/4"-20, G5

2шт.

120392

WASHER,1/4", SAE

2шт.

23

538366R1

PANEL

LOWER SIDE REAR LH

1шт.

463-42510

SCREW,Hex, 1/4" - 20 x 5/8"

1/4-20 X 5/8 HEX-WASHER-HD CAP

3шт.

24

538367R1

PANEL

LOWER SIDE REAR RH

1шт.

463-42510

SCREW,Hex, 1/4" - 20 x 5/8"

1/4-20 X 5/8 HEX-WASHER-HD CAP

3шт.

25

402423R1

PANEL

LH

1шт.

26

402424R1

PANEL

RH

1шт.

27

528475R1

SPARE PART ASSY, VERTICAL OUTER -TRACTORS W/HAND OPERATED DRUM BRAKE-

1шт.

28

401940R2

SPARE PART MOUNTING

2шт.

124829

JAM NUT,Hex, 3/8" - 16, Gr 5

2шт.

3112681R1

ANGLE, FENDER LH REINFORCING -TRACTORS W/HAND OPERATING DRUM BRAKE-, NOT ILLUSTRATED

1шт.

Выбрано товаров: 67