Запчасти Case IH 574 (13-117A) - SAFETY FRAME, MACHINES FITTED W/ISO, MOUNTED CAB (05) - SUPERSTRUCTURE

Схема запчастей Case IH 574 - (13-117A) - SAFETY FRAME, MACHINES FITTED W/ISO, MOUNTED CAB (05) - SUPERSTRUCTURE
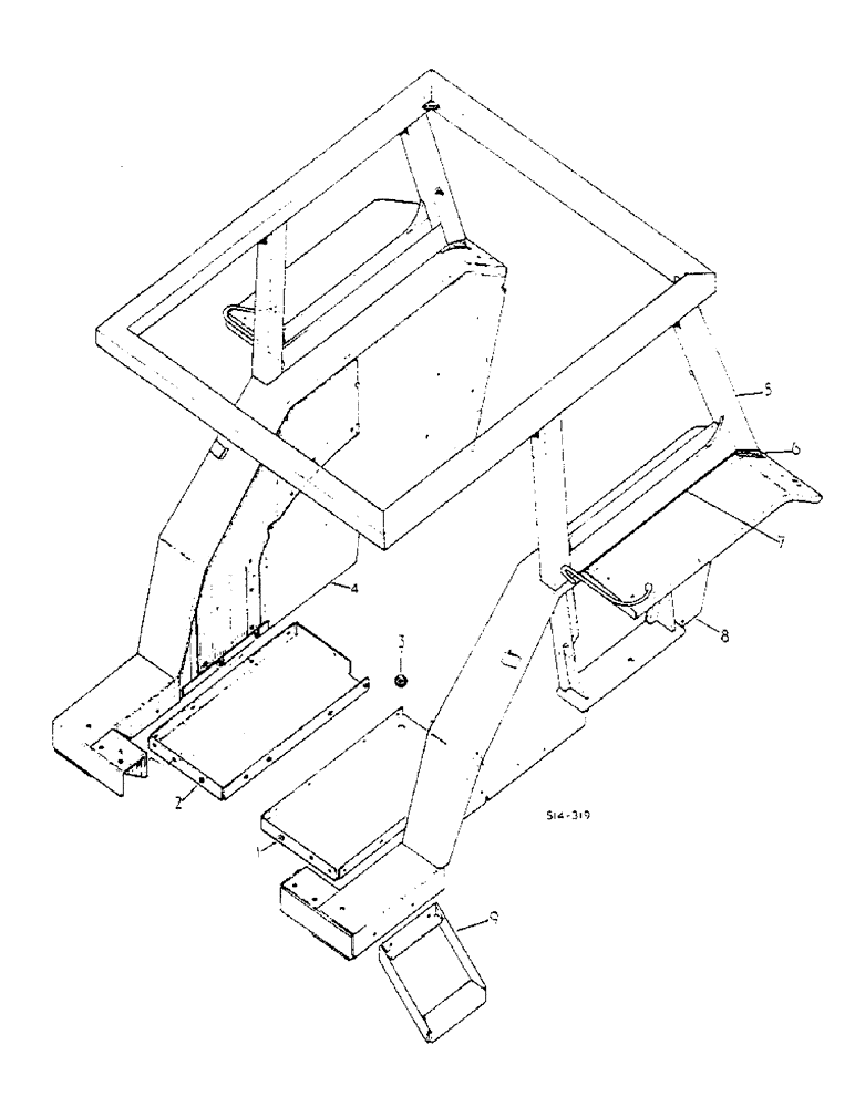
7
9
2
6
1
8
5
3
4
FIT
1:1
100%

Артикул

Название

Примечание

Количество

1

3116149R1

PLATFORM

CPTE. L.H.

1шт.

413-616

BOLT,Hex, 3/8" - 16 x 1", Gr 5

6шт.

102635

NUT,3/8"-16, G5

4шт.

103321

LOCK WASHER,3/8"

6шт.

120394

WASHER,3/8", SAE

.406 x .812 x .051

6шт.

2

3116150R1

PLATFORM

CPTE. R.H.

1шт.

413-616

BOLT,Hex, 3/8" - 16 x 1", Gr 5

6шт.

102635

NUT,3/8"-16, G5

4шт.

103321

LOCK WASHER,3/8"

6шт.

120394

WASHER,3/8", SAE

.406 x .812 x .051

6шт.

3

3116180R1

GROMMET

PLATFORM L.H.

1шт.

4

3118435R1

FENDER

FRAME ASSY, R.H.

1шт.

5

3118415R1

FRAME

ASSY, SAFETY TOP

1шт.

6

3113328R1

INSERT

2шт.

7

3112388R1

SEAL

SEAL, WING PIPING

2шт.

271612

BOLT,Hex, 3/4" - 10 x 2 1/4", Gr 5

3/4-10 x 2-1/4 HEX HD CAP

4шт.

425-1012

NUT,3/4"-10, G5

3/4-10 HEX

4шт.

8

3118434R1

FENDER

FRAME ASSY, CPTE. L.H.

1шт.

9

3116153R1

STEP

ASSY, FOOT

2шт.

413-616

BOLT,Hex, 3/8" - 16 x 1", Gr 5

4шт.

102635

NUT,3/8"-16, G5

4шт.

103321

LOCK WASHER,3/8"

4шт.

Выбрано товаров: 0