Запчасти Case IH 574 (08-47) - BATTERY TRAY (06) - ELECTRICAL

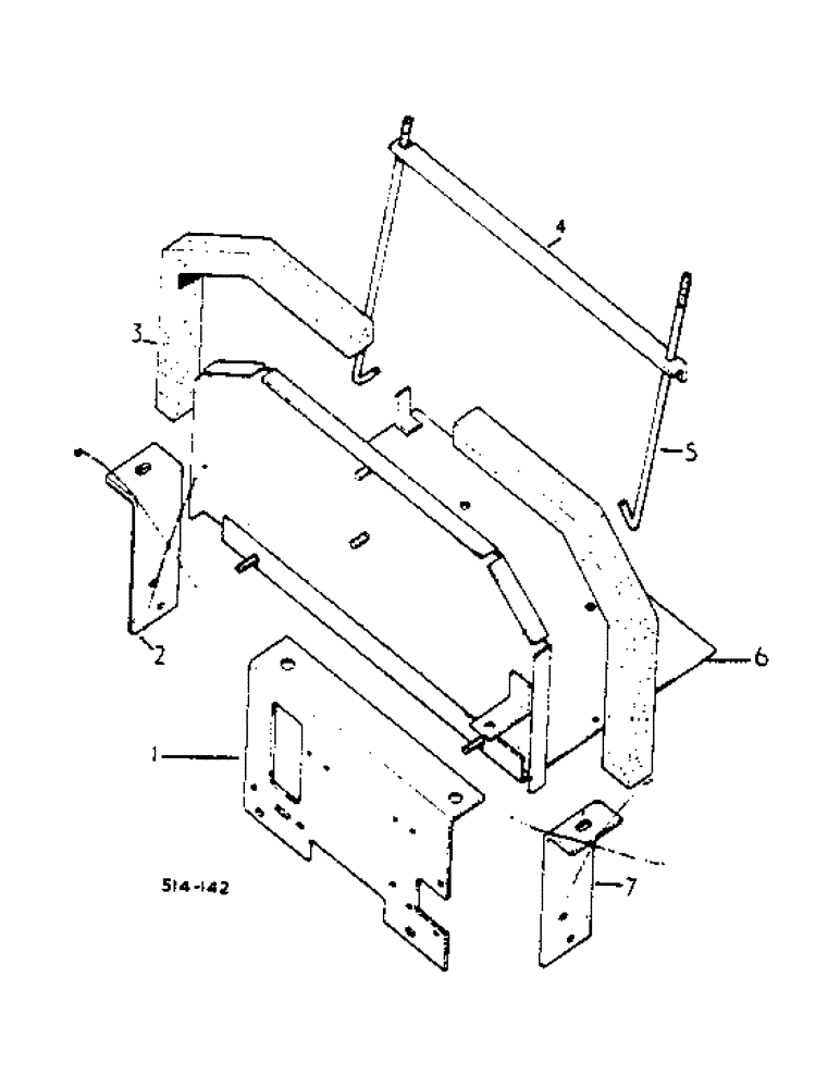
Схема запчастей Case IH 574 - (08-47) - BATTERY TRAY (06) - ELECTRICAL
6
1
3
2
4
7
5
FIT
1:1
100%

Артикул

Название

Примечание

Количество

1

538054R1

SUPPORT

ASSY

1шт.

120377

NUT,3/8" - 16, Gr 5

2шт.

180122

BOLT,Hex, 3/8" - 16 x 1", Gr 5

2шт.

120382

LOCK WASHER,Helical Spring, 3/8"

2шт.

2

394788R1

GASKET

GASKET, BATTERY HEAT SHIELD

2шт.

3

527604R1

ANGLE

BATTERY HOLD DOWN

1шт.

4

527605R1

ROD

BATTERY HOLD DOWN -SYNCHROMESH DRIVE TRACTORS-

2шт.

4

529968R1

ROD

BATTERY HOLD DOWN -HYDROSTATIC DRIVE TRACTORS-

2шт.

7500032

BUSHING

5/16-18 C-Z

2шт.

120393

BEARING WASHER,5/16", SAE

11/32 X 11/16 X .051 C-Z

2шт.

5

538053R1

SPARE PART

TRAY ASSY, BATTERY

1шт.

3113841R1

MOLDING

EDGE

1шт.

120376

NUT,5/16"-18, G5

2шт.

80681

LOCK WASHER,5/16"

2шт.

20893

SPARE PART WASHER 11/32 X 1 X .120 C-Z

2шт.

103319

LOCK WASHER,1/4"

1шт.

109084

NUT,1/4"-20, G5

1шт.

103321

LOCK WASHER,3/8"

1шт.

102635

NUT,3/8"-16, G5

1шт.

181356

BOLT,Hex, 3/8" - 24 x 5/8", Gr 5

1шт.

103321

LOCK WASHER,3/8"

1шт.

306132C1

CABLE TIE,14.5" L

CABLE STRAP STRAP, CABLE LOCK 14 in, NOT ILLUSTRATED

2шт.

Выбрано товаров: 22