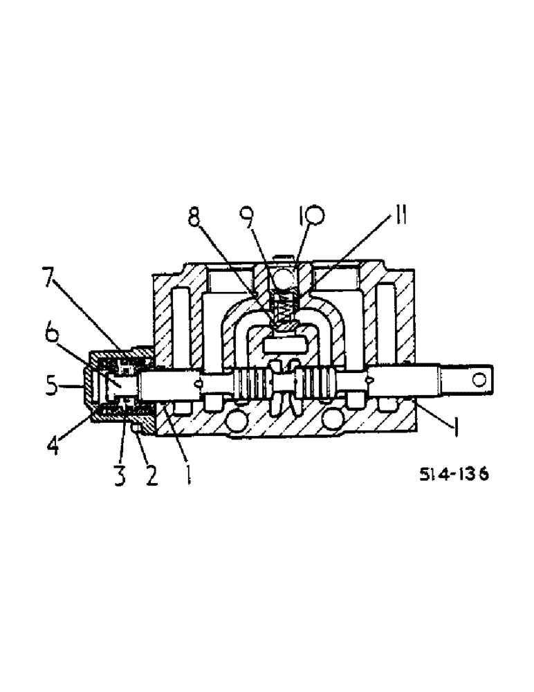
Запчасти Case IH 574 (10-044) - DOUBLE ACTING AUXILIARY VALVE ASSY, 574 UP TO S/N 010991, 2500 UP TO S/N 000629 (07) - HYDRAULICS

Схема запчастей Case IH 574 - (10-044) - DOUBLE ACTING AUXILIARY VALVE ASSY, 574 UP TO S/N 010991, 2500 UP TO S/N 000629 (07) - HYDRAULICS
3
9
7
2
1
10
8
6
4
1
5
11
FIT
1:1
100%

Артикул

Название

Примечание

Количество

529696R91

HYDRAULIC VALVE

ASSY, DOUBLE ACTING AUX

1шт.

1

128359

O-RING,0.07" Thk x 0.614" ID, -16, Cl 5, 75 Duro

2шт.

2

3113064R1

SCREW

ASSY

2шт.

3

3113073R1

SPACER

1шт.

4

3113062R1

SEAT

SPRING

2шт.

5

3113059R1

CAP

END

1шт.

6

3113072R1

SCREW

SHOULDER

1шт.

7

3113060R1

SPRING

1шт.

8

3113068R1

VALVE POPPET

1шт.

9

3113069R1

SPRING

CHECK VALVE

1шт.

10

3113070R1

GUIDE

CHECK VALVE

1шт.

11

391914R1

O-RING,0.07" Thk x 0.426" ID, -13, Cl 6, 90 Duro

1шт.

Выбрано товаров: 12