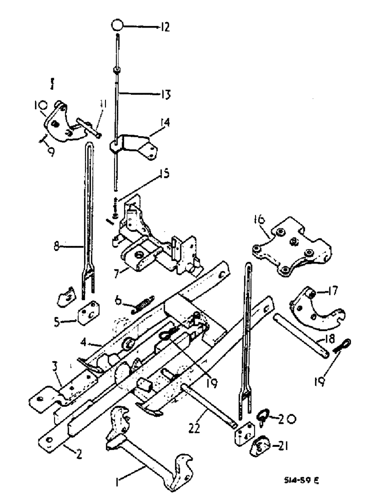
Запчасти Case IH 574 (09-014) - AUTOMATIC HITCH (12) - FRAME

Схема запчастей Case IH 574 - (09-014) - AUTOMATIC HITCH (12) - FRAME
9
21
4
17
10
20
1
14
16
1
7
2
19
8
3
12
15
11
19
18
6
22
5
FIT
1:1
100%

Артикул

Название

Примечание

Количество

529504R91

ATTACHMENT, AUTOMATIC HITCH

1шт.

FOR TRACTORS EQUIPPED W/HYD DRAFT CONTROL ATT AND AUTOMATIC HITCH W/THREE POSITION DRAWBAR.

1шт.

529504R91

ATTACHMENT, AUTOMATIC HITCH

1шт.

FOR TRACTORS EQUIPPED W/HYD DRAFT CONTROL ATT AND AUTOMATIC HITCH W/O THREE POSITION DRAWBAR.

1шт.

538400R91

PACKAGE, AUTOMATIC HITCH COMPLETING

1шт.

FOR TRACTORS EQUIPPED W/HYD DRAFT CONTROL, THREE POINT HITCH AND THREE POSITION DRAWBAR

1шт.

1

535220R2

LATCH

ASSY, AUTOMATIC HITCH

1шт.

FOR TRACTORS EQUIPPED W/HYD DRAFT CONTROL ATT AND AUTOMATIC HITCH W/THREE POSITION DRAWBAR.

1шт.

FOR TRACTORS EQUIPPED W/HYD DRAFT CONTROL ATT AND AUTOMATIC HITCH W/O THREE POSITION DRAWBAR.

1шт.

FOR TRACTORS EQUIPPED W/HYD DRAFT CONTROL, THREE POINT HITCH AND THREE POSITION DRAWBAR

1шт.

2

533915R1

SPARE PART

HITCH, DRAWBAR ASSY, 574, Serial Range: -101690

1шт.

ORDER HOOK ASSY 3116495R1 W/HITCH ASSY 3116498R1 AND 1 COTTER PIN 700387R1.

1шт.

2

533915R1

SPARE PART

HITCH, DRAWBAR ASSY, 2500, Serial Range: -100025

1шт.

ORDER HOOK ASSY 3116495R1 W/HITCH ASSY 3116498R1 AND 1 COTTER PIN 700387R1.

1шт.

2

3116498R1

BAR

HITCH, DRAWBAR ASSY, 574, Start Serial: 101691

1шт.

FOR TRACTORS EQUIPPED W/HYD DRAFT CONTROL ATT AND AUTOMATIC HITCH W/THREE POSITION DRAWBAR.

1шт.

2

3116498R1

BAR

HITCH, DRAWBAR ASSY, 2500, Start Serial: 100026

1шт.

FOR TRACTORS EQUIPPED W/HYD DRAFT CONTROL ATT AND AUTOMATIC HITCH W/THREE POSITION DRAWBAR.

1шт.

3

3064333R1

DRAWBAR CLAMP

CLEVIS

1шт.

FOR TRACTORS EQUIPPED W/HYD DRAFT CONTROL ATT AND AUTOMATIC HITCH W/THREE POSITION DRAWBAR.

1шт.

102639

NUT,5/8"-11, G5

2шт.

413-1044

BOLT,Hex, 5/8" - 11 x 2-3/4", Gr 5

5/8 X 2-3/4 UNC HEX HD, 574, Start Serial: 101691

2шт.

413-1044

BOLT,Hex, 5/8" - 11 x 2-3/4", Gr 5

5/8 X 2-3/4 UNC HEX HD, 2500, Start Serial: 100026

2шт.

3

3064333R1

DRAWBAR CLAMP

CLEVIS

1шт.

FOR TRACTORS EQUIPPED W/HYD DRAFT CONTROL ATT AND AUTOMATIC HITCH W/THREE POSITION DRAWBAR.

1шт.

102639

NUT,5/8"-11, G5

2шт.

413-1060

BOLT,Hex, 5/8" - 11 x 3-3/4", Gr 5

SCREW, HEX-HD. CAP 5/8 X 3-3/4, 574, Course Threads, Serial Range: -101690

2шт.

413-1060

BOLT,Hex, 5/8" - 11 x 3-3/4", Gr 5

SCREW, HEX-HD. CAP 5/8 X 3-3/4, 2500, Course Threads, Serial Range: -100025

2шт.

4

533884R2

SPARE PART

HOOK ASSY, TRAILER

1шт.

533883R1

BUSHING

HOOK FRAME -USED W/HOOK 533884R1, 574, Serial Range: -101690

1шт.

ORDER HOOK ASSY 3116495R1 W/HITCH ASSY 3116498R1 AND 1 COTTER PIN 700387R1.

1шт.

533883R1

BUSHING

HOOK FRAME -USED W/HOOK 533884R1, 2500, Serial Range: -100025

1шт.

ORDER HOOK ASSY 3116495R1 W/HITCH ASSY 3116498R1 AND 1 COTTER PIN 700387R1.

1шт.

4

3116495R1

HOOK

ASSY, TRAILER, 574, Start Serial: 101691

1шт.

FOR TRACTORS EQUIPPED W/HYD DRAFT CONTROL ATT AND AUTOMATIC HITCH W/THREE POSITION DRAWBAR.

1шт.

FOR TRACTORS EQUIPPED W/HYD DRAFT CONTROL ATT AND AUTOMATIC HITCH W/O THREE POSITION DRAWBAR.

1шт.

4

3116495R1

HOOK

ASSY, TRAILER, 2500, Start Serial: 100026

1шт.

FOR TRACTORS EQUIPPED W/HYD DRAFT CONTROL ATT AND AUTOMATIC HITCH W/THREE POSITION DRAWBAR.

1шт.

FOR TRACTORS EQUIPPED W/HYD DRAFT CONTROL ATT AND AUTOMATIC HITCH W/O THREE POSITION DRAWBAR.

1шт.

5

533907R1

BLOCK

LIFT ROD ADJUSTMENT

2шт.

FOR TRACTORS EQUIPPED W/HYD DRAFT CONTROL ATT AND AUTOMATIC HITCH W/THREE POSITION DRAWBAR.

1шт.

FOR TRACTORS EQUIPPED W/HYD DRAFT CONTROL ATT AND AUTOMATIC HITCH W/O THREE POSITION DRAWBAR.

1шт.

FOR TRACTORS EQUIPPED W/HYD DRAFT CONTROL, THREE POINT HITCH AND THREE POSITION DRAWBAR

1шт.

6

399743R1

SPRING

LATCH RETURN

1шт.

FOR TRACTORS EQUIPPED W/HYD DRAFT CONTROL ATT AND AUTOMATIC HITCH W/THREE POSITION DRAWBAR.

1шт.

FOR TRACTORS EQUIPPED W/HYD DRAFT CONTROL ATT AND AUTOMATIC HITCH W/O THREE POSITION DRAWBAR.

1шт.

FOR TRACTORS EQUIPPED W/HYD DRAFT CONTROL, THREE POINT HITCH AND THREE POSITION DRAWBAR

1шт.

7

533881R2

SUPPORT

ASSY, DRAWBAR

1шт.

FOR TRACTORS EQUIPPED W/HYD DRAFT CONTROL ATT AND AUTOMATIC HITCH W/THREE POSITION DRAWBAR.

1шт.

FOR TRACTORS EQUIPPED W/HYD DRAFT CONTROL ATT AND AUTOMATIC HITCH W/O THREE POSITION DRAWBAR.

1шт.

271558

HOOD,Hex, 5/8" - 11 x 1 1/2", Gr 5

HEX-HD. CAP 5/8 X 1-1/2

6шт.

8

533904R1

ROD

ASSY, LIFT

2шт.

FOR TRACTORS EQUIPPED W/HYD DRAFT CONTROL ATT AND AUTOMATIC HITCH W/THREE POSITION DRAWBAR.

1шт.

FOR TRACTORS EQUIPPED W/HYD DRAFT CONTROL ATT AND AUTOMATIC HITCH W/O THREE POSITION DRAWBAR.

1шт.

FOR TRACTORS EQUIPPED W/HYD DRAFT CONTROL, THREE POINT HITCH AND THREE POSITION DRAWBAR

1шт.

271500

SOCKET

HEX. 7/16

8шт.

103322

LOCK WASHER,7/16"

4шт.

9

720631R1

LINCH PIN

Q A COTTER

4шт.

FOR TRACTORS EQUIPPED W/HYD DRAFT CONTROL ATT AND AUTOMATIC HITCH W/THREE POSITION DRAWBAR.

1шт.

FOR TRACTORS EQUIPPED W/HYD DRAFT CONTROL ATT AND AUTOMATIC HITCH W/O THREE POSITION DRAWBAR.

1шт.

FOR TRACTORS EQUIPPED W/HYD DRAFT CONTROL, THREE POINT HITCH AND THREE POSITION DRAWBAR

1шт.

PO12898

WASHER

29/32 X 1-1/2 X 11 GA.

2шт.

10

533898R1

ARM

ASSY, EXTENSION L.H.

1шт.

FOR TRACTORS EQUIPPED W/HYD DRAFT CONTROL ATT AND AUTOMATIC HITCH W/THREE POSITION DRAWBAR.

1шт.

FOR TRACTORS EQUIPPED W/HYD DRAFT CONTROL ATT AND AUTOMATIC HITCH W/O THREE POSITION DRAWBAR.

1шт.

FOR TRACTORS EQUIPPED W/HYD DRAFT CONTROL, THREE POINT HITCH AND THREE POSITION DRAWBAR

1шт.

179881

BOLT,1/2" - 13 x 1", Gr 5

1шт.

103323

LOCK WASHER,1/2"

1шт.

11

3116500R1

PIN

ROCKSHAFT ARM

2шт.

FOR TRACTORS EQUIPPED W/HYD DRAFT CONTROL ATT AND AUTOMATIC HITCH W/THREE POSITION DRAWBAR.

1шт.

FOR TRACTORS EQUIPPED W/HYD DRAFT CONTROL ATT AND AUTOMATIC HITCH W/O THREE POSITION DRAWBAR.

1шт.

FOR TRACTORS EQUIPPED W/HYD DRAFT CONTROL, THREE POINT HITCH AND THREE POSITION DRAWBAR

1шт.

12

264055R2

KNOB

HAND LATCH CONTROL ROD

1шт.

FOR TRACTORS EQUIPPED W/HYD DRAFT CONTROL ATT AND AUTOMATIC HITCH W/THREE POSITION DRAWBAR.

1шт.

FOR TRACTORS EQUIPPED W/HYD DRAFT CONTROL ATT AND AUTOMATIC HITCH W/O THREE POSITION DRAWBAR.

1шт.

FOR TRACTORS EQUIPPED W/HYD DRAFT CONTROL, THREE POINT HITCH AND THREE POSITION DRAWBAR

1шт.

13

533909R1

ROD

ASSY, HAND LATCH CONTROL

1шт.

FOR TRACTORS EQUIPPED W/HYD DRAFT CONTROL ATT AND AUTOMATIC HITCH W/THREE POSITION DRAWBAR.

1шт.

FOR TRACTORS EQUIPPED W/HYD DRAFT CONTROL ATT AND AUTOMATIC HITCH W/O THREE POSITION DRAWBAR.

1шт.

FOR TRACTORS EQUIPPED W/HYD DRAFT CONTROL, THREE POINT HITCH AND THREE POSITION DRAWBAR

1шт.

103385

COTTER PIN,1/8" x 1"

1шт.

16038R1

WASHER

17/32 X 1 X 11 GA.

1шт.

14

533912R1

BRACKET

ASSY, LEVER SUPPORT

1шт.

FOR TRACTORS EQUIPPED W/HYD DRAFT CONTROL ATT AND AUTOMATIC HITCH W/THREE POSITION DRAWBAR.

1шт.

FOR TRACTORS EQUIPPED W/HYD DRAFT CONTROL ATT AND AUTOMATIC HITCH W/O THREE POSITION DRAWBAR.

1шт.

FOR TRACTORS EQUIPPED W/HYD DRAFT CONTROL, THREE POINT HITCH AND THREE POSITION DRAWBAR

1шт.

179889

BOLT,Hex, 1/2" - 13 x 2", Gr 5

HEX-HD. CAP 1/2 X 2

2шт.

103323

LOCK WASHER,1/2"

2шт.

15

3061075R1

SPRING

CONTROL ROD RETURN

1шт.

FOR TRACTORS EQUIPPED W/HYD DRAFT CONTROL ATT AND AUTOMATIC HITCH W/THREE POSITION DRAWBAR.

1шт.

FOR TRACTORS EQUIPPED W/HYD DRAFT CONTROL ATT AND AUTOMATIC HITCH W/O THREE POSITION DRAWBAR.

1шт.

FOR TRACTORS EQUIPPED W/HYD DRAFT CONTROL, THREE POINT HITCH AND THREE POSITION DRAWBAR

1шт.

16

533865R1

SUPPORT

SPARE PART ASSY, DRAWBAR PIVOT

1шт.

FOR TRACTORS EQUIPPED W/HYD DRAFT CONTROL ATT AND AUTOMATIC HITCH W/THREE POSITION DRAWBAR.

1шт.

FOR TRACTORS EQUIPPED W/HYD DRAFT CONTROL ATT AND AUTOMATIC HITCH W/O THREE POSITION DRAWBAR.

1шт.

179886

BOLT,Hex, 1/2" - 13 x 1 5/8", Gr 5

HEX-HD. CAP 1/2 X 1-5/8

2шт.

179891

SHAFT

HEX-HD. CAP 1/2 X 2-1/2

2шт.

103323

LOCK WASHER,1/2"

4шт.

17

533899R1

ARM

SPARE PART ASSY, EXTENSION R.H.

1шт.

FOR TRACTORS EQUIPPED W/HYD DRAFT CONTROL ATT AND AUTOMATIC HITCH W/THREE POSITION DRAWBAR.

1шт.

FOR TRACTORS EQUIPPED W/HYD DRAFT CONTROL ATT AND AUTOMATIC HITCH W/O THREE POSITION DRAWBAR.

1шт.

FOR TRACTORS EQUIPPED W/HYD DRAFT CONTROL, THREE POINT HITCH AND THREE POSITION DRAWBAR

1шт.

179881

BOLT,1/2" - 13 x 1", Gr 5

1шт.

103323

LOCK WASHER,1/2"

1шт.

18

529541R1

SHAFT

SHAFT, DRAWBAR PIVOT SUPPORT CROSS

1шт.

FOR TRACTORS EQUIPPED W/HYD DRAFT CONTROL ATT AND AUTOMATIC HITCH W/THREE POSITION DRAWBAR.

1шт.

FOR TRACTORS EQUIPPED W/HYD DRAFT CONTROL ATT AND AUTOMATIC HITCH W/O THREE POSITION DRAWBAR.

1шт.

19

700387R1

CLIP, SPRING

PIN, COTTER

3шт.

FOR TRACTORS EQUIPPED W/HYD DRAFT CONTROL ATT AND AUTOMATIC HITCH W/THREE POSITION DRAWBAR.

1шт.

19

700387R1

CLIP, SPRING

PIN, COTTER

2шт.

FOR TRACTORS EQUIPPED W/HYD DRAFT CONTROL ATT AND AUTOMATIC HITCH W/O THREE POSITION DRAWBAR.

1шт.

20

704212R91

COTTER PIN

ASSY, IMPLEMENT

2шт.

FOR TRACTORS EQUIPPED W/HYD DRAFT CONTROL ATT AND AUTOMATIC HITCH W/THREE POSITION DRAWBAR.

1шт.

FOR TRACTORS EQUIPPED W/HYD DRAFT CONTROL ATT AND AUTOMATIC HITCH W/O THREE POSITION DRAWBAR.

1шт.

21

404787R1

SHIELD

LINCH PIN

2шт.

FOR TRACTORS EQUIPPED W/HYD DRAFT CONTROL ATT AND AUTOMATIC HITCH W/THREE POSITION DRAWBAR.

1шт.

FOR TRACTORS EQUIPPED W/HYD DRAFT CONTROL ATT AND AUTOMATIC HITCH W/O THREE POSITION DRAWBAR.

1шт.

22

533908R1

SHAFT

LIFT ROD CROSS

1шт.

FOR TRACTORS EQUIPPED W/HYD DRAFT CONTROL ATT AND AUTOMATIC HITCH W/THREE POSITION DRAWBAR.

1шт.

FOR TRACTORS EQUIPPED W/HYD DRAFT CONTROL ATT AND AUTOMATIC HITCH W/O THREE POSITION DRAWBAR.

1шт.

Q123

WASHER

1-1/32 X 2-1/2 X 16 GA.

2шт.

267805R1

RING

ROCKSHAFT ARM PIN, 574, NOT ILLUSTRATED, Serial Range: -100857

2шт.

267805R1

RING

ROCKSHAFT ARM PIN, 2500, NOT ILLUSTRATED, Serial Range: -100004

2шт.

3064334R1

ARM

SPARE PART DRAWBAR CLEVIS, 574, NOT ILLUSTRATED, Serial Range: -101690

1шт.

FOR TRACTORS EQUIPPED W/HYD DRAFT CONTROL ATT AND AUTOMATIC HITCH W/THREE POSITION DRAWBAR.

1шт.

3064334R1

ARM

SPARE PART DRAWBAR CLEVIS W/HITCH ASSY 3116498R1 AND 1 COTTER PIN 700387R1, 2500, NOT ILLUSTRATED, Serial Range: -100025

1шт.

FOR TRACTORS EQUIPPED W/HYD DRAFT CONTROL ATT AND AUTOMATIC HITCH W/O THREE POSITION DRAWBAR.

1шт.

W/HITCH ASSY 3116498R1 AND 1 COTTER PIN 700387R1- , PARTS NOT ILLUSTRATED

1шт.

Выбрано товаров: 128