Запчасти Case IH 574 (12-045) - FUEL FILTER AND CONNECTIONS, BOSCH INJECTION Power

Схема запчастей Case IH 574 - (12-045) - FUEL FILTER AND CONNECTIONS, BOSCH INJECTION Power
10
4
5
5
1
16
12
7
8
11
6
13
10
18
3
17
10
10
10
2
11
9
14
15
FIT
1:1
100%

Артикул

Название

Примечание

Количество

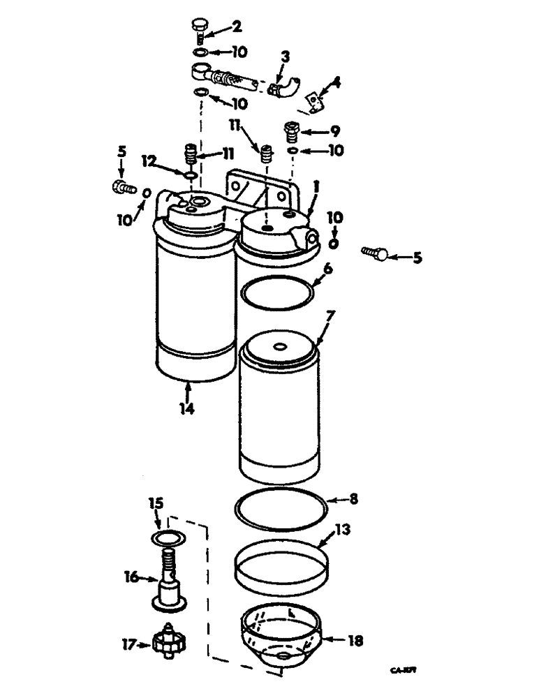
3132451R91

FILTER ASSY, FINAL FUEL -CONSISTS OF REF NOS 1 AND 6 THROUGH 18-

1шт.

1

3132491R1

FILTER HEAD

FILTER

1шт.

933620

DISC, SPRING

2шт.

179837

BOLT,Hex, 3/8" - 16 x 3/4", Gr 5

2шт.

2

710098R2

BANJO BOLT,M14 x 1.5 x 32mm

HOLLOW

1шт.

3

3136077R2

FUEL HOSE

FILTER TO INJECTION PUMP

1шт.

4

3132052R1

CLIP

FUEL LINE

2шт.

5

712616R1

PLUG,Hex, M14 x 1.5

Filler

2шт.

6

3132193R1

SEALING RING,62.4mm ID x 70mm OD x 4mm Thk

PACKING

2шт.

7

ELEMENT, PRIMARY FUEL -NOT SERVICED SEPARATELY ORDER PACKAGE 3136187R91-

1шт.

8

3132191R1

RING

PACKING

1шт.

9

3056600R1

ADAPTER

ADAPTOR

1шт.

10

933610R1

SEALING RING,M14 x 18 x 1.8

Packing

5шт.

11

3055881R1

SCREW

AIR VENT

2шт.

12

757760R1

RING

PACKING

2шт.

13

3132493R1

RING

2шт.

179838

BOLT,Hex, 3/8" - 16 x 7/8", Gr 5, Full Thd

2шт.

103321

LOCK WASHER,3/8"

2шт.

14

3132428R1

FILTER, FUEL

ELEMENT, FINAL FUEL

1шт.

15

3132192R1

RING

PACKING

1шт.

16

3132194R1

SCREW,M12 x 1.5 x 68mm

HOLLOW

1шт.

17

3132196R1

SCREW

PLUG, DRAIN

2шт.

18

3132197R1

BOWL

TRANSPARENT

1шт.

3136187R91

FILTER

PACKAGE, FILTER ELEMENT SERVICE, NOT ILLUSTRATED -CONSISTS OF

1шт.

ELEMENT, NOT ILLUSTRATED

1шт.

3132191R1

RING

NOT ILLUSTRATED

1шт.

Выбрано товаров: 26