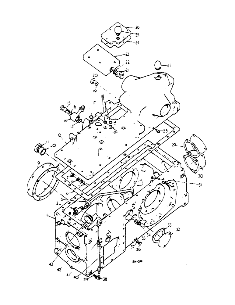
Запчасти Case IH 574 (07-033) - REAR FRAME, COVER AND CONNECTIONS (04) - Drive Train

Схема запчастей Case IH 574 - (07-033) - REAR FRAME, COVER AND CONNECTIONS (04) - Drive Train
22
21
7
15
39
20
43
9
6
25
30
19
11
1
24
36
17
16
34
32
8
13
37
12
5
23
31
28
35
4
26
42
41
29
14
27
18
33
40
10
2
3
38
FIT
1:1
100%

Артикул

Название

Примечание

Количество

1

399848R21

FRAME

ASSY, REAR -SYNCHROMESH DRIVE TRACTORS-

1шт.

1

399849R92

FRAME

ASSY, REAR -HYDROSTATIC DRIVE TRACTORS- -ALSO INCLUDES BEARING 399820R91 OR 527746R91 AND 362251R91 IN RANGE TRANSMISSION-

1шт.

327412R1

PLUG,Cup, 13/16"

13/16 CUP

1шт.

3113103R1

PLUG

3/4-14 AUTO HEX-HD PIPE

2шт.

349373R1

PLUG

1-1/4 CUP

1шт.

19904R1

DOWEL,1/2" x 1"

2шт.

19875R1

DOWEL,5/8" x 1 1/2"

PIN 5/8 X 1-1/2

4шт.

386194R1

PLUG,Cup, 3/4"

3/4 CUP

2шт.

512870R1

PLUG,Cup, 2 1/4"

2-1/4 CUP

1шт.

19846R1

DOWEL,1/2" x 1 1/4"

PIN 1/2 X 1-1/4

1шт.

70129R1

PLUG,Cup, 2"

CORED HOLE

1шт.

23828R1

PLUG,Cup, 2 1/2"

2-1/2 CUP

1шт.

330222R1

PLUG,Cup, 1 7/8"

1-7/8 CUP

1шт.

151162R1

PLUG,Cup, 1 3/8"

1-3/8 CUP

1шт.

327413R1

PLUG

1-1/2 CUP

1шт.

2

9411131

TEE,3/4"-16, 37 Degree x 3/4"-18, O-Ring Run

3/4-16 C-Z 37 DEG HYD FLARED TUBE ADJ STR THD 90 DEG -SYNCHROMESH DRIVE TRACTORS- -574, Start Serial: 10244

1шт.

2

9411131

TEE,3/4"-16, 37 Degree x 3/4"-18, O-Ring Run

3/4-16 C-Z 37 DEG HYD FLARED TUBE ADJ STR THD 90 DEG -SYNCHROMESH DRIVE TRACTORS, 2500, Start Serial: 602

1шт.

2

9410977

ELBOW,90 Degree, 3/4"-16, 37 Degree x 3/4"-16, O-Ring

3/4-16 C-Z 37 DEG HYD FLARED TUBE ADJ STR THD 90 DEG. - TRANSFER PUMP OUTLET TUBE - -PUMP OUTLET TUBE- -SYNCHROMESH DRIVE TRACTORS- -UP TO 574/10243 -UPTO 2500/601 -BUT USED ON TRACTORS W/FORWARD AND REVERSE-

1шт.

3

68393C1

TUBE ASSY.

CIL RETURN, 574, Start Serial: 10244

1шт.

3

68393C1

TUBE ASSY.

CIL RETURN, 2500, Start Serial: 602

1шт.

4

538649R91

PACKAGE

REAR FRAME COVER GASKET W/THREE SEALS 406734R1

1шт.

5

369751R1

O-RING,0.072" Thk x 0.351" ID, -904, Cl 6, 90 Duro

1/4 OD tube

2шт.

6

9411128

TEE,7/16"-20, 37 Degree x 7/16"-20, O-Ring Run

7/16-20 C-Z 37 DEG HYD FLARED TUBE ADJ STR HD 90 DEG - RH BRAKE TUBE -

1шт.

7

9403369

CAP,37 Degree, 7/16"-20

7/16-20 C-Z 37 DEG HYD FLARED TUBE - RH BRAKE TUBE -

1шт.

8

405739R2

GASKET

SIDE IPTO COVER

1шт.

9

405738R1

COVER

SIDE PTO

1шт.

179837

BOLT,Hex, 3/8" - 16 x 3/4", Gr 5

7шт.

10

296247R1

O-RING,16-1, 90 Duro, 1.171" ID x .116" Thk

1 OD TUBE

1шт.

11

9410363

PLUG

1-5/16 -12 STR THD-O-RING BOSS

1шт.

12

529381R94

COVER ASSY

REAR FRAME

1шт.

120377

NUT,3/8" - 16, Gr 5

4шт.

120382

LOCK WASHER,Helical Spring, 3/8"

4шт.

179847

BOLT,Hex, 3/8" - 16 x 2", Gr 5

1шт.

413-630

BOLT,Hex, 3/8" - 16 x 1-7/8", Gr 5

11шт.

179850

BOLT,Hex, 3/8" - 16 x 2 3/4", Gr 5

3/8-16 X 2-5/8 HEX HD CAP

2шт.

179886

BOLT,Hex, 1/2" - 13 x 1 5/8", Gr 5

1/2-13 X 1-5/8 HEX-HD CAP

2шт.

179888

LEVER

1/2-13 X 1-7/8 HEX-HD CAP

4шт.

444695

PLUG

3/8-18 AUTOM-HEX-SOC-HD PIPE

1шт.

444697

PLUG,Hex Soc, 3/8"-18

3/8-18 AUTOM-HEX-SOC-HD PIPE

1шт.

444698

PLUG

3/8-18 C-Z AUTOM-HEX-SOC-HD PIPE

1шт.

386194R1

PLUG,Cup, 3/4"

3/4 CUP

1шт.

373553R1

PLUG,Cup, 7/8"

7/8 CUP

1шт.

41600D

PLUG,Cup, 1 1/8"

1-1/8 CUP

1шт.

24469R1

PLUG,Cup, 3 1/4"

3-1/4 CUP

2шт.

103321

LOCK WASHER,3/8"

14шт.

179883

BOLT,Hex, 1/2" - 13 x 1 1/4", Gr 5

3шт.

231-1408

LOCK NUT,1/2"-13, GB

1/2-13 NYLON INSERT

3шт.

531143R2

STUD

TOP COVER LONG

2шт.

531144R1

STUD

TOP COVER SHORT

2шт.

13

384376C1

O-RING

15/16 X 1-1/16 X 1/16, 574, Start Serial: 100955

1шт.

13

384376C1

O-RING

15/16 X 1-1/16 X 1/16, 2500, Start Serial: 100005

1шт.

14

9410978

ELBOW,90 Degree, 7/8"-14, 37 Degree x 7/8"-14, O-Ring

7/8-14 C-Z 37 DEG HYD FLARED TUBE ADJ STR THD 90 DEG, 574, Serial Range: -100954

1шт.

14

9410978

ELBOW,90 Degree, 7/8"-14, 37 Degree x 7/8"-14, O-Ring

7/8-14 C-Z 37 DEG HYD FLARED TUBE ADJ STR THD 90 DEG, 2500, Serial Range: -100004

1шт.

14

66762C1

PIPE,0.625" OD, 3.5" Length

ASSY, INLET UNION, 574, Start Serial: 100955

1шт.

14

66762C1

PIPE,0.625" OD, 3.5" Length

ASSY, INLET UNION, 2500, Start Serial: 100005

1шт.

15

66766C1

PLUG

INLET UNION, 574, Start Serial: 100995

1шт.

15

66766C1

PLUG

INLET UNION, 2500, Start Serial: 100005

1шт.

16

364885R1

O-RING,0.097" Thk x 0.755" ID, -910, Cl 6, 90 Duro

5/8 OD TUBE

1шт.

17

21433R1

O-RING,0.103" Thk x 0.674" ID, -115, Cl 6, 90 Duro

11/16 X 7/8 X 3/32 -AUXILIARY VALVE MANIFOLD-

1шт.

18

352221R1

O-RING,0.103" Thk x 0.549" ID, -113, Cl 5, 75 Duro

9/16 X 3/4 X 3/32 -AUXILIARY VALVE MANIFOLD-

2шт.

19

570828R1

O-RING,0.087" Thk x 0.644" ID, -908, Cl 6, 90 Duro

1/2 OD TUBE -SYNCHROMESH DRIVE TRACTORS, 574, Start Serial: 10244

1шт.

19

570828R1

O-RING,0.087" Thk x 0.644" ID, -908, Cl 6, 90 Duro

1/2 OD TUBE -SYNCHROMESH DRIVE TRACTORS, 2500, Start Serial: 602

1шт.

19

369751R1

O-RING,0.072" Thk x 0.351" ID, -904, Cl 6, 90 Duro

1/2 OD Tube -SYNCHROMESH DRIVE TRACTORS, 574 -USE ON TRACTORS W/FWD AND REVERSE, Serial Range: -10243

1шт.

19

369751R1

O-RING,0.072" Thk x 0.351" ID, -904, Cl 6, 90 Duro

1/2 OD Tube -SYNCHROMESH DRIVE TRACTORS, 2500 -USE ON TRACTORS W/FWD AND REVERSE, Serial Range: -601

1шт.

20

9410359

PLUG

3/4-16 C-Z STR THD O-RING BOSS -SYNCHROMESH DRIVE TRACTORS, 574, Start Serial: 10244

1шт.

20

9410359

PLUG

3/4-16 C-Z STR THD O-RING BOSS -SYNCHROMESH DRIVE TRACTORS, 2500, Start Serial: 602

1шт.

20

9410977

ELBOW,90 Degree, 3/4"-16, 37 Degree x 3/4"-16, O-Ring

3/8-16 C-Z 37 DEG HYD FLARED TUBE ADJ STR THD 90 DEG -LUB REGULATOR RETURN TUBE- -SYNCHROMESH DRIVE TRACTORS, 574 -BUT USED ON TRACTORS W/FORWARD AND REVERSE-, Serial Range: -10243

1шт.

20

9410977

ELBOW,90 Degree, 3/4"-16, 37 Degree x 3/4"-16, O-Ring

3/8-16 C-Z 37 DEG HYD FLARED TUBE ADJ STR THD 90 DEG -LUB REGULATOR RETURN TUBE- -SYNCHROMESH DRIVE TRACTORS, 2500 -BUT USED ON TRACTORS W/FORWARD AND REVERSE-, Serial Range: -601

1шт.

21

9410978

ELBOW,90 Degree, 7/8"-14, 37 Degree x 7/8"-14, O-Ring

7/8-14 C-Z 37 DEG HYD FLARED TUBE ADJ STR THD 90 DEG -AUXILIARY VALVE MANIFOLD-

1шт.

22

364885R1

O-RING,0.097" Thk x 0.755" ID, -910, Cl 6, 90 Duro

5/8 OD TUBE

1шт.

23

529382R1

MANIFOLD

AUX VALVE

1шт.

179847

BOLT,Hex, 3/8" - 16 x 2", Gr 5

4шт.

24

399996R1

GASKET

LINKAGE ACCESS COVER

1шт.

25

65970C1

BREATHER

ASSY, HYDRAULIC UNIT HOUSING - 574, Start Serial: 10020

1шт.

25

366591R91

CLEANER

BREATHER ASSY, HYD UNIT HOUSING

1шт.

25

538330R1

NO LONGER SERVICED

BREATHER ASSY, HYD UNIT HOUSING -OPTIONAL- -574, Serial Range: -10019

1шт.

ON ORDERS FOR 399995R1 OR 366591R91 FURNISH 65969C1 COVER 65970C1 BREATHER AND 399996R1 GASKET.

1шт.

26

65969C1

COVER

LINKAGE ACCESS

1шт.

26

399995R1

COVER

LINKAGE ACCESS

1шт.

ON ORDERS FOR 399995R1 OR 366591R91 FURNISH 65969C1 COVER 65970C1 BREATHER AND 399996R1 GASKET.

1шт.

179791

BOLT,Hex, 1/4" - 20 x 1/2", Gr 5

5шт.

27

20953R1

DRAIN PLUG,Sq Hd, 1 1/4"-11 1/2 NPTF

1-3/4-11 X 1/2 NPTE

1шт.

28

82301R1

BLEEDER,3/8" - 24 x 117mm

BRAKE BLEED

2шт.

29

399843R2

GASKET

IPTO COVER

2шт.

179837

BOLT,Hex, 3/8" - 16 x 3/4", Gr 5

6шт.

30

399842R1

COVER

REAR FRAME IPTO

2шт.

31

406734R1

SEAL

TEFLON

3шт.

32

528448R1

PLATE

PARKING BRAKE PIVOT HOLE BLANKING -TRACTORS W/HAND OPERATED DRUM BRAKE-

1шт.

179837

BOLT,Hex, 3/8" - 16 x 3/4", Gr 5

3шт.

103321

LOCK WASHER,3/8"

3шт.

33

528449R1

GASKET

PIVOT HOLE BLANKING PLATE

1шт.

34

9410200

HYD CONNECTOR,7/16" - 20 JIC x 7/16" - 20 ORB

7/16-20 C-Z 37 DEG HYD FLARED

1шт.

TUBE SHORT SWIVEL -L H BRAKE INLET TUBE-

1шт.

35

369751R1

O-RING,0.072" Thk x 0.351" ID, -904, Cl 6, 90 Duro

1/4 OD tube

1шт.

36

9410356

PLUG

7/16-20 STR THD O-RING BOSS

1шт.

37

369751R1

O-RING,0.072" Thk x 0.351" ID, -904, Cl 6, 90 Duro

1/4 OD tube

1шт.

38

9410976

ELBOW,90 Degree, 9/16"-18, 37 Degree x 9/16"-18, O-Ring

9/16-18 37 DEG HYD FLARED TUBE ADJ

1шт.

39

364839R1

O-RING,0.078" Thk x 0.468" ID, -906, Cl 6, 90 Duro

3/8 OD tube

1шт.

40

528059R1

TUBE

REAR FRAME OIL LEVEL GAGE

1шт.

41

352219R1

O-RING,0.07" Thk x 0.239" ID, -10, Cl 5, 75 Duro

1/4 X 3/8 X 1/16

1шт.

42

528054R1

DIPSTICK

GAGE ASSY, REAR FRAME OIL LEVEL -SYNCHROMESH DRIVE TRACTORS-

1шт.

42

528057R1

NO LONGER SERVICED

GAGE ASSY, REAR FRAME OIL LEVEL -HYDROSTATIC DRIVE TRACTORS-

1шт.

43

527748R1

PLUG

OIL RESERVOIR

1шт.

Выбрано товаров: 103