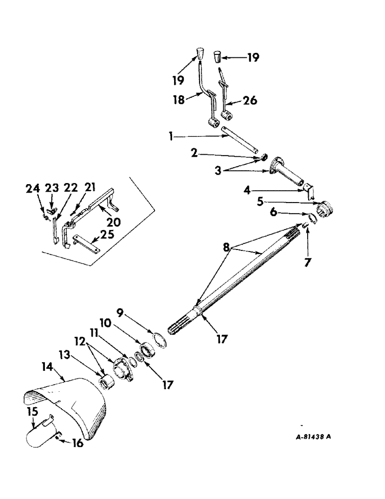
Запчасти Case IH 2424 (098) - REAR FRAME AND DRIVING MECHANISMS, POWER TAKE OFF REAR SECTION Rear Frame & Driving Mechanisms

Схема запчастей Case IH 2424 - (098) - REAR FRAME AND DRIVING MECHANISMS, POWER TAKE OFF REAR SECTION Rear Frame & Driving Mechanisms
10
26
1
3
16
13
4
11
2
12
23
6
15
18
24
7
21
19
25
17
20
19
8
22
14
5
9
17
FIT
1:1
100%

Артикул

Название

Примечание

Количество

1

3064231R1

SHAFT

PTO shifter

1шт.

2

704393R91

OIL SEAL

shifter bracket oil

1шт.

3

704392R21

SUPPORT

BRACKET ASSY, rear clutch

1шт.

179838

BOLT,Hex, 3/8" - 16 x 7/8", Gr 5, Full Thd

3/8-16 x 7/8 hex-hd cap

3шт.

103321

LOCK WASHER,3/8"

WASHER, LOCK, 3/8"

3шт.

4

3063246R11

LEVER

SHIFTER ASSY, PTO

1шт.

Used only on tractors with forward and reverse transmission and/or constant running PTO.

1шт.

4

3061857R11

LEVER

SHIFTER ASSY, PTO

1шт.

Not used on tractors with forward and reverse transmission or dual clutch.

1шт.

38-31220

PIN,4.75mm OD x 31.75mm L, Coiled

3/16 x 1-1/4 groove

1шт.

5

751113R2

CLUTCH

PTO rear shaft

1шт.

6

751117R1

CLIP

CIRCLIP, PTO rear shaft clutch

1шт.

7

48594DA

BUSHING,19.19mm ID x 20.55mm OD x 19.84mm L

PTO rear shaft

1шт.

8

751114R51

SHAFT HOUSING

SHAFT ASSY, PTO rear

1шт.

9

704385R1

CLIP

CIRCLIP, internal

1шт.

10

ST205A

BEARING, BALL,35 mm ID x 72 mm OD x 17 mm

BEARING, PTO rear shaft ball

1шт.

11

708541R1

RETAINER

CIRCLIP, external

1шт.

12

704387R12

RETAINER

ASSY, PTO oil seal

1шт.

179819

BOLT,Hex, 5/16" - 18 x 1 1/8", Gr 5

Used only w/belt pulley ATT Hex, 5/16"-18 x 1 1/8", G5

1шт.

3072253R1

STUD

PTO safety shield

3шт.

9635082

NUT,5/16" - 18, Gr 5

5/16-18 hex

6шт.

103320

LOCK WASHER,5/16"

WASHER, LOCK, 5/16"

3шт.

95-11034

WASHER,1/4"

11/32 x 11/16 x 16 ga

3шт.

13

358812R91

OIL SEAL

SEAL, PTO shaft rear oil

1шт.

14

704395R96

SHIELD

ASSY, PTO safety

1шт.

15

3041319R11

CAP

ASSY, PTO safety

1шт.

16

751472R1

WASHER

PTO safety cap

3шт.

17

707991R1

COLLAR

PTO shaft

1шт.

18

389573R92

LEVER

ASSY, PTO shifter, tractors with auxiliary valves

1шт.

19424R1

PIN,3/8" x 1 1/2", Coiled

1шт.

19

390001R1

GRIP

PTO shifter lever

1шт.

20

3072193R91

FORK

ASSY, high speed shifter, will work for 751097R98

1шт.

Not used on tractors with forward and reverse transmission or dual clutch.

1шт.

21

751797R3

PIN

interlock latch pivot

1шт.

Not used on tractors with forward and reverse transmission or dual clutch.

1шт.

22

751799R12

PLATE

ASSY, interlock latch operating

1шт.

Not used on tractors with forward and reverse transmission or dual clutch.

1шт.

3064717R1

CLIP

retaining

2шт.

23

751794R2

LATCH

interlock

1шт.

Not used on tractors with forward and reverse transmission or dual clutch.

1шт.

3066786R1

CIRCLIP, 1/4 interlock latch

1шт.

16558R1

WASHER

17/64 x 5/8 x 18 ga

1шт.

24

751798R1

SPRING

interlock latch

1шт.

25

3044010R11

FORK

BRACKET ASSY, gear shifter fork and guide

1шт.

Not used on tractors with forward and reverse transmission or dual clutch.

1шт.

26

389569R91

LEVER

ASSY, PTO shifter, tractors w/o auxiliary valves

1шт.

20596R1

PIN,3/8" x 1 1/4", Coiled

3/8" x 1-1/4", coiled

1шт.

Выбрано товаров: 47