Запчасти Case IH 2424 (035) - FUEL SYSTEM, FUEL TANK, SUPPORTS AND PIPING, DIESEL ENGINE TRACTORS (02) - FUEL SYSTEM

Схема запчастей Case IH 2424 - (035) - FUEL SYSTEM, FUEL TANK, SUPPORTS AND PIPING, DIESEL ENGINE TRACTORS (02) - FUEL SYSTEM
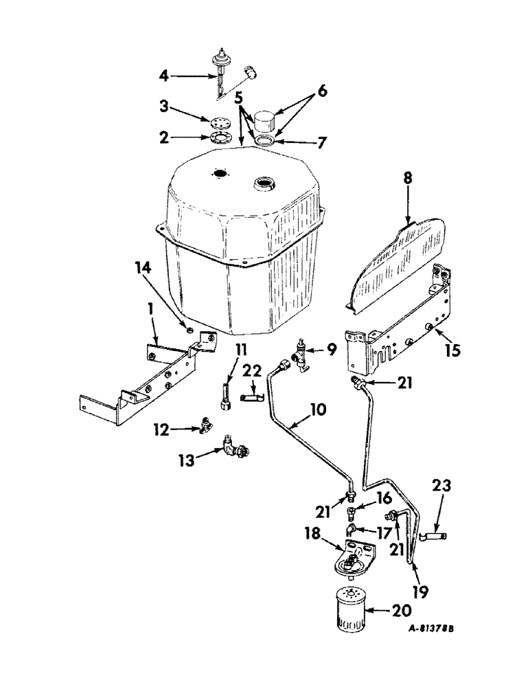
21
19
15
5
2
21
6
10
22
4
7
17
21
14
8
11
20
16
3
18
13
23
9
12
FIT
1:1
100%

Артикул

Название

Примечание

Количество

1

388712R91

SUPPORT ASSY, fuel tank & instrument panel housing rear

1шт.

131-883

SPRING NUT,Rtnr, 5/16" - 18

floating cage

2шт.

179840

BOLT,Hex, 3/8" - 16 x 1 1/8", Gr 5

SCREW, 3/8-16 x 1-1/8 hex-hd cap

4шт.

102635

NUT,3/8"-16, G5

4шт.

103321

LOCK WASHER,3/8"

WASHER, LOCK, 3/8"

4шт.

2

369154R1

GASKET

sending unit and cover

1шт.

3

369155R1

COVER, fuel gauge sending unit opening, tractors w/o electric fuel gauge

1шт.

1310675C1

CAPTIVE WASHER SCREW,Sl Truss Hd, #10 - 24 x 0.75"

SCREW, LOCK, , Cover mounting Sltd Truss Hd, #10-24 x 3/4", w/nylon LW

5шт.

4

391222R91

GAUGE

SENDING UNIT, electric fuel gauge

1шт.

1310675C1

CAPTIVE WASHER SCREW,Sl Truss Hd, #10 - 24 x 0.75"

SCREW, LOCK, , Sending unit mounting Sltd Truss Hd, #10-24 x 3/4", w/nylon LW

5шт.

5

388705R91

TANK

W/FILLER CAP, fuel

1шт.

NLS

NO LONGER SERVICED

4шт.

95-11041

WASHER,3/8"

(13/32 x 13/16 x .065) 3/8"

4шт.

445673

PIPE PLUG,Sq Hd, 3/8"-18 NPTF

PLUG, 3/8-16 auto sq-hd pipe

2шт.

444574

PLUG,Sq Hd, 1/4"-18 NPTF

1/4-18 auto sq-hd pipe

1шт.

6

361910R91

PLUG

CAP W/GASKET, fuel tank filler

1шт.

7

23977DB

GASKET

fuel cap

1шт.

8

388720R91

SHIELD ASSY, heat

1шт.

9

370828R91

COCK

VALVE ASSY, fuel pipe needle

1шт.

10

388723R1

FUEL TUBE

PIPE, fuel, Serial Range: tank-filter

1шт.

11

389674R91

CONNECTOR, stand pipe

1шт.

12

118536

VALVE

COCK, water drain

1шт.

13

389673R91

ELBOW

poly-flow male

1шт.

14

60671D

INSULATOR BLOCK

PAD, fuel tank insulating

8шт.

15

388708R11

SUPPORT ASSY, fuel tank and instrument panel housing mounting front

1шт.

131-883

SPRING NUT,Rtnr, 5/16" - 18

floating cage

4шт.

413-622

BOLT,Hex, 3/8" - 16 x 1-3/8", Gr 5

3/8-16 x 1-3/8 hex-hd cap

2шт.

16

35252D

HYD CONNECTOR,1/8" NPT x 1/2"-20

CONNECTOR, 1/8 NPTF male hi-duty tube fitting

1шт.

17

24847H

ELBOW,90 Degree x 1/8" NPT x 1/2"-20

1/2-20 hi-duty tube fitting male pipe

1шт.

18

389374R11

BRACKET

ASSY, fuel filter

1шт.

179839

BOLT,Hex, 3/8" - 16 x 1", Gr 5

1шт.

102635

NUT,3/8"-16, G5

1шт.

103321

LOCK WASHER,3/8"

WASHER, LOCK, 3/8"

1шт.

147697

WASHER

5/16 x 7/8 x .065

1шт.

615031

WASHER, 3/8 x 7/8 x .083

1шт.

346712

PLUG, 1/8-27 hex-hd pipe

1шт.

19

388729R1

PIPE

filter to injection pump

1шт.

20

393201R91

PACKAGE

DIESEL, fuel filter service, throw away type element

1шт.

21

19985R1

TUBE NUT,1/2"-20

NUT, 1/2-20 hi-duty tube fitting

3шт.

22

393888R1

CLAMP, fuel line

1шт.

179833

BOLT,Hex, 3/8" - 16 x 1/2", Gr 5, Full Thd

1шт.

103321

LOCK WASHER,3/8"

WASHER, LOCK, 3/8"

1шт.

23

393889R1

CLAMP, fuel line

1шт.

Выбрано товаров: 43