Запчасти Case IH 2424 (045) - COOLING SYSTEM, RADIATOR AUXILIARY SCREEN COOLING SYSTEM

Схема запчастей Case IH 2424 - (045) - COOLING SYSTEM, RADIATOR AUXILIARY SCREEN COOLING SYSTEM
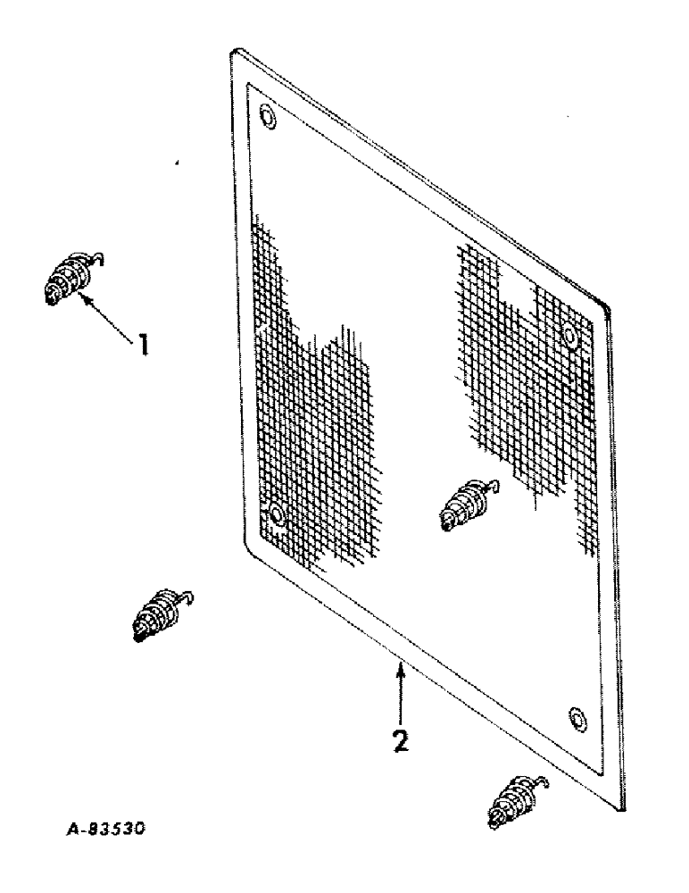
2
1
FIT
1:1
100%

Артикул

Название

Примечание

Количество

392523R91

PARTS ACCESSORY, radiator auxiliary screen, tractors w/o heavy grille, unit A

1шт.

392526R91

PARTS ACCESSORY, radiator auxiliary screen, tractors w/heavy duty grille, unit B

1шт.

1

392525R1

FASTENER

coil spring

4шт.

2

392524R91

SCREEN ASSY, radiator auxiliary, unit A

1шт.

2

392527R91

SCREEN ASSY, radiator auxiliary, unit B

1шт.

Выбрано товаров: 5