Запчасти Case IH 300B-SERIES (025B) - SPARK IGNITION ENGINES, RESERVE FUEL TANK (03) - FUEL SYSTEM

Схема запчастей Case IH 300B-SERIES - (025B) - SPARK IGNITION ENGINES, RESERVE FUEL TANK (03) - FUEL SYSTEM
FIT
1:1
100%

Артикул

Название

Примечание

Количество

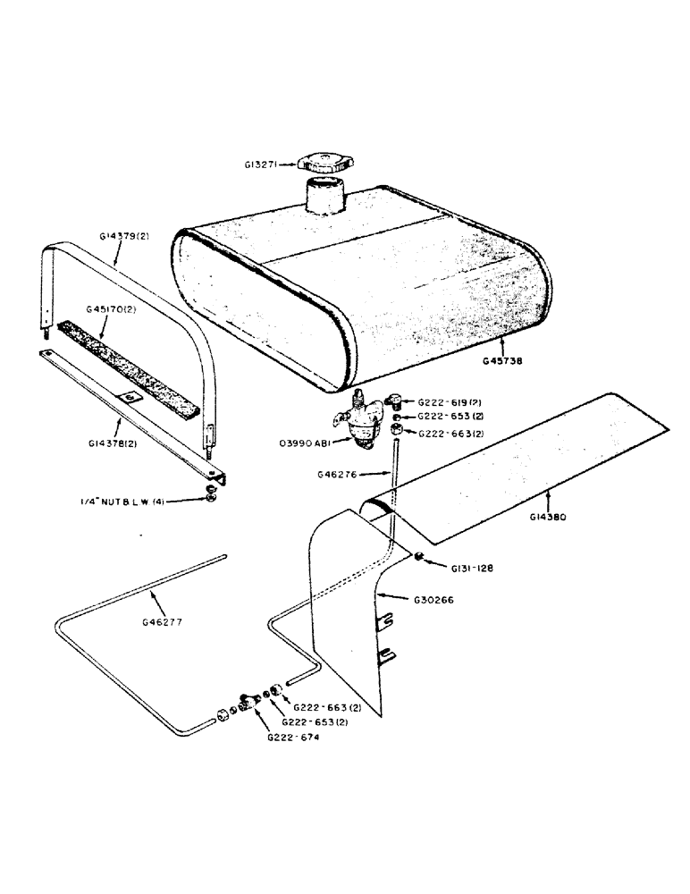
G13271

CAP

- reserve tank

1шт.

G14378

SUPPORT - tank

1шт.

G14379

STRAP - tank

2шт.

1/4" N.C. hex. nut and lockwasher

4шт.

G14380

BAFFLE - heat deflector

1шт.

G30266

SUPPORT

EXTENSION - rear, heat baffle

1шт.

G45170

PAD - felt, tank strap

2шт.

G45738

TANK - reserve fuel

1шт.

G46276

LINE - fuel, tank to tee fitting

1шт.

G46277

LINE - fuel, tee, Serial Range: fitting-carburetor

1шт.

3990AB1

STRAINER - fuel (See page 21)

1шт.

G131-128

CLIP - extension to heat baffle

1шт.

G222-619

ELBOW - fuel line (69F - 5/16" O.D. x 1/8" P.T., includes G222-653 sleeve and G222-663 nut)

2шт.

G222-653

SLEEVE - fuel line fitting (60F - 5/16")

4шт.

G222-663

NUT - fuel line fitting (61F - 5/16")

5шт.

G222-674

TEE FITTING - fuel line (72F - 5/16" O.D. x 1/8" P.T., includes 2-G222-653 sleeve and 2-G222-663 nut)

1шт.

Выбрано товаров: 0