Запчасти Case IH 400-SERIES (210) - RELIEF VALVE ASSEMBLY AND 4443AA SERVICE KIT, FOR TRACTORS WITHOUT EAGLE HITCH (08) - HYDRAULICS

Схема запчастей Case IH 400-SERIES - (210) - RELIEF VALVE ASSEMBLY AND 4443AA SERVICE KIT, FOR TRACTORS WITHOUT EAGLE HITCH (08) - HYDRAULICS
FIT
1:1
100%

Артикул

Название

Примечание

Количество

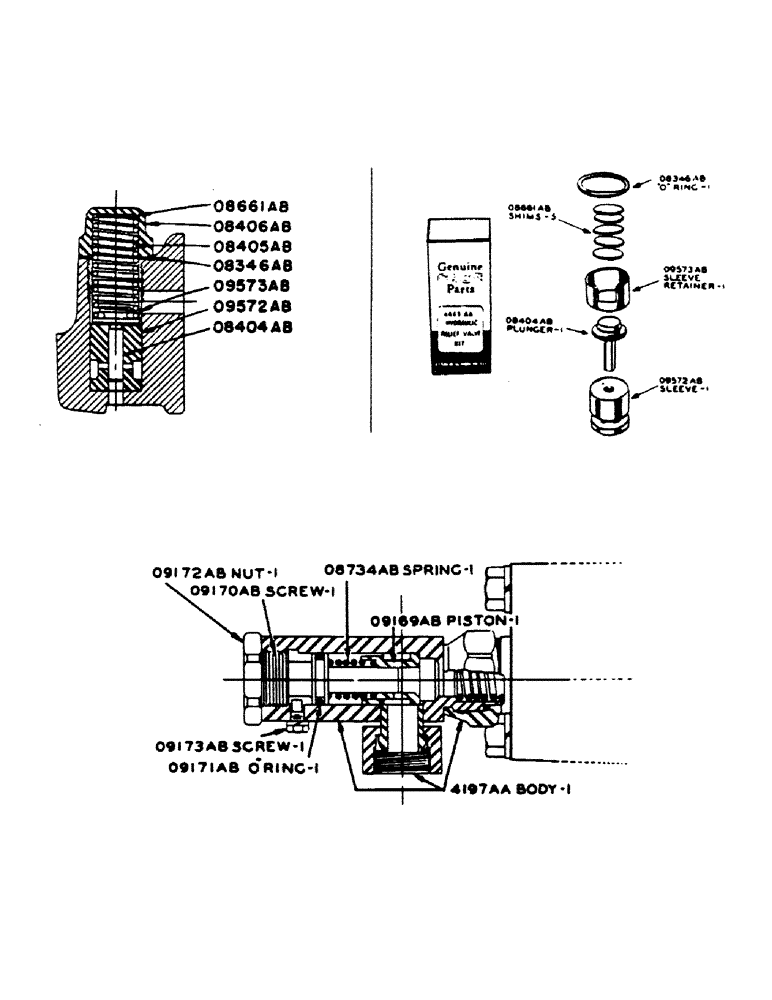
O8346AB

X

"O" RING - relief valve nut

1шт.

O8404AB

PLUNGER

- relief valve

1шт.

O8405AB

SPRING

- relief valve

1шт.

O8406AB

NUT - relief valve

1шт.

O8661AB

X

SHIM - relief valve

2шт.

O9572AB

SLEEVE

- relief valve

1шт.

O9573AB

RETAINER

- relief valve sleeve

1шт.

4443AA

KIT

- service parts (consists of 1 - 08404AB, 1 - 09572AB, 1 - 09573AB, 5 - 08661AB and 1 - 08346AB)

1шт.

O8734AB

X

SPRING - speed regulator, cylinder, for tractors without eagle hitch

1шт.

O9169AB

X

PISTON - speed regulator, cylinder, for tractors without eagle hitch

1шт.

O9170AB

X

SCREW - speed regulator, cylinder, for tractors without eagle hitch

1шт.

O9171AB

X

"O" RING - speed regulator screw, cylinder, for tractors without eagle hitch

1шт.

O9172AB

X

NUT - speed regulator screw, cylinder, for tractors without eagle hitch

1шт.

O9173AB

X

SCREW - speed regulator stop, cylinder, for tractors without eagle hitch

1шт.

#8 std. light lockwasher, cylinder speed regulator, for tractors without eagle hitch

1шт.

4197AA

X

BODY AND SWIVEL - speed regulator, cylinder, for tractors without eagle hitch

1шт.

4198AA

X

REGULATOR - cylinder speed, complete, for tractors without eagle hitch

1шт.

Выбрано товаров: 0