Запчасти Case IH 400-SERIES (148) - STEERING WHEEL AND SHAFT, STEERING WHEEL AND COLUMN (05) - STEERING

Схема запчастей Case IH 400-SERIES - (148) - STEERING WHEEL AND SHAFT, STEERING WHEEL AND COLUMN (05) - STEERING
FIT
1:1
100%

Артикул

Название

Примечание

Количество

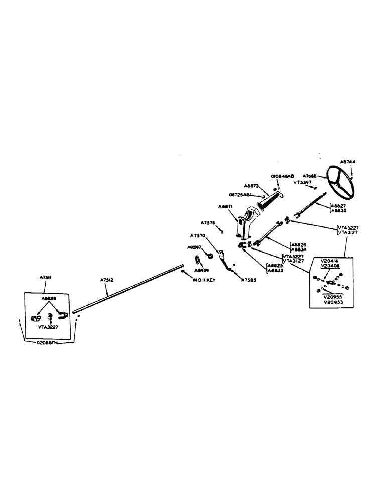
A7574

COLUMN - (use A7577)

1шт.

A7575

SUPPORT - steering column and fuel tank (prior to tractor no. 8067630) (see A8871)

1шт.

A7576

STUD - steering column and fuel tank support

3шт.

1/2" N.F. hex. nut and lockwasher

3шт.

A7577

COLUMN - steering shaft, with 2-06725AB1 bushings (prior to tractor no. 8067630) (see A8873)

1шт.

1/8" str. Lincoln fitting no. 5000

2шт.

1/2" x 1-1/4" N.C. hex. bolt with lockwasher (diesel)

2шт.

1/2" x 1-3/4" N.C. hex. bolt with lockwasher (diesel)

1шт.

1/2" x 1-1/4" N.C. hex. bolt with lockwasher (gasoline)

3шт.

A7668

WHEEL

- steering

1шт.

A8744

NUT

- acorn, steering wheel

1шт.

A8871

SUPPORT - steering column and fuel tank (tractor no. 8067630 and after) (see A7575)

1шт.

A8872

COLUMN - (use A8873)

1шт.

A8873

COLUMN - steering shaft, with 2 - 06725AB1 bushings (tractor no. 8067630 and after) (see see A7577)

1шт.

1/8" str. Lincoln fitting no. 5000

2шт.

1/2" x 1-3/4" N.C. hex. bolt with lockwasher (diesel)

1шт.

1/2" x 1-1/4" N.C. hex. bolt with lockwasher (diesel)

2шт.

1/2" x 1-1/4" N.C. hex. bolt with lockwasher (gasoline)

3шт.

O6725AB1

X

BUSHING - steering shaft column

2шт.

O10846AB

X

OIL SEAL - steering shaft column

1шт.

VT3397

KEY - Woodruff, steering, Serial Range: wheel-shaft

1шт.

A7511

JOINT

- universal, steering worm shaft, wheel, for Orchard tractors

1шт.

A7668

WHEEL

- steering, and shaft, for Orchard tractors

1шт.

A8744

NUT

- acrorn, steering wheel, and shaft, for Orchard tractors

1шт.

A8957

SHAFT - steering wheel, and shaft, for Orchard tractors

1шт.

No. 11 Woodruff key, steering wheel and shaft, for Orchard tractors

1шт.

A8958

X

BALL - steering shaft bearing, wheel, for Orchard tractors

1шт.

1/8" str. Lincoln fitting no. 5000, steering wheel and shaft, for Orchard tractors

1шт.

A8959

RETAINER

CAP - steering shaft bearing support, wheel, for Orchard tractors

2шт.

1/4" x 1" N.F. hex. bolt with nut and lockwasher (zinc plated), steering wheel and shaft, for Orchard tractors

4шт.

A8962

SUPPORT - steering shaft bearing, wheel, for Orchard tractors

1шт.

1/2" x 1-1/2" N.C. hex. bolt with lockwasher, steering wheel and shaft, for Orchard tractors

3шт.

O2088FH

X

ROLL PIN - for universal joint (3/16" x 1-3/8"), steering wheel and shaft, for Orchard tractors

2шт.

VT3397

KEY - Woodruff, steering wheel to shaft, for Orchard tractors

1шт.

A8825

YOKE - steering shaft, clamp type, wheel, (Blood Bros. joint)

1шт.

3/8" x 1-3/4" N.C. hex. bolt with hex. nut and lockwasher, steering wheel shaft, (Blood Bros. joint)

1шт.

A8826

SHAFT AND YOKES - (17-5/8" to center of yokes), steering wheel, (Blood Bros. joint)

1шт.

A8827

SHAFT - steering wheel, includes yoke for upper joint, (Blood Bros. joint)

1шт.

V20414

WASHER - cork, for universal joint cross (see VTA3227), steering wheel shaft, (Blood Bros. joint)

8шт.

V20955

X

SNAP RING - universal joint cross (see VTA3227), steering wheel shaft, (Blood Bros. joint)

8шт.

VTA3227

X

UNIVERSAL JOINT SPIDER AND BEARING KIT - (includes 1 spider, 4 bearings, 4 - V20414 and 4 - V20955), steering wheel shaft, (Blood Bros. joint)

2шт.

A8833

YOKE - steering shaft, clamp type, wheel, (Mechanics joint)

1шт.

3/8" x 1-3/4" N.C. hex. bolt with hex. nut and lockwasher, steering wheel shaft, (Mechanics joint)

1шт.

A8834

SHAFT AND YOKE - (17-5/8" to center of yokes), steering wheel, (Mechanics joint)

1шт.

A8835

SHAFT - steering wheel, includes yoke for upper joint, (Mechanics joint)

1шт.

V20406

BUSHING

WASHER - cork, for universal joint cross (see VTA3127), steering wheel shaft, (Mechanics joint)

8шт.

V20953

ROD

SNAP RING - universal joint cross (see VTA3127), steering wheel shaft, (Mechanics)

8шт.

VTA3127

X

UNIVERSAL JOINT SPIDER AND BEARING KIT - (includes 1 spider, 4 - bearings, 4 - V20406 and 4 - V20953), steering wheel shaft, (Mechanics)

2шт.

A7511

JOINT

- universal, steering worm shaft, and lower, for general purpose and high clearance tractors

1шт.

No. 11 Woodruff key, steering shaft and lower universal joint, for general purpose and high clearance tractors

2шт.

A7512

SHAFT - intermediate steering, shaft and lower universal joint, for general purpose and high clearance tractors

1шт.

No. 11 Woodruff key, steering shaft and lower universal joint, for general purpose and high clearance tractors

2шт.

A7570

SUPPORT - steering shaft bearing, and lower universal joint, for general purpose and high clearance tractors

1шт.

1/2" x 1-1/4" N.C. hex. bolt with lockwasher, steering shaft and lower universal joint, for general purpose and high clearance tractors

1шт.

5/8" x 1-1/4" N.C. hex. bolt with lockwasher, steering shaft and lower universal joint, for general purpose and high clearance tractors

1шт.

A7585

WASHER - spacer, steering shaft bearing support, and lower universal joint, for general purpose and high clearance tractors

2шт.

A8959

RETAINER

CAP - steering shaft bearing support, and lower universal joint, for general purpose and high clearance tractors

1шт.

#10 - 32 x 5/8" N.F. rhd. mach. screw with hex. nut and lock- washer, steering shaft and lower universal joint, for general purpose and high clearance tractors

4шт.

A9597

BALL

- steering shaft bearing, and lower universal joint, for general purpose and high clearance tractors

1шт.

1/8" - 45 degree Lincoln fitting no. 5200, steering shaft and lower universal joint, for general purpose and high clearance tractors

1шт.

O2088FH

X

ROLL PIN - for A7511 universal joint (3/16" x 1-3/8"), steering shaft and lower universal joint, for general purpose and high clearance tractors

2шт.

A8828

YOKE - universal joint (plain), parts for A7511 lower

2шт.

No. 11 Woodruff key, parts for A7511 lower universal joint

2шт.

V20414

WASHER - cork (see VTA3227), parts for A7511 lower universal joint

4шт.

V20955

X

SNAP RING - (see VTA3227), parts for A7511 lower universal joint

4шт.

VTA3227

X

UNIVERSAL JOINT SPIDER AND BEARING KIT - (includes 1 spider, 4 bearings, 4 - V20414 and 4 - (V20955), parts for A7511 lower

1шт.

Выбрано товаров: 66