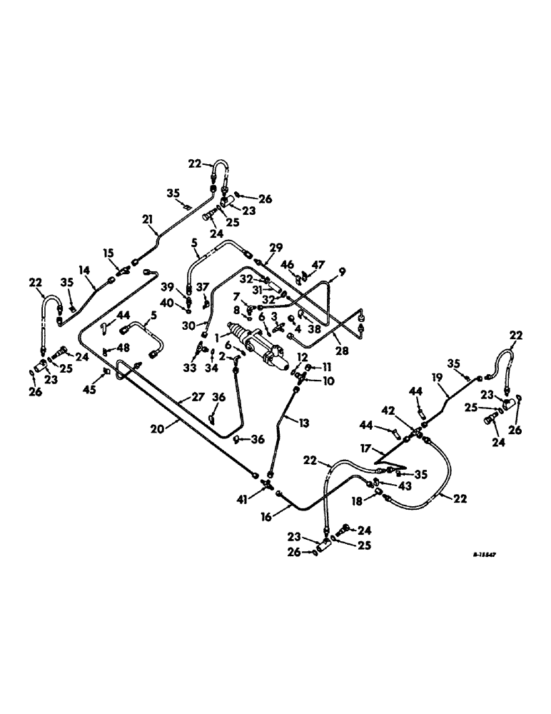
Запчасти Case IH 4100 (F-20) - HYDRAULIC SYSTEM, POWER BRAKE VALVE, PIPING AND CONNECTIONS (07) - HYDRAULIC SYSTEM

Схема запчастей Case IH 4100 - (F-20) - HYDRAULIC SYSTEM, POWER BRAKE VALVE, PIPING AND CONNECTIONS (07) - HYDRAULIC SYSTEM
39
26
25
15
46
24
19
9
24
5
27
48
1
40
32
29
11
17
10
12
14
38
44
4
23
24
43
6
25
45
34
41
26
23
5
26
30
25
47
44
44
18
36
36
22
16
24
35
7
32
21
37
28
8
23
25
31
22
22
13
2
20
22
3
35
6
33
35
22
35
23
26
42
FIT
1:1
100%

Артикул

Название

Примечание

Количество

1

390644R91

LOCK VALVE

VALVE ASSY, power brake, For components see list of parts under details of power brake valve listing, This section

1шт.

2

9410977

ELBOW,90 Degree, 3/4"-16, 37 Degree x 3/4"-16, O-Ring

3/4-16 37 degree hyd flared tube adj str thd 90 degree brake valve to rear steering

1шт.

3

9411131

TEE,3/4"-16, 37 Degree x 3/4"-18, O-Ring Run

3/4-16 hyd 37 degree flared tube, brake valve inlet port

1шт.

4

9403372

CAP,37 Degree, 3/4"-16

hyd 37 degree flared tube, brake valve inlet tee plug

1шт.

5

390649R91

HOSE

ASSY, power brake valve

2шт.

6

570828R1

O-RING,0.087" Thk x 0.644" ID, -908, Cl 6, 90 Duro

41/64 x 13/16 x 3/32

2шт.

7

9410978

ELBOW,90 Degree, 7/8"-14, 37 Degree x 7/8"-14, O-Ring

7/8-14 37 degree hyd flared tube 90 degree adj str thd brake valve return port

1шт.

8

364885R1

O-RING,0.097" Thk x 0.755" ID, -910, Cl 6, 90 Duro

3/4 x 15/16 x 3/32, return tube elbow

1шт.

9

390650R11

PIPE ASSY, brake valve return port

1шт.

10

9411117

TEE,9/16"-18, 37 Degree x 9/16"-18, O-Ring Br

9/16-18 37 degree hyd flared tube, power brake valve to wheel cyl

1шт.

11

9403371

CAP,37 Degree, 9/16"-18

hyd 37 degree flared tube tee

1шт.

12

364839R1

O-RING,0.078" Thk x 0.468" ID, -906, Cl 6, 90 Duro

6-1, 90 Duro, .468" ID x .078" Thk, brake valve tee small

1шт.

13

390651R11

TUBE

PIPE ASSY, master cyl to wheel cyl

1шт.

14

390652R11

PIPE ASSY, rear RH brake cyl

1шт.

15

9402979

TEE,7/16"-20, 37 Degree

7/16-20 37 degree hyd flared tube, three way brake tube junction

1шт.

16

390653R11

PIPE ASSY, junction tee to front brake

1шт.

17

390655R11

PIPE ASSY, front wheel brake cyl RH

1шт.

18

190152

CANVAS

UNION, 7/16-24 inverted flared tube

1шт.

19

390654R11

LINE

PIPE ASSY, front wheel brake cyl LH

1шт.

20

390656R11

PIPE ASSY, junction tee to rear brakes, Serial Range: -8000

1шт.

20

393709R11

PIPE ASSY, junction tee to rear brakes, Start Serial: 8001

1шт.

21

390657R11

TUBE

PIPE ASSY, rear LH brake cyl

1шт.

22

390659R91

HOSE ASSY, wheel cyl

5шт.

23

390659R91

FITTING, 90 degree swivel bolted type

4шт.

24

390660R1

BOLT, swivel fitting

4шт.

25

48167H

GASKET

GASKET, copper washer

4шт.

26

48166H

WASHER

GASKET, copper washer

4шт.

27

390661R11

PIPE ASSY, power brake, Serial Range: valve-steering

1шт.

28

390662R11

PIPE ASSY, power brake valve inlet short

1шт.

29

390663R11

PIPE ASSY, power brake valve inlet long

1шт.

30

390664R11

PIPE

ASSY, brake valve return port rear

1шт.

31

390665R1

HOSE, brake valve return tube

1шт.

32

274085R91

HOSE CLAMP,#10, 0.56/1.06 Type F Worm

CLAMP ASSY, return hose

2шт.

33

9411119

TEE,7/8"-14, 37 Degree x 7/8"-14, O-Ring Br

7/8-14 37 degree hyd flared adj str thd, brake return tube to transfer case

1шт.

34

364885R1

O-RING,0.097" Thk x 0.755" ID, -910, Cl 6, 90 Duro

3/4 x 15/16 x 3/32, return tube tee seal

1шт.

35

458659R1

CLAMP

CLIP, axle front and rear brake tube support

4шт.

109084

NUT,1/4"-20, G5

4шт.

179797

BOLT,Hex, 1/4" - 20 x 1", Gr 5

4шт.

103319

LOCK WASHER,1/4"

WASHER, LOCK, 1/4"

4шт.

36

661432R1

CLIP, RH channel brake rear tube, Replaces 61387D

2шт.

37

362123R1

CLIP

pump mounting cover brake return tube

1шт.

38

308580R1

CLIP

LH channel brake return tube ends, Replaces 254825R1

1шт.

39

9410203

HYD CONNECTOR,3/4"-16, 37 Degree x 3/4"-16, O-Ring

CONNECTOR, 3/4-16 37 degree hyd flared tube short swivel, pump to brake valve

1шт.

40

570828R1

O-RING,0.087" Thk x 0.644" ID, -908, Cl 6, 90 Duro

41/64 x 13/16 x 3/32, connector seal

1шт.

41

390666R1

TEE

junction

1шт.

42

9410304

TEE,37 Degree, 7/16"-20 x 7/16"-20, Fem Sw Br

7/16-20 37 degree hyd flared tube swivel, front wheel cyl brake tubes

1шт.

43

355574R1

CLIP

junction tee to front brake support

1шт.

120377

NUT,3/8" - 16, Gr 5

1шт.

180118

BOLT,Hex, 3/8" - 16 x 5/8", Gr 5

SCREW, 3/8-16 x 5/8 C-Z hex-hd cap

1шт.

44

390667R1

CLIP, axle pipe support

3шт.

45

562318R1

CLAMP, brake valve to rear steer pipe

1шт.

46

384855R11

CLAMP

ASSY, brake valve inlet and return pipes

2шт.

NLS

NO LONGER SERVICED

SCREW, 1/4-20 x 7/8 hex-hd cap

2шт.

47

371194R1

CLAMP, brake valve inlet and return pipes

2шт.

48

666591R1

CLIP, brake tube rear support

1шт.

Выбрано товаров: 55