Запчасти Case IH 4100 (E-06) - FUEL SYSTEM, ETHER STARTING, MECHANICALLY OPERATED, ETHER STARTING, MECHANICALLY OPERATED (02) - FUEL SYSTEM

Схема запчастей Case IH 4100 - (E-06) - FUEL SYSTEM, ETHER STARTING, MECHANICALLY OPERATED, ETHER STARTING, MECHANICALLY OPERATED (02) - FUEL SYSTEM
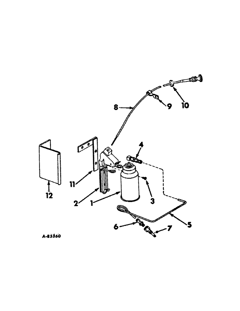
3
11
10
7
4
9
1
2
8
6
5
12
FIT
1:1
100%

Артикул

Название

Примечание

Количество

1

385064R91

FLUID

ether starting, 12 oz. can

1шт.

2

392804R91

PRIMER W/SCREW, 388447R1, starting fluid

1шт.

134388

TIRE TUBE

SCREW, 12-24 x 3/4 C-Z ov-hd slt mach

2шт.

3

388447R1

SCREW, wire holding

1шт.

4

385070R91

CONNECTOR ASSY, primer

1шт.

5

390528R1

PIPE, starting fluid

1шт.

8

388426R91

CABLE PULLING GRIP

CABLE ASSY, spring return primer

1шт.

9

370205R1

CLIP, primer cable

1шт.

10

144226

GROMMET,1/4" ID x 5/8" x .062", Diag. Cut

primer cable

1шт.

11

393177R11

BRACKET ASSY, primer mounting

1шт.

179837

BOLT,Hex, 3/8" - 16 x 3/4", Gr 5

1шт.

103321

LOCK WASHER,3/8"

WASHER, LOCK, 3/8"

1шт.

12

393176R1

PLATE, deflector

1шт.

225-14112

NUT,#12-24

12-24 C-Z hex. mach. screw

2шт.

Выбрано товаров: 14