Запчасти Case IH 4100 (B-19) - POWER TRAIN, REAR DRIVE SHAFT (03) - POWER TRAIN

Схема запчастей Case IH 4100 - (B-19) - POWER TRAIN, REAR DRIVE SHAFT (03) - POWER TRAIN
3
3
5
5
4
3
4
6
1
5
2
8
4
4
3
6
2
1
2
2
FIT
1:1
100%

Артикул

Название

Примечание

Количество

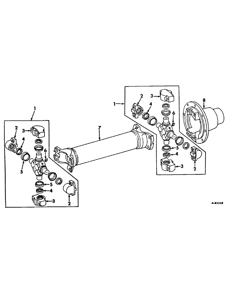
1

140604R92

STRIPPER PACKAGE

PACKAGE, spider and bearing

2шт.

2

206967R91

BEARING ASSY, threaded

4шт.

3

240811R91

BEARING ASSY, plain

4шт.

327184R1

BOLT,Hex, 1/2"-20 x 2", G8

8шт.

103323

LOCK WASHER,1/2"

WASHER, LOCK, 1/2"

8шт.

4

304109R91

RETAINER AND SEAL

8шт.

5

38016H

SHIELD, dust

8шт.

6

86636814

LUBE NIPPLE,1/4"-28 x .52" lg

FITTING, 1/4-28 NF2 str lub

3шт.

7

390744R91

TUBE ASSY, rear drive, Serial Range: -8000

1шт.

7

394892R1

TUBE ASSY, rear drive, Start Serial: 8001

1шт.

313289R1

BOLT,7/16" x 1 1/8", Gr 8

SCREW, 7/16-20 x 1-1/8 hex-hd cap

8шт.

103322

LOCK WASHER,7/16"

WASHER, LOCK, 7/16"

8шт.

8

394895R1

HUB

FLANGE ASSY, brake

1шт.

Выбрано товаров: 13