Запчасти Case IH 4100 (B-20) - POWER TRAIN, INDEPENDENT POWER TAKE-OFF (03) - POWER TRAIN

Схема запчастей Case IH 4100 - (B-20) - POWER TRAIN, INDEPENDENT POWER TAKE-OFF (03) - POWER TRAIN
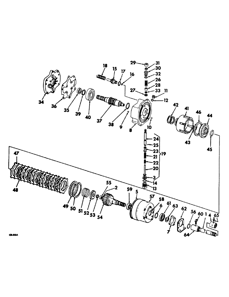
39
61
21
29
23
12
31
15
54
60
35
22
4
18
61
16
5
49
50
30
37
59
41
56
2
53
46
58
43
28
63
32
41
20
52
9
36
17
19
11
55
34
6
24
62
14
33
42
57
8
7
27
64
47
13
48
3
38
45
65
44
10
26
25
40
FIT
1:1
100%

Артикул

Название

Примечание

Количество

ATTACHMENT, 1000 RPM independent PTO, 403903R91, Order attachment 406792R91

1шт.

ATTACHMENT, 1000 RPM independent PTO, 406792R91, field application, The following listing contain the remaining service items for attachment, 406792R91, Independent PTO tubing & connections listing, Section F & independent PTO controls listing, Section H

1шт.

1

403908R12

SHAFT

ASSY, PTO extension

1шт.

2

256191C1

RING, drive shaft lub retaining

1шт.

3

395328R2

SPACER

valve control independent PTO

1шт.

4

403910R1

COUPLING

extension shaft front

1шт.

443167

PIN, 1/4 x 1-3/4 groove

1шт.

5

529565R1

GASKET

clutch carrier

1шт.

6

139743R1

RING

drive shaft front brg retaining

1шт.

7

403669R1

GASKET

drive shaft bearing retainer

1шт.

8

403674R1

HOUSING ASSY, independent PTO, Used only with attachment 403903R91, Composed of

1шт.

16008R1

BALL,1/4" Dia, Steel

(NSS)

2шт.

16010R1

BALL

(NSS)

2шт.

16012R1

BALL

(NSS)

1шт.

16016R1

BALL

(NSS)

1шт.

403675R2

HOUSING AND PIPE ASSY (NSS)

1шт.

8

406777R1

HOUSING

ASSY, independent PTO, Used only with attachment, 406792R91, Composed of

1шт.

16008R1

BALL,1/4" Dia, Steel

(NSS)

2шт.

16010R1

BALL

(NSS)

2шт.

16012R1

BALL

(NSS)

1шт.

16016R1

BALL

(NSS)

1шт.

406778R1

HOUSING (NSS)

1шт.

102637

NUT,1/2"-13, G5

2шт.

179886

BOLT,Hex, 1/2" - 13 x 1 5/8", Gr 5

SCREW, 1/2-13 x 1-5/8 hex-hd cap

2шт.

9

16008R1

BALL,1/4" Dia, Steel

1/4 cr-stl

2шт.

10

16010R1

BALL

5/16 cr-stl

2шт.

11

9410355

PLUG,Hex Hd, 3/8"-24 ORB

3/8-24 C-Z str thd-o-ring boss, gauge hole plug

1шт.

13

389126R2

PLUG, hydraulic

1шт.

14

368269R1

O-RING,0.116" Thk x 0.924" ID, -912, Cl 6, 90 Duro

59/64 x 1-1/16 x 7/64

1шт.

15

381464R22

PISTON

ASSY, anti-creep brake

3шт.

16

370920R1

O-RING,1/2" ID

1/2 x 5/8 x 1/16, anti-creep brake piston

3шт.

17

293739R1

O-RING,0.139" Thk x 1.359" ID, -220, Cl 5, 75 Duro

1-3/8 x 1-5/8 x 1/16, anti-creep brake piston

3шт.

18

381466R1

SPRING

anti-creep brake piston

3шт.

19

528484R93

LOCK VALVE

VALVE ASSY, control, Also order guide, 389129R3, nut, 102635 and stop, 528486R1

1шт.

20

381469R12

GUIDE

ASSY, control valve

1шт.

21

381760R1

SPRING

control valve light

1шт.

22

403905R2

VALVE SPRING

SPRING, control valve heavy

1шт.

23

381472R1

VALVE

control

1шт.

24

528485R1

STEM

control valve guide, Replaces 389153R2, Also order guide 389129R3, nut, 102635 and stop, 528486R1

1шт.

25

400518R2

PIN,1.59mm OD x 9.4mm L

control valve dowel

1шт.

26

381762R1

VALVE SPRING

SPRING, control valve bumper

1шт.

27

384562R1

SHIM

bumper spring, Or use as required

5шт.

28

528486R1

STOP

control valve stem

1шт.

29

389128R1

CUP ASSY.

CUP, bumper spring pre-load

1шт.

102635

NUT,3/8"-16, G5

1шт.

30

389129R3

GUIDE

control valve

1шт.

31

381477R91

SEAL,9.73mm ID x 22.33mm OD x 6.35mm Thk

control valve cover oil

1шт.

32

297459R1

O-RING,0.116" Thk x 1.048" ID, -914, Cl 6, 90 Duro

1-3/64 x 1-7/32 x 7/64, Control valve guide

1шт.

33

384875R1

WASHER

control valve stem

1шт.

34

403662R1

COVER ASSY

COVER, independent PTO housing

1шт.

NLS

NO LONGER SERVICED

4шт.

35

380182R91

OIL SEAL,42.42mm ID x 62.05mm OD x 8.41mm Thk

output shaft oil

1шт.

36

403677R1

GASKET

independent PTO cover and housing

1шт.

37

403663R1

SHAFT, independent PTO output, Used only with attachment, 403903R91

1шт.

37

406779R1

SHAFT

independent PTO output, Used only with attachment, 406792R91

1шт.

38

364145R1

O-RING,0.103" Thk x 2.112" ID, -138, Cl 5, 75 Duro

2-1/8 x 2-5/16 x 3/32, output shaft

1шт.

39

71866R1

RING

output shaft rear brg retaining

1шт.

40

403906R1

BEARING, output shaft rear, Used only with attachment, 403903R91

1шт.

40

258457C91

BEARING

output shaft rear, Used only with attachment, 406792R91

1шт.

41

381484R1

DISC

CUP, clutch

1шт.

42

381485R1

RING,67.13mm ID x 72.21mm OD x 3.12mm Thk

clutch cup seal

2шт.

43

258400C1

SNAP RING,#187, Ext

Ring, Snap, , clutch cup #187, Ext

2шт.

44

405473R1

PISTON

clutch

1шт.

45

702283R1

O-RING,0.21" Thk x 1.85" ID, -328, Cl 5, 75 Duro

1-7/8 x 2-1/4 x 3/16, clutch piston

1шт.

46

381488R1

RING,120.78mm ID x 134.34mm OD x 4.78mm Thk

SEAL, clutch piston oil

1шт.

47

381489R2

DISC

clutch driven

12шт.

48

381490R91

DISC

PLATE ASSY, clutch

5шт.

49

381491R1

RETAINER

clutch driven disc

1шт.

50

381492R1

CIRCLIP,M137.16 x 3.07mm Thk, Int

RING, clutch driven disc retainer snap

1шт.

51

381493R1

SPRING

clutch release

1шт.

52

381494R1

RETAINER

clutch release spring

1шт.

53

370504R1

RING

clutch release spring retainer snap

1шт.

54

403907R1

SHAFT

drive

1шт.

55

10026R

NEEDLE BEARING,0.875" ID x 1.1245" OD x 0.5"

BEARING, drive shaft front needle

1шт.

56

333794R91

SEAL

drive shaft oil

1шт.

57

403665R1

CARRIER

ASSY, independent PTO clutch

1шт.

444588

PLUG,Sq Hd, 1/2"-14 NPTF

1/2-14 auto. sq-hd pipe

1шт.

187491

BOLT,Hex, 3/8" - 16 x 5 1/2", Gr 5

SCREW, 3/8-16 x 5-1/2 hex-hd cap

4шт.

58

19879R1

SPLIT PIN/SAFETY PIN

PIN, 5/16 x 3/4 dowel

2шт.

59

359950R91

NEEDLE BEARING

BEARING, drive shaft rear

1шт.

60

219-45

LUBE NIPPLE,65 Degree Elbow, 1/4" NPTF

FITTING, 1/4 65 degree angle drive type lub

1шт.

61

ST568

BALL BEARING,35 mm ID x 62 mm OD x 14 mm

BEARING, drive shaft front ball

1шт.

62

403668R1

RETAINER

drive shaft front bearing

1шт.

179793

BOLT,Hex, 1/4" - 20 x 5/8", Gr 5, Full Thd

4шт.

63

359141R1

RING, SNAP

RING, drive shaft front bearing retaining snap

1шт.

64

403909R2

COUPLING

extension shaft rear

1шт.

65

271432

LUBE NIPPLE,1/4" x .47 lg, Drive

FITTING, 1/4 str drive type lub

1шт.

403959R1

BRACKET ASSY, rear outlet

1шт.

403953R1

COVER ASSY, rear lower

1шт.

403963R1

EXTENSION, drawbar

1шт.

426099

NUT,3/4"-16, G5

3/4-16 C-Z hex.

3шт.

86979737

SHAFT

SCREW, 3/4-16 x 4 C-Z hex-hd cap

3шт.

87340

LOCK WASHER,Helical Spring, 0.759" ID, CST, ZND

WASHER, LOCK, 3/4"

3шт.

403964R1

SUPPORT ASSY, LH drawbar, Tractors w/hydraulic drawbar

1шт.

403965R1

SUPPORT ASSY, RH drawbar, Tractors w/hydraulic drawbar

1шт.

406298R1

COVER ASSY

rear lower RH

1шт.

406296R1

COVER ASSY

rear lower LH

1шт.

403966R1

PIN, drawbar support

2шт.

478275R1

AXLE PIN

PIN, quick attachable cot.

2шт.

Выбрано товаров: 99