Запчасти Case IH 4100 (G-15) - ELECTRICAL SYSTEM, REAR LIGHT (06) - ELECTRICAL SYSTEMS

Схема запчастей Case IH 4100 - (G-15) - ELECTRICAL SYSTEM, REAR LIGHT (06) - ELECTRICAL SYSTEMS
3
3
1
10
11
8
13
5
2
1
5
9
2
12
4
9
7
6
FIT
1:1
100%

Артикул

Название

Примечание

Количество

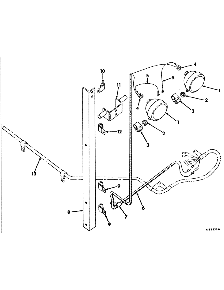
390760R91

PARTS ACCESSORY, rear light

1шт.

1

387729R91

LIGHT

ASSY, rear, Only serviceable items are lamp, 455490 and unit 371461R91

2шт.

102637

NUT,1/2"-13, G5

2шт.

2

365503R1

SPACER

rear light

2шт.

3

350920R1

CLAMP

rear light

2шт.

4

377105R1

CONNECTOR, ELEC

CONNECTOR, rear light

2шт.

5

405290R1

HARNESS

CABLE ASSY, rear light to ground, Replaces 370387R91

2шт.

6

405258R1

HARNESS ASSY, rear light cable, Replaces 390759R91

1шт.

7

358986R1

CABLE CLIP

CLIP, rear light harness, long

1шт.

8

390757R1

ANGLE, light support

1шт.

120377

NUT,3/8" - 16, Gr 5

1шт.

180122

BOLT,Hex, 3/8" - 16 x 1", Gr 5

3/8-16 x 1 C-Z hex-hd cap

1шт.

575807R1

WASHER

13/32 x 1 x .1136 plain

1шт.

120382

LOCK WASHER,Helical Spring, 3/8"

WASHER, LOCK, 3/8"

1шт.

9

362120R1

CLAMP,9.53mm ID, 10.32mm Bolt Hole, P Type

CLIP, rear light harness, on light support, bend 90 degrees

2шт.

10

362120R1

CLAMP,9.53mm ID, 10.32mm Bolt Hole, P Type

CLIP, rear light harness, on rear light mounting channel lower mounting bolt

1шт.

11

390758R11

STRIP ASSY, light mounting

1шт.

120377

NUT,3/8" - 16, Gr 5

2шт.

180122

BOLT,Hex, 3/8" - 16 x 1", Gr 5

3/8-16 x 1 C-Z hex-hd cap

2шт.

120382

LOCK WASHER,Helical Spring, 3/8"

WASHER, LOCK, 3/8"

2шт.

12

362120R1

CLAMP,9.53mm ID, 10.32mm Bolt Hole, P Type

CLIP, rear light harness, on light support, bend 90 degrees

1шт.

120377

NUT,3/8" - 16, Gr 5

1шт.

180122

BOLT,Hex, 3/8" - 16 x 1", Gr 5

3/8-16 x 1 C-Z hex-hd cap

1шт.

120382

LOCK WASHER,Helical Spring, 3/8"

WASHER, LOCK, 3/8"

1шт.

432644

FUSE,20 Amp, Type SFE

20 AMP

1шт.

13

HARNESS ASSY, rear mian, Refer to starting and lighting listing, This section

1шт.

Выбрано товаров: 26