Запчасти Case IH 424 (131) - HYDRAULIC SYSTEM, HYDRAULIC PUMP, CESSNA, GASOLINE ENGINE TRACTORS (07) - HYDRAULIC SYSTEM

Схема запчастей Case IH 424 - (131) - HYDRAULIC SYSTEM, HYDRAULIC PUMP, CESSNA, GASOLINE ENGINE TRACTORS (07) - HYDRAULIC SYSTEM
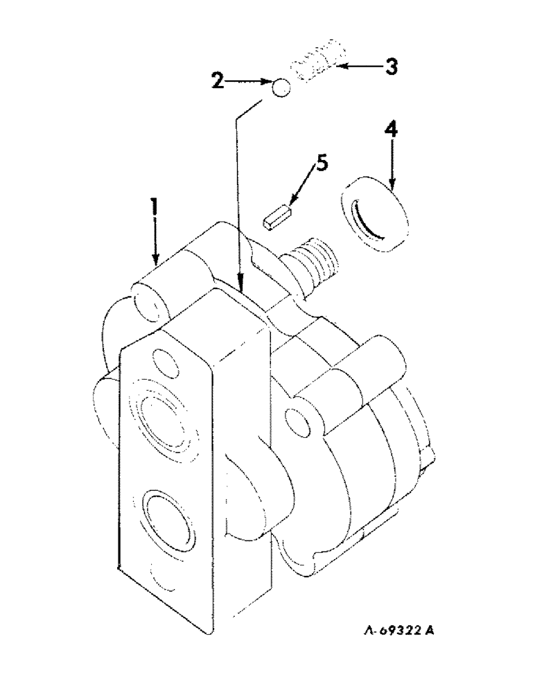
1
5
2
3
4
FIT
1:1
100%

Артикул

Название

Примечание

Количество

1

377033R93

PUMP

ASSY, hyd, 4.5 GPM, optional with 397130R91, composed of (1) ball 16007R1, (1) housing assy (NSS), (1) key 384507R1, (1) oil seal 596548R91, (1) package 381002R92, (1) spring 371523R1

1шт.

1

376993R93

PUMP

ASSY, hyd, 9 GPM, optional with 368633R92, composed of (1) ball 16007R1, (1) housing assy (NSS), (1) key 396949R1, (1) oil seal 596548R91, (1) package 381002R92, (1) spring 381523R1

1шт.

2

16007R1

BALL

7/32 dia. cr-pltd-stl

1шт.

3

371523R1

SPRING

ball check

1шт.

4

596548R91

SEAL

pump shaft oil

1шт.

5

384507R1

KEY

pump shaft, used with pump assy 377033R93

1шт.

5

396949R1

KEY

pump shaft, used with pump assy 376993R93

1шт.

381002R92

PACKAGE

hyd pump o-ring and gasket service, composed of (1) diaphragm 381003R1 (NSS), (1) gasket 350708R1, (1) gasket 614751R1 (NSS), (1) gasket 381005R1 (NSS), (1) oil seal 596548R91, (2) o-ring 381884R1, (1) plate 396948R1 (NSS)

1шт.

Выбрано товаров: 8