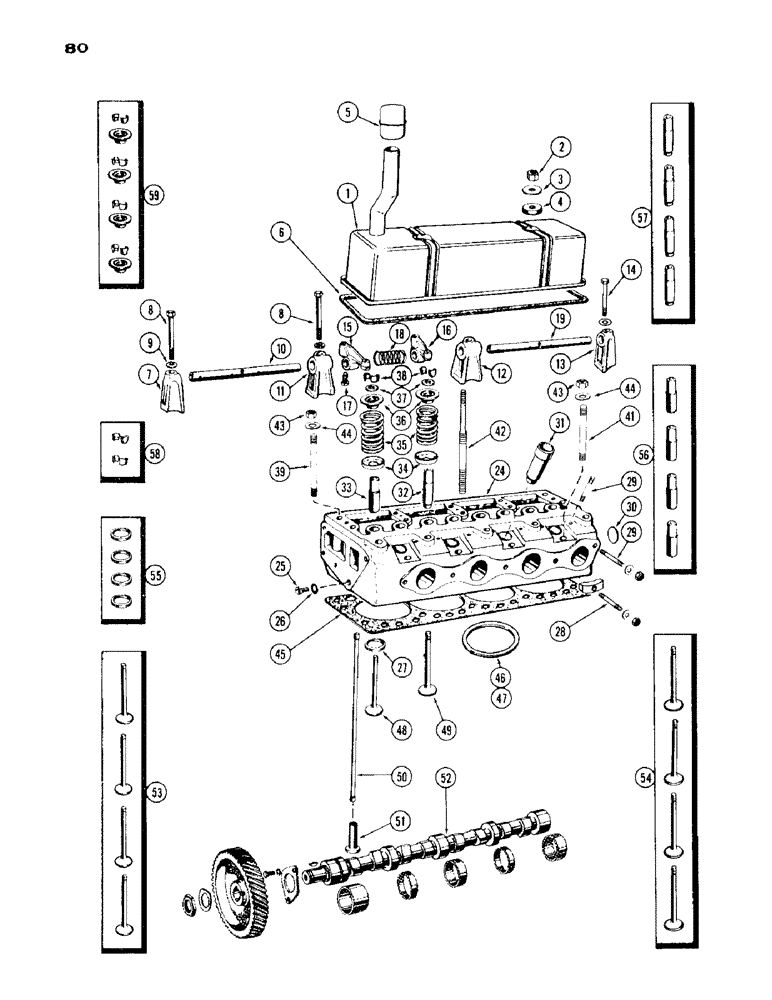
Запчасти Case IH 430 (080) - CYLINDER HEAD ASSEMBLY, CASTING NO. A36876, 430 AND 530 SERIES,188 DIESEL ENGINE (02) - ENGINE

Схема запчастей Case IH 430 - (080) - CYLINDER HEAD ASSEMBLY, CASTING NO. A36876, 430 AND 530 SERIES,188 DIESEL ENGINE (02) - ENGINE
29
46
44
12
9
25
4
24
6
41
17
49
3
8
55
16
39
53
47
11
48
31
33
35
5
54
42
13
35
44
29
58
37
18
57
28
19
32
43
38
43
36
26
7
52
50
51
8
27
15
30
56
59
2
1
45
10
14
FIT
1:1
100%

Артикул

Название

Примечание

Количество

1

G11998

SPARE PART

COVER - valve

1шт.

2

25-106

NUT,3/8"-16, G5

- 3/8" N.C. hex

2шт.

3

G49400

WASHER

- cover nut

2шт.

4

G46867

GROMMET

- rubber

2шт.

5

A36608

CAP

- breather

1шт.

6

G46866

GASKET

-, Serial Range: cover-head

1шт.

7

G2100

BRACKET

- front, rocket arm shaft

1шт.

8

13-656

BOLT,Hex, 3/8" - 16 x 3-1/2", Gr 5

- 3/8" x 3-1/2" N.C. hex. hd.

4шт.

9

A30058

WASHER

- bracket bolt

5шт.

10

G11743

SHAFT

- front, rocker arm

1шт.

11

G2101

BRACKET

- center, rocker arm shaft

1шт.

12

G2102

BRACKET

- intermediate, rocker arm shaft

2шт.

13

A36615

BRACKET

- rear, rocker arm shaft

1шт.

14

G49067

BOLT

- drilled, rear bracket

1шт.

15

G45770

ARM

ROCKER ARM - R.H. (Includes Ref. 17)

4шт.

16

G45771

ARM

ROCKER ARM - L.H. (Includes Ref. 17)

4шт.

17

G49075

ADJUSTMENT SCREW,3/8" - 24 x 0.50"

- adjusting

1шт.

18

G48501

SPRING

- rocker arm shaft

4шт.

19

G11747

X

SHAFT - rear, rocker arm

1шт.

24

A36880

HEAD ASSY. - cylinder (casting No. A36876), Includes: Ref. 25 - 33

1шт.

See perm. sub book for sub.

1шт.

25

G49083

BOLT

- drilled gear cover

1шт.

26

193-77

LOCK WASHER,Int Tooth, 1/2"

LOCKWASHER - 1/2" ET Shakeproof

1шт.

27

NSS

NOT SOLD SEPARAT

INSERT - valve seat (Order ref. 55)

4шт.

28

A35175

STUD

- manifold clamp (3/8" x 2-7/16")

6шт.

29

A29431

STUD

- manifold & injector (3/8" x 1-3/4")

12шт.

30

A30036

PLUG

- expansion, 1-3/4" dia.

1шт.

31

G11724

LINER

- fuel injector

4шт.

32

NSS

NOT SOLD SEPARAT

GUIDE - intake valve (Order ref. 57)

4шт.

33

NSS

NOT SOLD SEPARAT

GUIDE - exhaust valve (Order ref. 56)

4шт.

34

G49065

SEAT

- valve spring

8шт.

35

A30025

SPRING

- valve

8шт.

36

NSS

NOT SOLD SEPARAT

RETAINER - valve spring (Order ref. 59)

8шт.

37

G46851

SEAL

- rubber, valve stem

8шт.

38

NSS

NOT SOLD SEPARAT

LOCK - retainer, valve spring (Order ref. 58)

16шт.

39

A36902

STUD

- head to block (1/2" x 5-5/8")

11шт.

39

A36903

STUD

- head to block (1/2" x 6-1/8")

2шт.

41

A36904

STUD

- head to block (1/2" x 4")

4шт.

42

A36903

STUD

- head & cover (1/2" N.C. thrd.)

2шт.

42

A36562

STUD

- head & cover (1/2" N.F. thrd.)

2шт.

43

A37030

FLANGE NUT

- head stud (1/2" N.C. thrd.)

19шт.

43

A30021

NUT

- head stud (1/2" N.F. thrd.)

19шт.

44

A29288

WASHER

- head stud (only w/1/2" N.F. nut)

19шт.

45

A36877

GASKET

-, Serial Range: head-block

1шт.

46

A36900

RING, PISTON

RING - fire, cylinder orange mark (See ref. 47)

4шт.

47

A37031

RING

- fire (oversize thickness) (black mark)

4шт.

48

NSS

NOT SOLD SEPARAT

VALVE - exhaust (Order ref. 53)

4шт.

49

NSS

NOT SOLD SEPARAT

VALVE - intake (Order ref. 54)

4шт.

50

G47079

ROD

- push

8шт.

51

G47077

TAPPET

- valve

8шт.

52

A36853

X

CAMSHAFT - (See Figure 84)

1шт.

53

G11948

KIT

VALVES - exhaust (Set of 4)

1шт.

54

G11947

VALVE

S - intake (Set of 4)

1шт.

55

G11986

KIT

INSERTS - valve seat (Set of 4)

1шт.

56

G11946

GUIDE

S - exhaust valve stem (Set of 4)

1шт.

57

G11945

GUIDE

S - intake spring retainer (Set of 4)

1шт.

58

G11929

LOCK

- valve spring retainer (Set of 4)

4шт.

59

G11927

RETAINER

S - valve spring retainer (Set of 4 w/locks)

2шт.

Выбрано товаров: 58