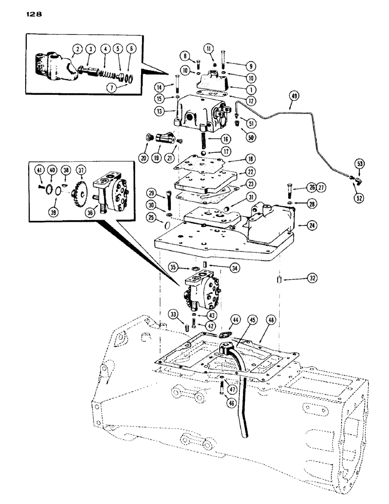
Запчасти Case IH 430 (128) - PUMP AND VALVE ADAPTER, CASE-O-MATIC DRIVE (06) - POWER TRAIN

Схема запчастей Case IH 430 - (128) - PUMP AND VALVE ADAPTER, CASE-O-MATIC DRIVE (06) - POWER TRAIN
37
12
46
1
20
48
33
45
29
36
32
17
44
39
51
2
25
28
30
6
50
53
24
27
26
40
22
13
23
16
49
8
15
43
3
9
4
10
41
18
47
34
14
21
7
42
10
11
19
31
52
5
35
38
FIT
1:1
100%

Артикул

Название

Примечание

Количество

1

A40599

VALVE

- regulator, Includes: Ref. 2 - 7

1шт.

2

NSS

NOT SOLD SEPARAT

HOUSING (Order A40599)

1шт.

3

NSS

NOT SOLD SEPARAT

SPOOL (Order A40599)

1шт.

4

A30106

VALVE SPRING

SPRING

1шт.

5

G16779

CAP

PLUG - end

1шт.

6

A30097

O-RING,0.549" ID x 0.755" OD x 0.103"

"O" RING

1шт.

7

G46150

SNAP RING,0.75", Int, #75

RING - snap, 0.75", Int, #75

1шт.

8

13-628

BOLT,Hex, 3/8" - 16 x 1-3/4", Gr 5

1шт.

9

13-648

BOLT,Hex, 3/8" - 16 x 3", Gr 5

- 3/8 x 3" N.C. hex

1шт.

10

92-6

LOCK WASHER,3/8"

2шт.

11

221-849

PLUG,Hex Soc, 1/8"-27

- pipe, 1/8" hex. socket hd.

1шт.

12

G46824

GASKET

- regulator valve

1шт.

13

G14458

VALVE - control (For repairs see Figure 132)

1шт.

14

13-628

BOLT,Hex, 3/8" - 16 x 1-3/4", Gr 5

2шт.

14

13-648

BOLT,Hex, 3/8" - 16 x 3", Gr 5

- 3/8" x 3" N.C. hex. hd.

2шт.

15

92-6

LOCK WASHER,3/8"

4шт.

16

A29285

SPRING

- detent, valve spool

2шт.

17

211-13

BALL,1/2" Dia

- detent, valve spool 1/2" Dia

2шт.

18

A36294

GASKET

- control valve

1шт.

19

G48005

TEE

FITTING - tee, 1/8" O.D. x 1/2" O.D. x 1/2" P.T., Includes: Ref. 20 and 21

1шт.

20

222-506

TUBE NUT,11/16"-16

NUT - cooling tube, 1/2" O.D.

1шт.

21

222-500

TUBE NUT,5/16" - 24 NPT

NUT - pressure tube, 1/8" O.D.

1шт.

22

G1250

PLATE - oil distribution

1шт.

23

G46822

GASKET

- oil distribution plate

1шт.

24

A37369

SUPPORT

HOUSING - adapter, Includes: Ref. 25

1шт.

25

41-12

PLUG,Exp, 3/4"

- expansion, 3/4" dia.

2шт.

26

13-618

BOLT,Hex, 3/8" - 16 x 1-1/8", Gr 5

1шт.

26

13-626

BOLT,Hex, 3/8" - 16 x 1-5/8", Gr 5

2шт.

27

13-628

BOLT,Hex, 3/8" - 16 x 1-3/4", Gr 5

4шт.

28

92-6

LOCK WASHER,3/8"

7шт.

29

61-628

HEX SOC SCREW,3/8"-16 x 1 3/4"

SCREW - 3/8" x 1-3/4" N.C. hex. socket hd.

1шт.

30

195-401

SEALING WASHER,3/8"

WASHER - sealing, 3/8"

1шт.

31

221-32

PLUG,Sq Soc, 3/8"-18 NPTF

- pipe, 3/8" sq. socket hd.

2шт.

32

G10711

PIN

- dowel, adapter housing rear

1шт.

33

A29426

AXLE PIN

PIN - dowel, adapter housing front

1шт.

34

A11528

PIN,7.81mm OD x 14.29mm L

- dowel, Serial Range: pump-adapter

2шт.

35

A7075

GASKET

GASKET -, Serial Range: pump-adapter

2шт.

36

G45386

PUMP

- drive (For repairs see Figure 132)

1шт.

37

G16798

GEAR

- pump drive

1шт.

38

126-9

WOODRUFF KEY,#3, 1/8" x 1/2"

Gear to pump #3, 1/8" x 1/2"

1шт.

39

G49045

WASHER

- retainer, drive gear

1шт.

40

G46147

SNAP RING,0.625", Int, #62

RING - snap, , pump drive gear 0.625", Int, #62

1шт.

41

165-101

HEX SOC SCREW,Prev Torque, 1/4" - 28 x 3/8"

SCREW - locking, 1/4" x 3/8" hex. socket hd.

1шт.

42

13-618

BOLT,Hex, 3/8" - 16 x 1-1/8", Gr 5

2шт.

43

92-6

LOCK WASHER,3/8"

2шт.

44

A38212

GASKET

- suction tube (Replaces G46823)

1шт.

45

G14135

X

TUBE - suction

1шт.

46

13-520

BOLT,Hex, 5/16" - 18 x 1-1/4", Gr 5

- 5/16" x 1-1/4" N.C. hex. hd.

2шт.

47

92-5

LOCK WASHER,5/16"

2шт.

48

G46818

GASKET

- adapter housing

1шт.

49

G46291

TUBE,0.187" OD x 12.031, 4.375" L

- oil transfer to Trans. case

1шт.

50

222-401

CONNECTOR, ELEC

UNION - tube to valve, 3/16" O.D. x 1/8" P.T., Includes: Ref. 51

1шт.

51

222-501

TUBE NUT,3/8"-24

NUT - union, 3/16" O.D.

1шт.

52

222-431

ELBOW,90 Degree x 1/8" NPT x 3/8"-24

- tube to control cover

1шт.

Выбрано товаров: 54