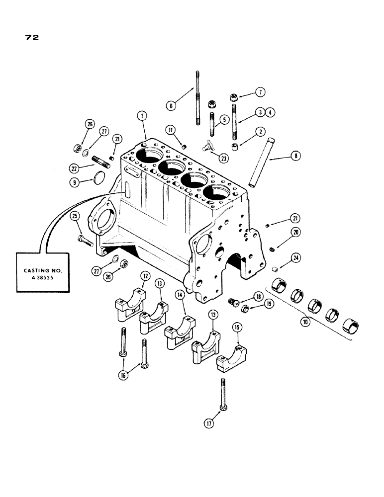
Запчасти Case IH 430 (072) - CYLINDER BLOCK ASSEMBLY, 43O-530, 188, DIESEL ENGINE, FIRST USED ENGINE SERIAL NUMBER 2656844 (02) - ENGINE

Схема запчастей Case IH 430 - (072) - CYLINDER BLOCK ASSEMBLY, 43O-530, 188, DIESEL ENGINE, FIRST USED ENGINE SERIAL NUMBER 2656844 (02) - ENGINE
10
21
11
6
19
18
21
23
17
8
24
3
26
2
5
15
1
27
25
13
7
12
22
20
26
13
16
27
14
4
9
FIT
1:1
100%

Артикул

Название

Примечание

Количество

A42211

BLOCK ASSY. - cyl., short (Casting No. A38535) (incl. crankshaft & brgs, connecting rods & brgs., camshaft, piston assy., oil pump & timing gears), Includes: Ref. 1 - 24

1шт.

1

A41597

SKELETON ENGINE

BLOCK ASSY. - stripped (Casting No. A38535), Includes: Ref. 2 - 21

1шт.

2

G49608

RING

- dowel, cyl., Serial Range: head-block

2шт.

3

A36902

STUD

- cyl. head (1/2" N.C. x 5-5/8")

11шт.

4

A36905

STUD

- cyl. head (1/2" N.C. x 6")

2шт.

5

A36904

STUD

- cyl. head (1/2" N.C. x 4")

4шт.

6

A36903

STUD

- cyl. head & cover

2шт.

7

A37030

FLANGE NUT

- cyl. head stud (1/2" N.C. flanged)

19шт.

8

A37149

TUBE

- oil gauge & filler

1шт.

9

A39241

PLUG,Exp, 2.12" dia

- camshaft hole (2-1/8" exp.)

1шт.

10

A41232

KIT

BUSHING SET - camshaft (Set of 5)

1шт.

11

221-1032

DRAIN PLUG,Sq Soc, 3/8"-18 NPTF

PLUG - 3/8" P.T. sckt. hd.

1шт.

12

A38385

CAP

- main bearing, rear

1шт.

13

G2128

CAP

- main bearing, intermediate

2шт.

14

G2127

CAP

- main bearing, center

1шт.

15

G2126

CAP

- main bearing, front

1шт.

16

113-444

BOLT

- brg. cap (1/2 x 4-1/2" N.C. hex)

8шт.

17

113-445

BOLT

- front brg. cap (1/2 x 5-1/8" N.C. hex.)

2шт.

18

A153552

ADAPTER

- oil filter

1шт.

19

A37207

X

PLUG - adapter (1" cup type)

1шт.

20

G49070

PLUG

- 1/4" P.T., drilled

1шт.

21

217-433

PLUG,Hex Soc, 1/4" - 18 NPTF

2шт.

22

A29333

STUD

- eng. mounting (5/8" N.C./N.F. x 3")

2шт.

23

A23656

COCK, DRAIN

VALVE ASSY. - drain, cyl. block

1шт.

24

A29442

RING

- dowel, timing, Serial Range: cover-block

2шт.

25

A30099

X

BOLT - eng. mounting

2шт.

26

25-1110

NUT,5/8"-18, G5

- (5/8" N.F. hex.)

4шт.

27

193-34

LOCK WASHER,Int Tooth, 5/8"

WASHER, LOCK, (Replaces 92-10) Int Tooth, 5/8"

4шт.

Выбрано товаров: 28