Запчасти Case IH 430 (073A) - CYLINDER BLOCK ASSEMBLY, 188, DIESEL ENGINE, USED ENGINE SERIAL NUMBER 2639536 TO 2656844 (02) - ENGINE

Схема запчастей Case IH 430 - (073A) - CYLINDER BLOCK ASSEMBLY, 188, DIESEL ENGINE, USED ENGINE SERIAL NUMBER 2639536 TO 2656844 (02) - ENGINE
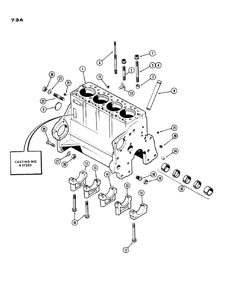
7
27
24
10
1
13
15
22
21
11
23
6
18
20
26
13
5
2
21
8
26
17
27
19
4
25
3
14
12
16
9
FIT
1:1
100%

Артикул

Название

Примечание

Количество

A41596

ENGINE ASSEMBLY

BLOCK ASSY. - cyl., short (Casting No. A37205) (incl. crankshaft & brgs., connecting rods & brgs., camshaft, piston assy., oil pump & timing gears) (Order A42211) (See Figure 72), Includes: Ref. 1 - 24

1шт.

1

A41597

SKELETON ENGINE

BLOCK ASSY. - stripped (Casting No. A37205), Includes: Ref. 2 - 21

1шт.

2

G49608

RING

- dowel, cylinder, Serial Range: head-block

2шт.

3

A36902

STUD

- cyl. head to block (1/2" N.C. x 5-5/8")

11шт.

4

A36905

STUD

- cyl. head to block (1/2" N.C. x 6")

2шт.

5

A36904

STUD

- cyl. head to block (1/2" N.C. x 4")

4шт.

6

A36903

STUD

- cyl. head &, Serial Range: cover-block

2шт.

7

A37030

FLANGE NUT

- cyl. head studs (1/2" N.C. flanged)

19шт.

8

A37149

TUBE

- oil gauge & filler

1шт.

9

A39241

PLUG,Exp, 2.12" dia

- camshaft hole (2-1/8" exp.)

1шт.

10

A41232

KIT

BUSHING SET - camshaft (Set of 5)

1шт.

11

221-1032

DRAIN PLUG,Sq Soc, 3/8"-18 NPTF

PLUG - 3/8" P.T. sckt. hd.

1шт.

12

A38385

CAP

- main bearing, rear

1шт.

13

G2128

CAP

- main bearing, intermediate

2шт.

14

G2127

CAP

- main bearing, center

1шт.

15

G2126

CAP

- main bearing, front

1шт.

16

113-444

BOLT

- brg. cap (1/2 x 4-1/2" N.C. hex.)

8шт.

17

113-445

BOLT

- brg. cap (1/2 x 5-1/8" N.C. hex.)

2шт.

18

A153552

ADAPTER

- oil filter

1шт.

19

A37207

X

PLUG - adapter (1" cup type)

1шт.

20

G49070

PLUG

- drilled, 1/4" P.T.

1шт.

21

217-433

PLUG,Hex Soc, 1/4" - 18 NPTF

2шт.

22

A29333

STUD

- eng. mounting (5/8" N.C./N.F. x 3")

2шт.

23

A23656

COCK, DRAIN

VALVE ASSY. - drain, block

1шт.

24

A29442

RING

- dowel, timing, Serial Range: cover-block

2шт.

25

A30099

X

BOLT - engine mounting

2шт.

26

25-1110

NUT,5/8"-18, G5

- (5/8" N.F. hex.)

4шт.

27

92-10

LOCK WASHER,5/8"

WASHER, LOCK, 5/8"

4шт.

Выбрано товаров: 28