Запчасти Case IH 430 (095A) - FUEL INJECTION SYSTEM, 430-530, 188, DIESEL ENGINE, USED PRIOR TO ENGINE SERIAL NUMBER 2627377 (03) - FUEL SYSTEM

Схема запчастей Case IH 430 - (095A) - FUEL INJECTION SYSTEM, 430-530, 188, DIESEL ENGINE, USED PRIOR TO ENGINE SERIAL NUMBER 2627377 (03) - FUEL SYSTEM
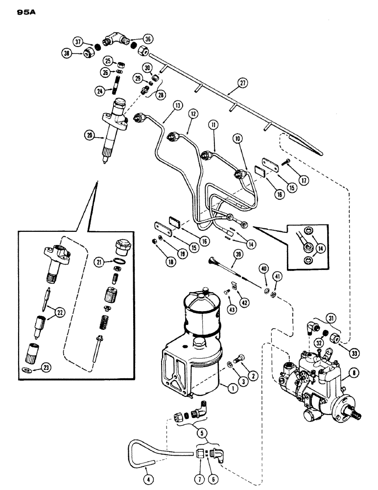
12
16
23
17
3
19
42
5
15
14
36
10
13
16
33
37
41
39
20
40
18
31
25
1
27
21
22
38
11
32
26
14
30
28
4
29
2
24
15
7
8
6
43
FIT
1:1
100%

Артикул

Название

Примечание

Количество

1

A35735

FILTER

ASSY. - fuel (See Figure 98)

1шт.

2

13-514

BOLT,Hex, 5/16" - 18 x 7/8", Gr 5

3шт.

3

92-5

LOCK WASHER,5/16"

3шт.

4

A36566

TUBE

LINE - fuel, Serial Range: filter-pump

1шт.

5

222-47

ELBOW,90 Degree, 5/8"-24 Fem x 1/4"-27 NPTF

ASSY. - 3/8" O.D. x 1/4" P.T., Includes: Ref. 6 and 7

2шт.

6

222-104

SLEEVE,3/8" Tube

- 3/8" Tube

1шт.

7

222-114

NUT,5/8"-24

NUT - 3/8" tube

1шт.

8

G37030

PUMP ASSY. - fuel injection (430) (See Figure 96)

1шт.

8

A35773

PUMP, FUEL INJECTION

PUMP ASSY. - injection (530 w/std. clutch) (See Figure 96)

1шт.

8

A35774

PUMP

ASSY. - injection (530 w/Case-O-Matic) (See Figure 96)

1шт.

10

A35058

TUBE

ASSY. - pump to #1 injector (incl. Ref. 14)

1шт.

11

A35059

TUBE

ASSY. - pump to #2 injector (incl. Ref. 14)

1шт.

12

A35060

TUBE

ASSY. - pump to #3 injector (incl. Ref. 14)

1шт.

13

A35061

TUBE

ASSY. - pump to #4 injector (incl. Ref. 14)

1шт.

14

G49407

WASHER,9.63mm ID x 12.83mm OD x 1.65mm Thk

WASHER - connector screw

2шт.

15

A27978

CLAMP

- injection tube

2шт.

16

A27980

CUSHION

- tube clamp

2шт.

17

173-102

SCREW,Sl Rnd Hd, #10 - 24 x 1"

- clamp, #10-24 x 1" rd. hd.

2шт.

18

129-7

NUT,Hex, #10 - 24

- hex. #10-24

2шт.

19

92-3

LOCK WASHER,#10

WASHER, LOCK, #10

2шт.

20

A49056

NOZZLE CAP

INJECTOR ASSY. - fuel, Includes: Ref. 21 - 23

4шт.

21

G46885

GASKET

- adjusting cap

1шт.

22

NSS

NOT SOLD SEPARAT

NOZZLE - injector

1шт.

23

G49068

GASKET

- seat, injector

1шт.

24

A29431

STUD

- injector to head (3/8" N.C. x 1-3/4")

8шт.

25

25-106

NUT,3/8"-16, G5

- 3/8" N.C. hex.

8шт.

26

92-6

LOCK WASHER,3/8"

8шт.

27

A36511

PIPE

TUBE - manifold, injector leak-off

1шт.

28

222-21

FITTING,7/16"-24 x 1/8" NPTF

Leak-off, Includes Ref. 29 and 30 7/16"-24 x 1/8" NPTF

4шт.

29

222-101

SLEEVE,3/16" Tube

- 3/16" Tube

1шт.

30

222-111

TUBE NUT,7/16" - 24

NUT - 3/8" tube

1шт.

31

222-47

ELBOW,90 Degree, 5/8"-24 Fem x 1/4"-27 NPTF

ASSY. - 3/8" O.D. x 1/4" P.T., Includes: Ref. 32 and 33

1шт.

32

222-104

SLEEVE,3/8" Tube

- 3/8" Tube

1шт.

33

222-114

NUT,5/8"-24

NUT - 3/8" tube

1шт.

36

222-133

ELBOW,90 Degree, 9/16"-24

ASSY. - 5/16" O.D. x 1/8" P.T., Includes: Ref. 37 and 38

1шт.

37

222-103

SLEEVE,5/16" Tube

2шт.

38

222-113

TUBE NUT,9/16"-24

NUT - 5/16" tube

2шт.

39

A38454

CONTROL LEVER

CONTROL ASSY. - fuel shut-off (Replaces A36573)

1шт.

40

193-68

LOCK WASHER,Int Tooth, 3/8"

WASHER, LOCK, Int Tooth, 3/8"

1шт.

41

86585245

SPECIAL NUT,JAM, 5/8" - 18

- control, 3/8" N.F. jam

1шт.

42

A26673

CLIP

- control cable

1шт.

43

193-517

SCREW,SEMS, Hex Hd, 1/4"-20 x 1/2"

BOLT - 1/4 x 1/2" N.C. sems. hex.

1шт.

Выбрано товаров: 42