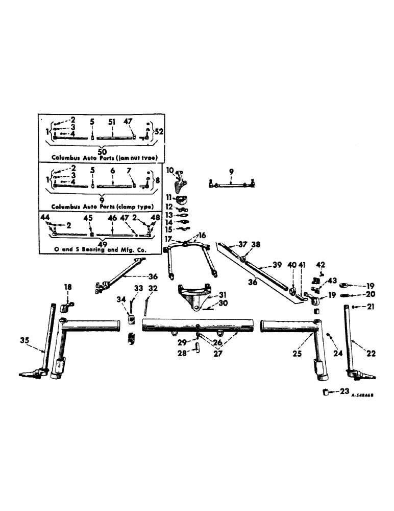
Запчасти Case IH 560 (183) - FRONT AXLE, ADJUSTABLE FRONT AXLE, LOWER BOLSTER, STAY ROD AND STEERING CONNECTIONS (04) - FRONT AXLE
№
Артикул
Название
Примечание
Количество
1
359984R91
ROD
END ASSEMBLY, tie rod (adjustable) composed of, (1) cover 359982R1, (1) end (NSS), (1) nut 359983R1, (1) pin 108643
2шт.
2
374701R1
NUT
tie rod end (O and S bearing and mfg. co.) (optional with 359983R1)
4шт.
2
359983R1
NUT
tie rod end (Columbus auto parts) (optional with 374701R1)
4шт.
PIN, 1/8 x 1-1/4" cotter
4шт.
3
359982R1
COVER
tie rod end dust
4шт.
4
109461
LUBE NIPPLE,1/8"-27 x .66 lg
NIPPLE, LUBE, (Optional with 119512) 1/8"-27 x .66 lg
4шт.
4
LUBE NIPPLE,1/8” – 27 Dryseal PTF
NIPPLE, LUBE, (Optional with 109461) 1/8"-27 x .66 lg
1шт.
5
359986R1
CLAMP
tie rod (tube adjustable end)
2шт.
NUT, 1/2 NF
2шт.
SCREW, 1/2 NF x 2" hex-hd. cap
2шт.
WASHER, 1/2" external-tooth lock
2шт.
6
359980R1
TUBE
tie rod
2шт.
7
359985R1
CLAMP
tie rod (tube threaded end)
2шт.
NUT, 1/2 NF
2шт.
SCREW, 1/2 NF x 2" hex-hd. cap
2шт.
WASHER, 1/2" external-tooth lock
2шт.
8
359981R91
END
ASSEMBLY, tie rod (threaded) composed of, (1) cover 359982R1, (1) end (NSS), (1) nut 359983R1, (1) pin 108643
2шт.
9
359569R91
TIE ROD ASSEMBLY, (Columbus auto parts) (order 382412R91) composed of, (1) clamp 359985R1, (1) clamp 359986R1, (1) end 359981R91, (1) end 359984R91, (2) nut 103028, (2) screw 181435, (1) tube 359980R1, (2) washer 114608
2шт.
10
358970R1
ARM
steering gear
1шт.
SCREW, 3/4 x 1-1/2" hex-hd. cap
3шт.
11
370726R1
SPACER, stay rod ball socket
1шт.
12
365459R1
SOCKET
stay rod ball
1шт.
370727R1
BOLT,Hex, 5/8" x 3 3/4"
SCREW, 5/8 x 3-3/4" hex-hd. cap
1шт.
13
365457R1
SHIM
stay rod ball socket cap
1шт.
14
365456R1
CAP
stay rod ball socket
1шт.
370728R1
BOLT,Hex, 5/8" x 5"
SCREW, 5/8 x 5" hex-hd. cap
2шт.
15
365458R1
CLAMP
PLATE, stay rod ball socket cap lock
1шт.
16
370725R11
STAY ROD ASSEMBLY
1шт.
NUT, 1-3/8 NF jam
2шт.
17
10546D
BALL
stay rod
1шт.
18
358971R1
ARM, steering knuckle
2шт.
NUT, 5/8 NF
2шт.
SCREW, 5/8 NF x 3" hex-hd. cap
2шт.
19
369131R91
THRUST BEARING
steering knuckle pivot thrust
2шт.
20
15943DA
SEALING WASHER,60.33mm ID x 72.23mm OD x 4.76mm Thk
Steering knuckle pivot felt
2шт.
21
40093D
WOODRUFF KEY,#127, 1/4" x 2 1/8", HT
KEY, no. 127 Woodruff (steering knuckle arm)
1шт.
22
370724R91
KNUCKLE ASSEMBLY, steering RH composed of, (1) knuckle 370367R1 (NSS), (1) oil seal 370254R91, (1) pin 358966R1 (NSS), (1) shield 48701D
1шт.
23
358958R2
BUSHING,42.57mm ID x 46.08mm OD x 51.05mm L
steering knuckle pivot pin
4шт.
24
110161
FITTING, 3/16" straight drive type lubrication (steering knuckle pivot pin, lower) (optional with 125617)
2шт.
24
125617
LUBE NIPPLE,3/16" x .61 lg, Drive
FITTING, 3/16" straight drive type lubrication (steering knuckle pivot pin, lower) (optional with 110161)
2шт.
25
370709R11
EXTENSION, w/two bushings, 358958R2 assembly, front axle
2шт.
26
48841D
BUSHING,31.03mm ID x 34.62mm OD x 31.75mm L
front axle pivot pin
2шт.
27
358976R21
FRONT AXLE
AXLE, w/two bushings, 48841D assembly, front (for service replacement of 358976R11 order pin 358978R2 and fitting, 17048R1)
1шт.
28
358978R2
AXLE PIN,31.29mm OD x 217.49mm L
PIN, front axle pivot
1шт.
29
219-8
LUBE NIPPLE,1/4" - 28 NPTF
NIPPLE, LUBE, , Straight (Front axle pivot pin) (Optional with 271287) 501 to 51971 1/4"-28 NPT x .54" lg
1шт.
29
219-8
LUBE NIPPLE,1/4" - 28 NPTF
NIPPLE, LUBE, , Straight (Front axle pivot pin) (Optional with 109454) 501 to 51971 1/4"-28 NPT x .54" lg
1шт.
29
170489R1
FITTING, 1/8" straight lubrication (front axle pivot pin) (optional with 17048R91) 51972 up
1шт.
30
Q3537
HEADED PIN,3/8" x 4 1/8"
PIN, 3/8 x 4-1/8" headed (front axle pivot pin locking)
1шт.
PIN, 1/8 x 3/4" cotter
1шт.
31
358969R2
BOLSTER, lower
1шт.
SCREW, 3/4 x 2-1/2" hex-hd. cap
2шт.
SCREW, 3/4 x 3-1/2" hex-hd. cap
2шт.
32
350557R1
PIN
front axle clamp
2шт.
PIN, 1/4 x 1-1/2" cotter
2шт.
33
350558R1
BOLT
front axle clamp
4шт.
NUT, 3/4 NF
4шт.
34
350556R1
CLAMP
front axle
4шт.
35
370723R91
KNUCKLE ASSEMBLY, steering LH composed of, (1) knuckle 370367R1 (NSS), (1) oil seal 370254R91, (1) pin 358966R1 (NSS), (1) shield 48701D
1шт.
36
358997R91
STAY ROD ASSEMBLY, auxiliary (see note A) composed of, (1) clamp 359003R1, (1) clamp 359004R1, (1) end 359001R1, (1) end 359002R1, (2) nut 103030, (2) screw 271591, (1) tube 358998R1, (2) washer 114609
2шт.
37
359001R1
END, auxiliary stay rod adjustable, for tractors equipped with auxiliary stay rod
2шт.
NUT, 3/4 NF
2шт.
SCREW, 3/4 NF x 2-1/2" hex-hd. cap
2шт.
WASHER, 3/4" lock
2шт.
38
359003R1
CLAMP
auxiliary stay rod (adjustable end) for tractors equipped with auxiliary stay rod
2шт.
NUT, 5/8 NF
2шт.
SCREW, 5/8 NF x 3" hex-hd. cap
2шт.
WASHER, 5/8" external (tooth lock
2шт.
39
358998R1
TUBE, auxiliary stay rod for tractors equipped with auxiliary stay rod
2шт.
40
359004R1
CLAMP
auxiliary stay rod (threaded end) for tractors equipped with auxiliary stay rod
2шт.
NUT, 5/8 NF
2шт.
SCREW, 5/8 NF x 3" hex-hd. cap
2шт.
WASHER, 5/8" external-tooth lock
2шт.
41
359002R1
END, threaded, auxiliary stay rod for tractors equipped with auxiliary stay rod
1шт.
NUT, 3/4 NF
2шт.
SCREW, 3/4 NF x 2-1/2" hex-hd. cap
2шт.
WASHER, 3/4" lock
2шт.
42
359006R1
BOLT
BOLT, auxiliary stay rod mounting, front for tractors equipped with auxiliary stay rod
8шт.
NUT, 1/2 NF
8шт.
WASHER, 1/2" lock
8шт.
43
359005R1
BRACKET, auxiliary stay rod mounting front for tractors equipped with auxiliary stay rod
4шт.
44
375618R91
END ASSEMBLY, tie rod (adjustable)
2шт.
45
375620R1
CLAMP
tie rod
2шт.
NUT, 1/2 NF
2шт.
SCREW, 1/2 NF x 2-1/2" cap
2шт.
WASHER, 1/2" lock
2шт.
WASHER, 17/32 x 1-1/16" x .095 ga
2шт.
46
375619R1
TUBE, tie rod 0.948 - 1.06" ID, .333" OD, 16.75" Length
2шт.
47
374062R1
JAM NUT
NUT, jam
2шт.
48
384006R91
END
ASSEMBLY, tie rod (threaded)
2шт.
49
375615R91
TIE ROD ASSEMBLY, (O and S bearing and mfg. co.) (optional with 382412R91)
2шт.
50
382412R91
ROD
TIE ROD ASSEMBLY, (Columbus auto parts) (optional with 375615R91)
2шт.
51
382413R1
TUBE, tie rod 0.937" ID, .333" OD, 16.812" Length
2шт.
52
382414R91
END
ASSEMBLY, tie rod (RH thread) composed of, (1) cover 359982R1, (1) end (NSS), (1) nut 359983R1
2шт.
358996R91
PARTS ACCESSORY, auxiliary stay rod (consists of 2 each ref. nos. 37 thru 43)
1шт.
Выбрано товаров: 94