Запчасти Case IH 600-SERIES (062) - FAN AND WATER PUMP ASSEMBLY (02) - ENGINE

Схема запчастей Case IH 600-SERIES - (062) - FAN AND WATER PUMP ASSEMBLY (02) - ENGINE
FIT
1:1
100%

Артикул

Название

Примечание

Количество

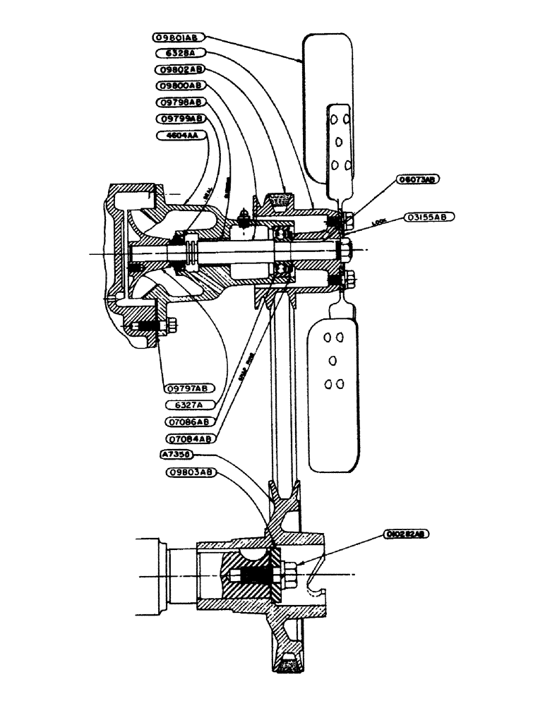
A7350

PULLEY - fan drive, on crankshaft

1шт.

NLS

NO LONGER SERVICED

PUMP - water, less fan pulley

1шт.

6326A

BODY - water pump (Use 4604AA)

1шт.

6327A

IMPELLER - water pump

1шт.

6328A

PULLEY - fan driven, upper

1шт.

O3155AB

X

LOCK - water pump shaft nut

1шт.

O6073AB

X

KEY - water pump and fan shaft

1шт.

O7084AB

X

SNAP RING - to retain water pump and fan shaft bearing

1шт.

O7086AB

X

BEARING - (N.D. 8604) water pump and fan shaft

1шт.

O8651AB

X

KEY - Woodruff, fan drive pulley

1шт.

O9797AB

GASKET

- water pump body

1шт.

O9798AB

X

BUSHING - water pump body

1шт.

O9799AB

SEAT - water pump

1шт.

O9800AB

X

SHAFT - water pump and fan

1шт.

5/8" N.F. LIGHT HEX. JAM NUT

1шт.

O9801AB

FAN BLADE ASSEMBLY

1шт.

3/8" X 3/4" N.C. HEX. HD. CAP SCREW W/LOCKWASHER

4шт.

O9802AB

BELT

- fan and generator

1шт.

O9803AB

X

WASHER - lower fan drive pulley

1шт.

O10282AB

X

CAP SCREW - lower fan drive pulley, Serial Range: washer-crankshaft

1шт.

5/8" STD. LOCKWASHER

1шт.

4604AA

BODY - water pump, with bushing

1шт.

3/8" X 1-1/8" N.C. HEX. HD. CAP SCREW W/LOCKWASHER

3шт.

Выбрано товаров: 0