Запчасти Case IH 630 (053) - WARNING LAMP ATTACHMENT (04) - ELECTRICAL SYSTEMS

Схема запчастей Case IH 630 - (053) - WARNING LAMP ATTACHMENT (04) - ELECTRICAL SYSTEMS
14
20
7
21
10
18
8
8
12
6
13
11
17
9
16
25
19
15
3
6
2
26
4
5
7
22
2
24
27
1
23
FIT
1:1
100%

Артикул

Название

Примечание

Количество

A11066M

LAMP warning Att. (includes ref. 1 - 15)

1шт.

NSS

NOT SOLD SEPARAT

LAMP warning - (includes 1 - 14)

1шт.

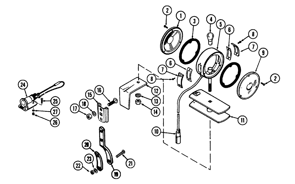
1

B50325

X

LENS - red

1шт.

2

169-61

SCREW - #6-32 x 1/2" rd. hd.

6шт.

3

B50317

GASKET - lens

2шт.

4

33686

BULB

- 21 C.P. - 12 volt (Mfrs. #1141)

1шт.

5

NSS

NOT SOLD SEPARAT

BODY

1шт.

6

B50329

GASKET - side lens

2шт.

7

B50328

LENS - side

2шт.

8

182-161

SCREW - #6 x 5/16" pan hd.

4шт.

9

B50324

X

LENS - amber

1шт.

10

B50259

PLUG

ASSEMBLY

1шт.

11

B50330

SPOOL ASSEMBLY

1шт.

12

B50331

BRACKET - mounting

1шт.

13

25-107

NUT,7/16"-14, G5

- 7/16" N.C. hex

1шт.

14

92-7

LOCK WASHER,7/16"

std. 7/16"

1шт.

15

A8179

SOCKET

- mounting

1шт.

16

11-510

SCREW,Short Nk, 5/16" - 18 x 5/8", Gr 2

BOLT, 5/16" x 5/8" rd. hd. sq. nk.

2шт.

17

9635082

NUT,5/16" - 18, Gr 5

5/16" N.C. hex

2шт.

18

92-5

LOCK WASHER,5/16"

LOCKWASHER - std. 5/16"

2шт.

19

G10877

SUPPORT - warning lamp

1шт.

20

G10878

REINFORCEMENT - fender

1шт.

21

75-412

SCREW,Rd, 1/4" x 3/4"

1/4" x 3/4" rd. hd.

2шт.

22

25-104

NUT,1/4"-20, G5

2шт.

23

92-4

LOCK WASHER,1/4"

WASHER, LOCK, 1/4"

2шт.

24

A8170

SOCKET

- electrical outlet

1шт.

25

173-97

SCREW,Sl Rnd Hd, #10 - 24 x 1/2"

#10-24 x 1/2" rd. hd.

2шт.

26

129-7

NUT,Hex, #10 - 24

- hex #10-24

2шт.

27

92-3

LOCK WASHER,#10

WASHER, LOCK, #10

2шт.

Выбрано товаров: 29