Запчасти Case IH 700 (144) - STEERING WHEEL AND SHAFTS, STEERING WHEEL AND COLUMN, FOR ALL BUT ORCHARD TRACTORS (06) - POWER TRAIN

Схема запчастей Case IH 700 - (144) - STEERING WHEEL AND SHAFTS, STEERING WHEEL AND COLUMN, FOR ALL BUT ORCHARD TRACTORS (06) - POWER TRAIN
FIT
1:1
100%

Артикул

Название

Примечание

Количество

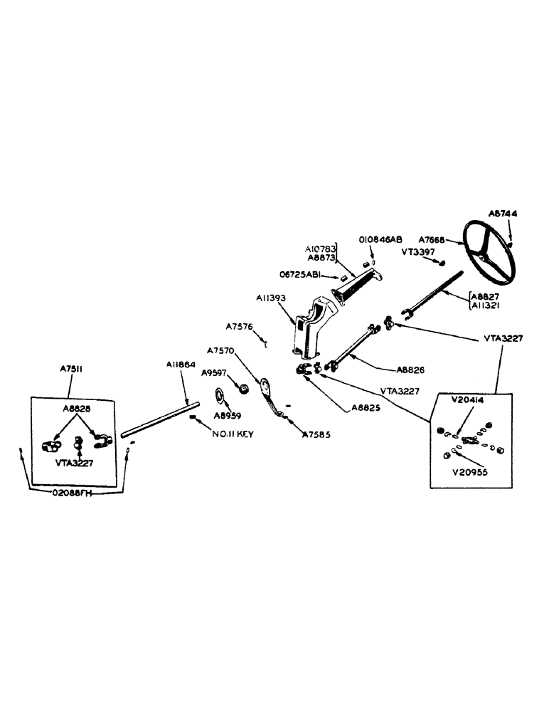
A7576

STUD, steering column and fuel tank support

3шт.

NSS

NOT SOLD SEPARAT

1/2" N.F. hex nut and lockwasher

3шт.

A7668

WHEEL

steering, Serial Range: (prior-SN8140001)

1шт.

A8744

NUT

acorn, steering wheel, Serial Range: (prior-SN8140001)

1шт.

A8872

COLUMN (use A8873)

1шт.

A8873

COLUMN, steering shaft, with 2 - 06725AB1 bushings

1шт.

NSS

NOT SOLD SEPARAT

1/8" str. Lincoln fitting no. 5000

2шт.

NSS

NOT SOLD SEPARAT

1/2" x 1-3/4" N.C. hex bolt w/lockwasher (diesel)

1шт.

NSS

NOT SOLD SEPARAT

1/2" x 1-1/4" N.C. hex bolt w/lockwasher (diesel)

2шт.

NSS

NOT SOLD SEPARAT

1/2" x 1-1/4" N.C. hex bolt w/lockwasher (gasoline)

3шт.

A11393

SUPPORT, steering column and fuel tank

1шт.

A20449

EMBLEM CASE/IH

MEDALLION, steering wheel (mech. steering) (on A20456)

1шт.

A20456

WHEEL (STEERING)

WHEEL, steering (SN8140001 and after)

1шт.

NSS

NOT SOLD SEPARAT

3/4" hex jam nut

1шт.

A20475

CAP

MEDALLION, power steering (on A20456)

1шт.

O6725AB1

X

BUSHING, steering shaft column

2шт.

O10846AB

X

OIL SEAL, steering shaft column

1шт.

O10984AB

X

"O" RING, steering wheel medallion (SN8140001 and after)

1шт.

VT3397

KEY, Woodruff, steering wheel to shaft, Serial Range: (prior-SN8140001)

1шт.

A7511

JOINT

universal, steering worm shaft, and wheel, for Orchard tractors

1шт.

A7576

STUD, steering column and fuel tank support, wheel and shaft, for Orchard tractors

3шт.

NSS

NOT SOLD SEPARAT

1/2" N.F. hex nut and lockwasher, steering wheel and shaft, for Orchard tractors

3шт.

A7668

WHEEL

steering, and shaft, for Orchard tractors

1шт.

A8744

NUT

acorn, steering wheel, and shaft, for Orchard tractors

1шт.

A8959

RETAINER

CAP, steering shaft bearing support, and wheel, for Orchard tractors

2шт.

NSS

NOT SOLD SEPARAT

1/4" x 1" N.F. hex bolt w/nut and lockwasher (zinc plated), steering wheel and shaft, for Orchard tractors

4шт.

A9597

BALL

steering shaft bearing, and wheel, for Orchard tractors

1шт.

NSS

NOT SOLD SEPARAT

1/8" 45 deg. Lincoln fitting #5200, steering wheel and shaft, for Orchard tractors

1шт.

A10782

COLUMN, steering shaft (use A10783), and wheel, for Orchard tractors

1шт.

A10783

COLUMN, steering shaft, with 2 - 06725AB bushings, and wheel, for Orchard tractors

1шт.

NSS

NOT SOLD SEPARAT

1/8" Str. Lincoln fitting #5000, steering wheel and shaft, for Orchard tractors

2шт.

NSS

NOT SOLD SEPARAT

1/2" x 1-3/4" N.C. hex bolt w/lockwasher (diesel), steering wheel and shaft, for Orchard tractors

1шт.

NSS

NOT SOLD SEPARAT

1/2" x 1-1/4" N.C. hex bolt w/lockwasher (diesel), steering wheel and shaft, for Orchard tractors

2шт.

NSS

NOT SOLD SEPARAT

1/2" x 1-1/4" N.C. hex bolt w/lockwasher (gasoline), steering wheel and shaft, for Orchard tractors

3шт.

A11321

SHAFT, steering wheel, for Orchard tractors

1шт.

NSS

NOT SOLD SEPARAT

No. 11 Woodruff key, steering wheel and shaft, for Orchard tractors

1шт.

A11393

SUPPORT, steering column and fuel tank, wheel and shaft, for Orchard tractors

1шт.

O6725AB

X

BUSHING, steering shaft column, and wheel, for Orchard tractors

2шт.

O2088FH

X

ROLL PIN, for universal joint (3/16" x 1-3/8"), steering wheel and shaft, for Orchard tractors

2шт.

VT3397

KEY, Woodruff, steering wheel to shaft, for Orchard tractors

1шт.

A8825

YOKE, steering shaft, clamp type, wheel, (Blood Bros. joint)

1шт.

NSS

NOT SOLD SEPARAT

3/8" x 1-3/4" N.C. hex bolt w/hex nut and lockwasher, steering wheel shaft, (Blood Bros. joint)

1шт.

A8826

SHAFT AND YOKES, (17-5/8" to center of yokes), steering wheel, (Blood Bros. joint)

1шт.

A8827

SHAFT, steering wheel, includes yoke for upper joint (prior to SN8140001), (Blood Bros. joint)

1шт.

A20683

SHAFT, steering wheel, includes yoke for upper joint (prior to SN8140001), (Blood Bros. joint)

1шт.

A20684

KIT

universal joint spider and bearing (includes 1 spider, 4 bearings, 4 - V20414 and 4 - V20955), steering wheel shaft, (Blood Bros. joint)

1шт.

V20414

WASHER, cork, for universal joint cross (see VTA3227), steering wheel shaft, (Blood Bros. joint)

8шт.

V20955

X

SNAP RING, universal joint cross (see VTA3227), steering wheel shaft, (Blood Bros. joint)

8шт.

VTA3227

X

Universal joint spider and bearing kit (includes 1 spider, 4 bearings, 4 - V20414 and 4 - V20955), steering wheel shaft, (Blood Bros. joint)

1шт.

A7511

JOINT

universal, steering worm shaft, and lower, for General Purpose and High Clearance tractors

1шт.

NSS

NOT SOLD SEPARAT

No. 11 Woodruff key, steering shaft and lower universal joint, for General Purpose and High Clearance tractors

2шт.

A7570

SUPPORT, steering shaft bearing, and lower universal joint, for General Purpose and High Clearance tractors

1шт.

NSS

NOT SOLD SEPARAT

1/2" x 1-1/4" N.C. hex bolt w/lockwasher, steering shaft and lower universal joint, for General Purpose and High Clearance tractors

1шт.

NSS

NOT SOLD SEPARAT

5/8" x 1-1/4" N.C. hex bolt w/lockwasher, steering shaft and lower universal joint, for General Purpose and High Clearance tractors

1шт.

A7585

WASHER, spacer, steering shaft bearing support, and lower universal joint, for General Purpose and High Clearance tractors

2шт.

A8959

RETAINER

CAP, steering shaft bearing support, and lower universal joint, for General Purpose and High Clearance tractors

1шт.

NSS

NOT SOLD SEPARAT

#10 - 32 x 5/8" N.F. rhd. mach. screw w/hex nut and lockwasher, steering shaft and lower universal joint, for General Purpose and High Clearance tractors

4шт.

A9597

BALL

steering shaft bearing, and lower universal joint, for General Purpose and High Clearance tractors

1шт.

NSS

NOT SOLD SEPARAT

1/8" - 45 deg Lincoln fitting no. 5200, steering shaft and lower universal joint, for General Purpose and High Clearance tractors

1шт.

A11864

SHAFT, intermediate steering, and lower universal joint, for General Purpose and High Clearance tractors

1шт.

NSS

NOT SOLD SEPARAT

NO. 11 Woodruff key, steering shaft and lower universal joint, for General Purpose and High Clearance tractors

1шт.

O2088FH

X

ROLL PIN, for A7511 universal joint (3/16" x 1-3/8"), lower, and steering shaft, for General Purpose and High Clearance tractors

2шт.

A8828

YOKE, universal joint (plain), parts for A7511 lower

2шт.

NSS

NOT SOLD SEPARAT

No. 11 Woodruff key, parts for A7511 lower universal joint

2шт.

V20414

WASHER, cork (see VTA3227), parts for A7511 lower universal joint

4шт.

V20955

X

SNAP RING (see VTA3227), parts for A7511 lower universal joint

4шт.

VTA3227

X

Universal joint spider and bearing kit (includes 1 spider, 4 bearings, 4 - V20414 and 4 - V20955), parts for A7511 lower

1шт.

Выбрано товаров: 67