Запчасти Case IH 700 (024) - POWRDYNE GAS ENGINE, THROTTLE CONTROLS (02) - ENGINE

Схема запчастей Case IH 700 - (024) - POWRDYNE GAS ENGINE, THROTTLE CONTROLS (02) - ENGINE
FIT
1:1
100%

Артикул

Название

Примечание

Количество

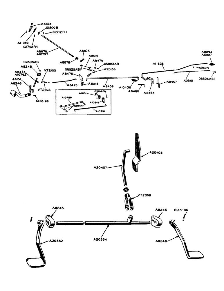
14-512

BOLT,Hex, 5/16" - 24 x 3/4", Gr 5, Full Thd

(Used on A8457) Hex, 5/16"-24 x 3/4", G5, Full Thd

2шт.

NSS

NOT SOLD SEPARAT

5/16" N.F. hex nut w/lockwasher

2шт.

138-96

LOCK PIN,3/16" x 1", Slotted

PIN, , For A8246 and A20552 3/16" x 1", Slotted

2шт.

A7294

SPRING

governor (700 only)

1шт.

A8016

ROD

throttle lever ball joint (1/4" x 1-7/16")

1шт.

A8018

STEP BOLT

STUD, A8476 lever

1шт.

A8029

COLLAR, throttle front rod stop

1шт.

NSS

NOT SOLD SEPARAT

1/4" x 3/8" N.C. sq. hd. cup pt. set screw

1шт.

A8151

SUPPORT, foot throttle shaft (units with no. L.H. foot throttle only)

1шт.

NSS

NOT SOLD SEPARAT

1/2" x 2-3/4" N.C. hex bolt

1шт.

A8245

SUPPORT, foot throttle shaft bearing, L.H. (use in lieu of A8151 for L.H. throttle)

2шт.

NSS

NOT SOLD SEPARAT

1/2" x 2-3/4" N.C. hex bolt

2шт.

A8246

PEDAL, foot throttle (all but orchard models)

1шт.

A8454

LEVER, throttle control, front

1шт.

NSS

NOT SOLD SEPARAT

5/16" Lincoln drive fitting #5030

1шт.

A8457

PIVOT, throttle control front lever

1шт.

A8459

ROD, throttle control, rear

1шт.

NSS

NOT SOLD SEPARAT

3/32" x 3/4" cotter pin

1шт.

A8460

LINK, throttle rear rod adjusting

1шт.

NSS

NOT SOLD SEPARAT

3/8" N.F. hex nut

2шт.

NSS

NOT SOLD SEPARAT

3/32" x 3/4" cotter pin (for A8460 and A11753)

2шт.

A8474

SHAFT, foot throttle and lever (all but Orchard models and treadle clutch)

1шт.

A8475

ROD, foot throttle control (prior to SN8130133) (use of A20407 and A20408)

1шт.

NSS

NOT SOLD SEPARAT

1/16" x 1/2" cotter pin (for A8475 and VT2105)

2шт.

NSS

NOT SOLD SEPARAT

1/4" fin. hex nut N.F. (for A8475 and 08525AB1)

2шт.

A8476

LEVER, foot throttle control rod, upper (prior to SN8130133) (use A20407 and A20408)

1шт.

A8477

LEVER, throttle rods intermediate

1шт.

A8479

STUD, throttle control bellcrank and intermediate lever

1шт.

NSS

NOT SOLD SEPARAT

3/8" plain washer

1шт.

A8874

LEVER, hand, throtle control

1шт.

A8875

LEVER

throttle, lower end of A8878 shaft

1шт.

NSS

NOT SOLD SEPARAT

1/4" x 3/4" N.C. sq. hd. cup pt. set screw w/hex. jam nut

1шт.

A8876

SPRING

throttle hand lever, on A8878 shaft

1шт.

A8878

SHAFT, throttle control (in steering column) (all but orchard models)

1шт.

NSS

NOT SOLD SEPARAT

1/2" N.F. hex jam nut

2шт.

NSS

NOT SOLD SEPARAT

1/2" PLAIN WASHER

1шт.

A8894

SPRING, governor (800) (see A10617)

1шт.

A9515

ROD, governor, Serial Range: lever-carburetor

1шт.

NSS

NOT SOLD SEPARAT

1/16" x 1/2" cotter pin

1шт.

NSS

NOT SOLD SEPARAT

#10 hex mach. screw nut

1шт.

A10318

LEVER, end, foot throttle cross shaft (orchard tractors only)

1шт.

A10436

VALVE SPRING

SPRING, foot throttle return

1шт.

NSS

NOT SOLD SEPARAT

3/32" x 1" cotter pin

1шт.

A10617

SPRING

governor lever to carburetor (700 only)

1шт.

A10789

PEDAL, throttle, foot (orchard tractors only)

1шт.

A10791

ROD, throtle, foot (Orchard tractors only)

1шт.

A10792

SHAFT, cross, foot throttle (Orchard tractors only)

1шт.

A10793

SHAFT, hand lever, throttle (Orchard tractors only)

1шт.

A11753

SHAFT, governor, with lever and finger

1шт.

A11825

ROD, throttle front

1шт.

NSS

NOT SOLD SEPARAT

3/32" x 5/8" cotter pin

1шт.

NSS

NOT SOLD SEPARAT

5/16" plain washer

1шт.

A11969

GASKET

DISC, throttle friction

1шт.

A20168

BELLCRANK, throttle control

1шт.

A20341

SCREW, adjusting, throttle control idle stop

1шт.

NSS

NOT SOLD SEPARAT

1/4" N.C. hex jam nut

1шт.

A20407

ROD, throttle control (SN8130133 and after) (use w/A20408)

1шт.

A20408

LEVER, throttle control rod (SN8130133 and after) (use w/A20407)

1шт.

A20552

PEDAL, foot throttle, L.H. (for use w/treadle clutch)

1шт.

A20554

SHAFT, foot throttle and lever (for use w/treadle clutch)

1шт.

O5883AB

WASHER, spring, for A8018 and A8479 studs

2шт.

O8525AB1

X

JOINT, ball, throttle bellcrank

2шт.

NSS

NOT SOLD SEPARAT

1/4" std. lockwasher

2шт.

O8526AB1

X

JOINT, ball, governor lever

1шт.

NSS

NOT SOLD SEPARAT

No. 10 std. lockwasher

1шт.

O9608AB

X

"E" RING, retaining, foot throttle shaft

1шт.

O1509B

WASHER, throttle lever friction disc

1шт.

O2114FH

X

ROLL PIN, 1/8" x 1" (2 on A10789 - 1 on A10318) (Orchard only)

3шт.

O2712FH

X

ROLL PIN, for throttle control hand lever (5/32" x 3/4")

1шт.

O2742FH

X

ROLL PIN, throttle control hand lever idle stop (1/4" x 3/4")

2шт.

VT2105

X

PIN, foot throttle control rod clevis yoke

1шт.

VT2398

X

YOKE, foot throttle control rod clevis

1шт.

Выбрано товаров: 72