Запчасти Case IH 706 (A-12) - CHASSIS, RADIATOR AND SHEET METAL, FENDERS AND PLATFORM, FARMALL TRACTORS Chassis, Radiator & Sheet Metal

Схема запчастей Case IH 706 - (A-12) - CHASSIS, RADIATOR AND SHEET METAL, FENDERS AND PLATFORM, FARMALL TRACTORS Chassis, Radiator & Sheet Metal
9
11
13
11
10
8
7
9
10
2
5
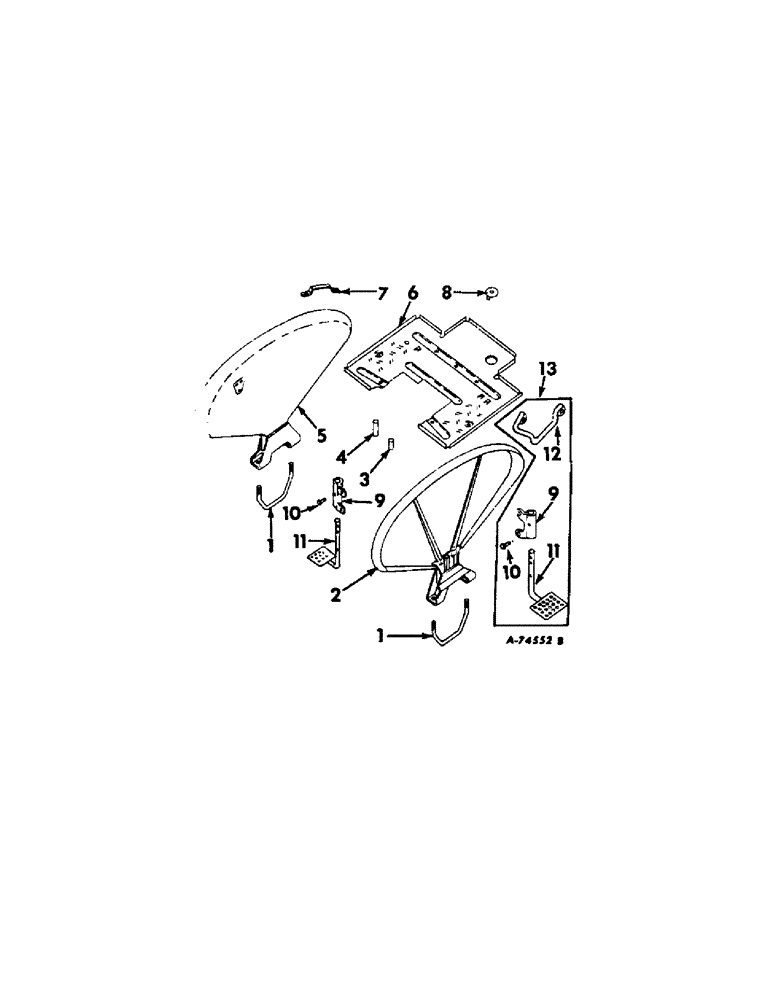
1
1
6
4
12
3
FIT
1:1
100%

Артикул

Название

Примечание

Количество

1

379376R1

BOLT,3/4" - 10 x 8.50" W x 7.50" L

U-BOLT, fender mounting

2шт.

388932R92

PARTS ACCESSORY, Deluxe fenders w/adjustable lights

1шт.

NSS

NOT SOLD SEPARAT

Refer to electric wiring for deluxe flat top fenders listing, section G

1шт.

220081

NUT

3/4-10 hex

4шт.

2

379373R91

FENDER ASSY, RH

1шт.

3

379718R1

SPACER,1/2" X-Strng Pipe x 1.281"

platform

4шт.

4

51852H

SPACER

platform

2шт.

5

379372R91

FENDER ASSY, LH

1шт.

6

379716R2

PLATFORM, rear frame

1шт.

179847

BOLT,Hex, 3/8" - 16 x 2", Gr 5

4шт.

187491

BOLT,Hex, 3/8" - 16 x 5 1/2", Gr 5

SCREW, 3/8-16 x 5-1/2 hex-hd cap

2шт.

Q1597

WASHER

13/32 x 3/4 x 16 ga.

2шт.

7

377814R1

HANDLE, fender

1шт.

102635

NUT,3/8"-16, G5

2шт.

179838

BOLT,Hex, 3/8" - 16 x 7/8", Gr 5, Full Thd

3/8-16 x 7/8 hex-hd cap

2шт.

446211

WASHER, 7/16 x 7/8 x .065

2шт.

8

384362R11

COVER ASSY, platform plug, Serial Range: 501-9411

1шт.

9

379719R1

BRACKET, mounting step

1шт.

271565

SHIELD,Hex, 5/8" - 11 x 2 3/4", Gr 5

SCREW, 5/8-11 x 2-3/4 hex-hd cap

1шт.

103325

LOCK WASHER,5/8"

WASHER, LOCK, 5/8"

1шт.

384317R1

SCREW, 5/8-11 x 2-3/4 12 PT-HD cap

1шт.

114609

LOCK WASHER,Ext Tooth, 5/8"

WASHER, LOCK, Ext Tooth, 5/8"

1шт.

10

20250R1

PIN, 3/16 x 2-1/4 rod end

1шт.

NLS

NO LONGER SERVICED

PIN, 1/16 x 1/2 cot.

1шт.

11

379720R21

STEP

ASSY, mounting

1шт.

12

394820R1

HANDLE

operator mounting assist

1шт.

9635884

BOLT,Hex, 5/16" - 18 1", Full Thd, Gr 5

5/16-18 x 1 C-Z hex-hd cap

1шт.

180081

BOLT,Hex, 5/16"-18 x 1 1/4", G5

1шт.

13

394818R1

PARTS ACCESSORY, RH side operator mounting

1шт.

Выбрано товаров: 0