Запчасти Case IH DV-SERIES (155) - HYDRAULIC SINGLE AND DUAL CONTROL UNIT, DUAL VALVE AND PUMP ASSEMBLY (08) - HYDRAULICS

Схема запчастей Case IH DV-SERIES - (155) - HYDRAULIC SINGLE AND DUAL CONTROL UNIT, DUAL VALVE AND PUMP ASSEMBLY (08) - HYDRAULICS
FIT
1:1
100%

Артикул

Название

Примечание

Количество

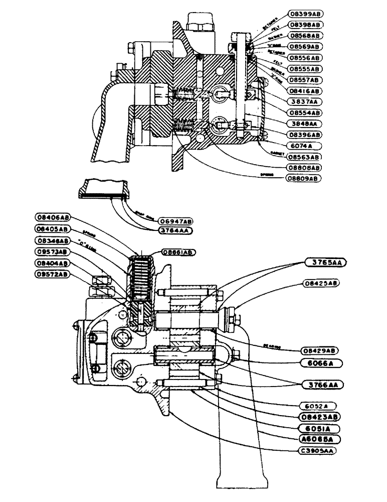
B6071A

BODY (Use C3905aa)

1шт.

6072A

X

HEAD - R.H., hydraulic dual valve

1шт.

SCREW - 3/8" x 1-1/4" hex. hd. cap, N.C. thread

1шт.

SCREW - 3/8" x 1-3/4" hex hd. cap, N.C. thread

3шт.

WASHER - 3/8" std. lock

4шт.

6073A

HEAD - L.H., hydraulic dual valve

1шт.

SCREW - 3/8" x 2-3/4" hex. hd. cap, N.C. thread

4шт.

WASHER - 1/4" std. lock

4шт.

6074A

X

CAP - hydraulic dual valve body

1шт.

SCREW - 1/4" x 3/4" rhd. machine

4шт.

WASHER - 1/4" std. lock

4шт.

O7210AB

X

BALL - hydraulic valve return (1/2" dia.)

4шт.

O8296AB

X

BALL - valve outlet (5/8" dia.)

4шт.

O8377AB

X

"O" RING - outlet ball check

4шт.

O8394AB

X

SPOOL - hydraulc valve

2шт.

O8396AB

X

ARM - spool shifter, small. (See O8554AB)

1шт.

SCREW - 1/4" x 3/4" filllister hd. mach., N.F. thread

1шт.

WASHER - 1/4" std. lock

1шт.

O8555AB

X

WASHER - felt, spool shifter shaft, lower (See O8399AB)

1шт.

O8556AB

X

RETAINER - spool shifter shaft lower felt washer (See O8399AB)

1шт.

O8557AB

X

WASHER - spool shifter shaft seal, for O8555AB felt

1шт.

O8563AB

GASKET - body cap

1шт.

O8564AB

X

GASKET - valve head, R.H.

1шт.

O8565AB

X

GASKET - valve head, L.H.

1шт.

O8568AB

X

WASHER - spool shifter seal, for O8398AB felt

1шт.

O8569AB

X

"O" RING - spool shifter shaft, upper

1шт.

O8635AB

X

BALL - relief valve (1/4 dia.)

2шт.

O8734AB

X

SPRING - outlet ball check

4шт.

O8808AB

PLUNGER - spool

2шт.

O8809AB

X

SPRING - spool plunger

2шт.

3769AA

X

ADAPTER - swivel angle

3шт.

3837AA

X

SHAFT AND LEVER - spool shifter, lower

1шт.

3848AA

LEVER

SHAFT AND LEVER - spool shifter, upper

1шт.

A3850AA

VALVE (Use 4202AA)

1шт.

C3905AA

1шт.

BODY - hydraulic dual valve (Used regular on late tractors and as a replacement for 6071A, A6071A, B6071A) (Consists of: 1 - B6071A, 1 - O84346AB, 1 - O8404AB, 1 - 8405AB, 1 - O8406AB, 4 - O8409AB, 1 - O9572AB, 1 - O9573AB and 5 - 1/8" head pipe plugs)

1шт.

SCREW - 1/2" x 1-1/2" hex. hd. cap, N.C. thread

4шт.

WASHER - 1/2" std. lock

4шт.

4202AA

VALVE - hydraulic dual, with 15 gal. per minute hydraulic pump assembly and cylinder speed regulator (See 4551AA)

1шт.

4551AA

VALVE - hydraulic dual, with 20 gal. per minute hydraulic pump assembly (See 4202AA)

1шт.

Выбрано товаров: 40