Запчасти Case IH INTERNATIONAL (08-35) - ELECTRICAL STARTING AND LIGHTING SYSTEM, 12 VOLT, CUB TRACTORS WITH SERIAL NO. 239827 TO 248124 (06) - ELECTRICAL

Схема запчастей Case IH INTERNATIONAL - (08-35) - ELECTRICAL STARTING AND LIGHTING SYSTEM, 12 VOLT, CUB TRACTORS WITH SERIAL NO. 239827 TO 248124 (06) - ELECTRICAL
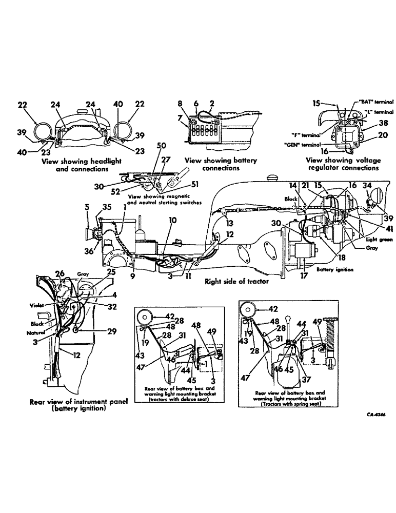
18
48
45
50
4
40
35
13
49
6
40
28
25
31
9
48
17
22
45
24
21
10
27
20
34
28
24
8
31
52
7
11
31
39
16
16
15
51
47
1
41
31
26
43
29
3
22
12
48
38
23
43
12
42
39
3
2
49
30
47
37
1
36
28
19
42
3
3
46
19
14
32
23
39
44
30
5
46
15
44
28
FIT
1:1
100%

Артикул

Название

Примечание

Количество

1

363500R1

CLIP

STRAP, cable wrapping

1шт.

2

547143R1

CABLE

W/BOLT, 356062R91, boot, 364910R1, battery to magnetic switch

1шт.

356062R91

BOLT

ASSY, terminal

1шт.

364910R1

BOOT

terminal

1шт.

3

387312R91

HARNESS

CABLE ASSY, rear light

1шт.

4

60736C2

SWITCH

ASSY, battery to ignition key

1шт.

131313C1

KEY, IGNITION

KEY, switch

1шт.

365502R1

NUT

switch mounting

1шт.

375431R1

LOCK WASHER

switch mounting

1шт.

5

121846C91

LIGHT

ASSY, tail, replaces 376850R91, for components see list of parts under details of tail light

1шт.

109084

NUT,1/4"-20, G5

2шт.

103319

LOCK WASHER,1/4"

WASHER, LOCK, 1/4"

2шт.

6

52118D

GROMMET

battery box

1шт.

7

IHPR20H

DRY BATTERY

12 volt

1шт.

8

629029R92

NEG BATTERY CABLE

STRAP W/BOLT, 356062R91, Serial Range: battery-ground

1шт.

120512HX

BOLT AND NUT,Sq Hd, 5/16" - 18 x 1 3/8", W/Hex Nut

BOLT ASSY, terminal

1шт.

9

371035R1

CLIP

cable, underneath platform

1шт.

10

371036R1

CLIP

third bolt from rear, underneath platform

1шт.

11

363500R1

CLIP

STRAP, cable wrapping, between pedal and clutch housing

1шт.

12

363504R1

CLIP, inside right side fuel tank support

1шт.

103088

NUT,#10-32

10-32 hex.

1шт.

100763

SCREW, 10-32 x 3/8 slt-rd-hd mach

1шт.

106497

LOCK WASHER,#10

WASHER, LOCK, #10

1шт.

13

371034R1

CLIP, cable harness, RH side, on inside edge of hood support

1шт.

14

547142R1

HARNESS ASSY, cable

1шт.

15

358113R92

CABLE, generator, F, terminal to regulator, F, terminal

1шт.

16

358112R92

CABLE

generator, A, terminal to regulator, Gen, terminal

1шт.

17

1107327

MOTOR

ASSY, cranking, order 1109352, for components see list of parts under details of cranking motor

1шт.

NLS

NO LONGER SERVICED

2шт.

103321

LOCK WASHER,3/8"

WASHER, LOCK, 3/8"

2шт.

18

BATTERY IGNIITON UNIT, refer to C-60 engine group 12

1шт.

19

358986R1

CABLE CLIP

CLIP, flashing warning light cable

1шт.

20

121577C1

GOVERNOR

REGULATOR ASSY, voltage

1шт.

109084

NUT,1/4"-20, G5

2шт.

179792

BOLT,Hex, 1/4" - 20 x 9/16"

SCREW, 1/4-20 x 9/16 hex-hd cap

2шт.

103319

LOCK WASHER,1/4"

WASHER, LOCK, 1/4"

2шт.

21

GENERATOR ASSY, refer to generator and connections

1шт.

22

376849R91

HEADLIGHT

LIGHT ASSY, head, only serviceable items are sealed beam unit, 373662R91 and connector, 530029R91, optional w/391005R91

2шт.

22

391005R91

HEADLIGHT

LIGHT ASSY, head, only serviceable items are sealed beam unit, 373662R91, retainer, 676078R1, and connector 530029R91, optional w/376849R91

2шт.

102637

NUT,1/2"-13, G5

2шт.

103323

LOCK WASHER,1/2"

WASHER, LOCK, 1/2"

2шт.

23

120302

GROMMET,3/8" ID x 27/32" x .188", Diag Cut

rubber no. 6, in hood

2шт.

24

362121R1

CLIP

head light cable harness

2шт.

109084

NUT,1/4"-20, G5

2шт.

440-1258

SCREW,Cross Pan Hd, 1/4"-20 x 1/2"

1/4-20 x 1/2 slt-rd-hd mach

2шт.

103319

LOCK WASHER,1/4"

WASHER, LOCK, 1/4"

2шт.

25

378424R91

GAUGE

INDICATOR ASSY, charge, replaces 360053R92

1шт.

26

376851R92

SWITCH

ASSY, lighting

1шт.

27

121629C1

IGNITION SWITCH

SWITCH ASSY, neutral starting, replaces 382728R91

1шт.

28

394763R1

CLIP,ELECTRICAL

CLIP, snap-on cable

2шт.

29

376852R91

HOUSING

ASSY, fuse

1шт.

9426333

FUSE,15 Amp, Type 3AG

cartridge type AGC 15

1шт.

30

547144R1

CABLE

ASSY, magnetic switch to cranking motor

1шт.

31

366460R1

CABLE CLIP

CLIP, flashing warning light cable

2шт.

32

CABLE, magnetic switch to charge indicator positive terminal, order harness, 547142R1

1шт.

33

404401R1

CABLE PULLING GRIP

CABLE ASSY, fuse housing to lighting switch

1шт.

34

387311R1

ROD, CONNECTING

BODY, connector

2шт.

35

362121R1

CLIP

rear light cable

1шт.

36

366460R1

CABLE CLIP

CLIP, tail light cable

1шт.

37

395107R1

BRACKET, flasher mounting clamp

1шт.

179881

BOLT,1/2" - 13 x 1", Gr 5

1шт.

38

354247R1

BRACKET, voltage regulator mounting

1шт.

39

45569D

SPACER

head light

2шт.

40

351341R1

BOLT

POST, head light

2шт.

114507

JAM NUT,Jam, 5/8"-11, G5

2шт.

103325

LOCK WASHER,5/8"

WASHER, LOCK, 5/8"

2шт.

41

363660R1

CLIP

cable harness, on generator front mounting bolt

1шт.

42

67538C92

HEADLIGHT

LIGHT ASSY, flashing warning, only serviceable item is lamp, 9417866

1шт.

120371

NUT,1/2"-20, G5

1шт.

493-41052

LOCK WASHER,Ext Tooth, 1/2"

1/2 C-Z ext-tooth lock

1шт.

43

394262R1

WASHER

GASKET, flashing warning light

1шт.

44

394132R91

FLASHER UNIT

FLASHER ASSY, warning light

1шт.

45

394133R1

FASTENER

CLAMP, flasher mounting

1шт.

109084

NUT,1/4"-20, G5

1шт.

179791

BOLT,Hex, 1/4" - 20 x 1/2", Gr 5

1шт.

446179

WASHER,#12

1/4 x 1/2 x .036 znd

1шт.

46

394134R1

SEAL

ABSORBER, flashing mounting

1шт.

47

394607R1

BRACKET, fender mounting

1шт.

102635

NUT,3/8"-16, G5

3шт.

179837

BOLT,Hex, 3/8" - 16 x 3/4", Gr 5

3шт.

103321

LOCK WASHER,3/8"

WASHER, LOCK, 3/8"

3шт.

95-11041

WASHER,3/8"

(13/32 x 13/16 x .051) 3/8"

2шт.

48

404389R1

CABLE ASSY, Serial Range: flasher-light

1шт.

49

CABLE, flashing warning light to lighting switch, black, order harness, 547142R1

1шт.

50

547145R1

HARNESS ASSY, neutral starting switch

1шт.

51

547147R1

BRACKET

neutral starting switch

1шт.

16897R1

CARRIAGE BOLT,Short Nk, 5/16" - 18 x 3/4", Gr 2, Full Thd

BOLT, 5/16-18 x 3/4 znd crg

2шт.

120376

NUT,5/16"-18, G5

2шт.

80681

LOCK WASHER,5/16"

WASHER, LOCK, 5/16"

3шт.

52

121613C1

IGNITION SWITCH

SWITCH ASSY, magnetic, replaces 545756R2

1шт.

120614

NUT,Hex, #10 - 32

NUT, #10-32

1шт.

120217

LOCK WASHER,#10

WASHER, LOCK, #10

1шт.

120376

NUT,5/16"-18, G5

2шт.

80681

LOCK WASHER,5/16"

WASHER, LOCK, 5/16"

2шт.

611344R1

WASHER

11/32 x 7/8 x 16 ga C-Z (or as required)

1шт.

413-48

BOLT,Hex, 1/4" - 20 x 1/2", Gr 5

SCREW, 1/4-20 x 1/2 znd hex-hd cap

2шт.

120375

NUT,Hex, 1/4" - 20, Gr 5

2шт.

405236R1

CABLE ASSY, flashing warning light jumper, for use when flashing warning light is not used

1шт.

Выбрано товаров: 98