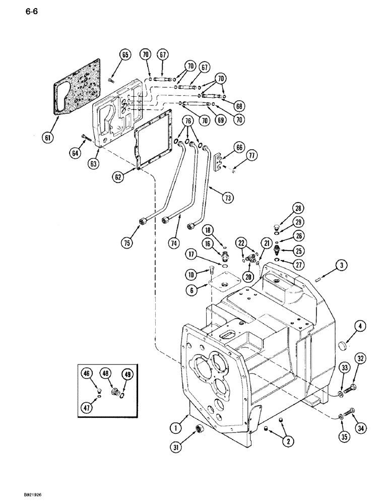
Запчасти Case IH 7110 (6-006) - CLUTCH HOUSING, TRANSMISSION SERIAL NUMBER AJB0055133 AND AFTER (06) - POWER TRAIN

Схема запчастей Case IH 7110 - (6-006) - CLUTCH HOUSING, TRANSMISSION SERIAL NUMBER AJB0055133 AND AFTER (06) - POWER TRAIN
70
62
64
27
22
25
26
33
1
3
29
74
75
49
17
47
28
69
48
4
70
67
61
2
70
70
63
35
21
67
31
70
73
16
10
18
66
20
77
6
34
46
65
76
32
68
FIT
1:1
100%

Артикул

Название

Примечание

Количество

1

93356C3

HOUSING

ASSEMBLY - clutch, Includes: Ref. 2 - 4

1шт.

2

221-845

PLUG,Hex Soc, 3/4"-14

- square countersink, 3/4-12 inch thread, Replaces: 273469

2шт.

3

837-12030

DOWEL,M12 x 30mm OAL

Locating M12 x 30

2шт.

4

30357R1

PLUG,M50, Tapered

- tapered cup, 50 mm, without MFD

1шт.

6

1981205C1

COVER

- lube

1шт.

10

628-10025

BOLT,Hex, M10 x 1.5 x 25mm, Cl 10.9, Full Thd

4шт.

16

1981204C1

FITTING,1" - 14 ORFS x 7/8" - 14 ORB

- lube, Includes: Ref. 17 and 18

1шт.

17

237-6010

O-RING,0.097" Thk x 0.755" ID, -910, Cl 6, 90 Duro

10-1, 90 Duro, .755" ID x .097" Thk

1шт.

18

238-6016

O-RING,0.07" Thk x 0.614" ID, -16, Cl 6, 90 Duro

1шт.

20

201-401

TEE,11/16"-16 x 9/16"-18 Br, ORFS

- 9/16-18 adj O-ring branch x 11/16-16 inch face x face, Includes: Ref. 21 and 22

1шт.

22

238-6012

O-RING,0.07" Thk x 0.364" ID, -12, Cl 6, 90 Duro

2шт.

25

93105C1

UNION

ADAPTER - bulkhead, 13/16-16 face x 3/4-16 inch O-ring, with creeper

1шт.

26

238-6014

O-RING,0.07" Thk x 0.489" ID, -14, Cl 6, 90 Duro

1шт.

27

237-6008

O-RING,0.087" Thk x 0.644" ID, -908, Cl 6, 90 Duro

8-1, 90 Duro, .644" ID x .087" Thk, Boss end

1шт.

28

214389

PLUG,3/4" - 16 ORB

without creep, Includes Ref. 29 Hex Hd, 3/4"-16 ORB

1шт.

29

237-6008

O-RING,0.087" Thk x 0.644" ID, -908, Cl 6, 90 Duro

8-1, 90 Duro, .644" ID x .087" Thk

1шт.

31

220304R1

NEEDLE BEARING,1.375" ID x 1.63" OD x 0.75"

BEARING - needle

1шт.

32

628-20060

SCREW,Hex, M20 x 2.5 x 60mm, Cl 10.9, Full Thd

BOLT - hex, 20 - 2.5 x 60 mm, class 10.9

1шт.

33

896-12020

WASHER,22mm ID x 37mm OD x 4mm Thk

- flat, 22 x 37 x 4 mm

1шт.

34

813-16055

BOLT,Hex, M16 x 2 x 55mm, Cl 8.8

Hex, M16 x 55, 8.8

9шт.

35

896-11016

WASHER,17.5mm ID x 30mm OD x 4mm Thk

Flat M17.5 x 30 x 4, HT

9шт.

46

76349

PLUG,9/16" - 18 ORB

Incl. Ref. 47 Hex Hd, 9/16"-18 ORB

3шт.

48

218-5158

PLUG,Hex Hd, 1 1/16"-12 ORB

ASSEMBLY - hex, 1-1/16-12 inch O-ring boss, Includes: Ref. 49

1шт.

49

237-6012

O-RING,0.116" Thk x 0.924" ID, -912, Cl 6, 90 Duro

12-1, 90 Duro, .924 ID x .116" Thk

1шт.

61

REF

INSTRUCTION

GASKET - body plate to mounting plate, See Figure 6-58 and 6-78

1шт.

62

REF

INSTRUCTION

GASKET - mounting plate to clutch housing, See Figure 6-58 and 6-78

1шт.

63

REF

INSTRUCTION

PLATE ASSEMBLY - mounting, transmission control valve, See Figure 6-58 and 6-78

1шт.

64

828-10055

BOLT,Hex, M10 x 1.5 x 55mm, Cl 10.9

- hex, 10 x 55 mm, class 10.9

4шт.

65

905261R1

HEX SOC SCREW,M10 x 40mm, Cl 12.9

BOLT - hex socket, 10 x 40 mm, Grade 12.9

3шт.

66

1286093C3

RETAINER

- tube

1шт.

67

1963936C1

TUBE,12.95 mm ID, 17 mm OD

- first, second, third and fourth speed, steel

2шт.

68

1963937C1

TUBE,12.95 mm ID, 17 mm OD

- fifth and sixth speed, steel

1шт.

69

1963938C1

TUBE,12.95 mm ID, 17 mm OD

- reverse, steel

1шт.

70

238-6016

O-RING,0.07" Thk x 0.614" ID, -16, Cl 6, 90 Duro

8шт.

73

1286090C1

HYD TUBE

TUBE - clutch, front low

1шт.

74

1286091C1

HYD TUBE,0.625" OD, 505.7, 141 mm Length

TUBE - clutch, front medium

1шт.

75

1286092C1

HYD TUBE

TUBE - clutch, front high

1шт.

76

238-6018

O-RING,0.07" Thk x 0.739" ID, -18, Cl 6, 90 Duro

3шт.

77

863-10040

HEX SOC SCREW,M10 x 40mm, Cl 12.9

SCREW, Hex Soc Hd, M10 x 40, 12.9

1шт.

21

237-6006

O-RING,0.078" Thk x 0.468" ID, -906, Cl 6, 90 Duro

6-1, 90 Duro, .468" ID x .078" Thk

1шт.

47

237-6006

O-RING,0.078" Thk x 0.468" ID, -906, Cl 6, 90 Duro

6-1, 90 Duro, .468" ID x .078" Thk

1шт.

Выбрано товаров: 41