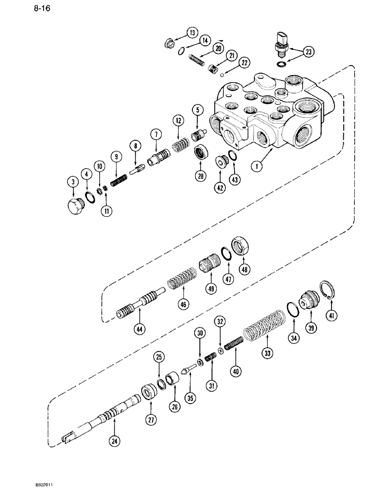
Запчасти Case IH 7110 (8-16) - PTO VALVE ASSEMBLY, TRANSMISSION SERIAL NUMBER AJB0041225 THROUGH AJB0044914 (08) - HYDRAULICS

Схема запчастей Case IH 7110 - (8-16) - PTO VALVE ASSEMBLY, TRANSMISSION SERIAL NUMBER AJB0041225 THROUGH AJB0044914 (08) - HYDRAULICS
24
33
27
5
41
30
35
4
44
43
12
25
40
3
8
31
22
26
32
34
28
1
39
9
23
21
10
48
49
47
46
13
42
20
7
14
11
FIT
1:1
100%

Артикул

Название

Примечание

Количество

1343635C4

VALVE

ASSEMBLY - PTO, Includes: Ref. 1 - 49

1шт.

1

NSS

NOT SOLD SEPARAT

BODY - valve, PTO

1шт.

3

1341932C2

PLUG

- adjusting

1шт.

4

237-6010

O-RING,0.097" Thk x 0.755" ID, -910, Cl 6, 90 Duro

- 3/4 x 15/16 x 3/32 inch

1шт.

5

1341958C2

SPOOL

POPPET - valve check

1шт.

1978338C1

SPOOL

ASSEMBLY - pressure, Includes: Ref. 7 - 11

1шт.

7

NSS

NOT SOLD SEPARAT

SPOOL - pressure

1шт.

8

NSS

NOT SOLD SEPARAT

POPPET - relief valve

1шт.

9

NSS

NOT SOLD SEPARAT

SPRING - relief

1шт.

10

NSS

NOT SOLD SEPARAT

RING - snap

1шт.

11

NSS

NOT SOLD SEPARAT

WASHER - valve

1шт.

12

1341960C1

SPRING

- check valve

1шт.

13

9625178

PLUG,9/16" - 18 ORB

1шт.

20

1341952C1

SPRING

- detent

1шт.

21

1341948C3

GUIDE

- detent, without balance groove, Replaces: 1341948C1 and 1341948C2

1шт.

22

211-206

BALL,1/4" Dia

- chrome, 1/4 inch diameter

1шт.

23

1964698C3

SWITCH

ASSEMBLY - neutral start

1шт.

1343754C1

SPOOL

ASSEMBLY - PTO valve, Includes: Ref. 24 - 27

1шт.

24

NSS

NOT SOLD SEPARAT

SPOOL - PTO

1шт.

25

A60273

SNAP RING,#62, Ext

Ring, Snap, , spool #62, Ext

1шт.

26

G108812

SHOULDER

STOP - spool, shoulder

1шт.

27

G108813

STOP

- spool

1шт.

28

G105700

OIL SEAL

- oil

1шт.

30

G108811

WASHER,8mm ID x 14.27mm OD x 1.65mm Thk

- poppet

1шт.

31

G108818

SPRING

- secondary, modulator

1шт.

32

G108810

WASHER

- poppet

1шт.

33

G110014

VALVE SPRING

SPRING - centering

1шт.

34

G108884

O-RING,1.114" ID x 1.254" OD

- poppet

1шт.

35

G108809

VALVE POPPET

POPPET - valve

1шт.

39

G108808

CAP

- end

1шт.

40

G108816

SPRING

- primary, modulator

1шт.

41

A32181

SNAP RING,1.375", Int, #137

Ring, Snap, 1.375", Int, #137

1шт.

42

71100209

PLUG,Hex Soc, 3/4"-16 ORB

Assy, Incl Ref 42 Hex Soc, 3/4"-16 ORB

1шт.

43

237-6008

O-RING,0.087" Thk x 0.644" ID, -908, Cl 6, 90 Duro

8-1, 90 Duro, .644" ID x .087" Thk

1шт.

44

1340765C2

SPOOL

- regulator

1шт.

46

1341961C1

SPRING

- regulator

1шт.

47

237-6012

O-RING,0.116" Thk x 0.924" ID, -912, Cl 6, 90 Duro

12-1, 90 Duro, .924 ID x .116" Thk

1шт.

48

218-1280

BHD LOCK NUT,Blkhd, 1 1/16"-12

NUT - hex jam, 1-1/16 inch NC

1шт.

49

1341962C1

PLUG

- adjusting

1шт.

14

237-6006

O-RING,0.078" Thk x 0.468" ID, -906, Cl 6, 90 Duro

6-1, 90 Duro, .468" ID x .078" Thk

1шт.

Выбрано товаров: 40