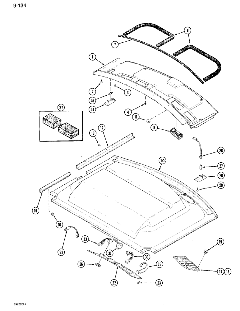
Запчасти Case IH 7110 (9-134) - CAB, HEADLINER AND CONTROL PANEL (09) - CHASSIS/ATTACHMENTS

Схема запчастей Case IH 7110 - (9-134) - CAB, HEADLINER AND CONTROL PANEL (09) - CHASSIS/ATTACHMENTS
18
16
25
1
33
13
26
17
10
15
2
19
37
8
9
32
35
30
7
4
36
24
23
29
12
3
31
11
28
27
22
FIT
1:1
100%

Артикул

Название

Примечание

Количество

1

96753C1

PANEL ASSY.

HEADLINER ASSEMBLY - cab, front, Replaces: 1975781C1

1шт.

2

1327506C1

SELF-TAP SCREW,Cross Pan Hd, M4.8 x 19mm, Coated

SCREW, SELF TAP, Cross Pan Hd, M4.8 x 19, Coated

6шт.

3

143309C1

SELF-TAP SCREW,Cross Pan Hd, #10 - 16 x 1/2"

SCREW - pan head cross slot tap, No. 10-16 x 1/2 inch

2шт.

4

97172C1

SELF-TAP SCREW,Cross Pan Hd, #10-16 x 1"

2шт.

7

97168C1

STRIP

- foam, 1100 mm, order 187874C1 and, Serial Range: cut-length

1шт.

8

98390C1

SEALING STRIP

- foam, 1000 mm, order 1974884C1 and, Serial Range: cut-length

2шт.

9

1958752C1

VENT

LOUVER ASSEMBLY - air flow, cab, Replaces: 96600C2

8шт.

10

97267C5

ROOF

HEADLINER - rear, Replaces: 97267C4

1шт.

117987C1

SPRING NUT

- U-type, long, rear headliner, if used

6шт.

11

97201C1

CLIP

- spring, U

4шт.

12

97016C1

ANGLE

SUPPORT - front, headliner left

1шт.

13

143306C1

SELF-TAP SCREW,Cross Pan Hd, #10 x 1/2"

SCREW - pan head cross slot, No. 10-16 x 1/2 inch

3шт.

15

97024C1

SUPPORT ASSY.

SUPPORT - headliner, rear left

1шт.

16

1330157C1

FLANGE NUT

- hex flange lock, 1/4 inch NC

2шт.

17

96979C1

GRILLE

- speaker, left

1шт.

18

96980C1

GRILLE

- speaker, right

1шт.

19

97058C1

CLIP

- spring, retaining

8шт.

22

96813C2

PANEL ASSY.

PANEL - switch

1шт.

23

1270762C1

SELF-TAP SCREW

- pan head special, No. 10-16 x 1 inch

6шт.

24

1983391C1

LAMP,12V, 10W

ASSEMBLY - dome, Replaces: K303720, Includes: Ref. 25

1шт.

25

3050958R1

BULB,K, 12V, 10W

- light, Replaces K913579 K, 12V, 10W

1шт.

26

83882C91

LAMP

ASSEMBLY - illumination, console, Includes: Ref. 27 and 28

1шт.

27

26617R1

BULB,C2F, #168, 14V

- lamp, No. 168

1шт.

28

107329C1

WIRE HARNESS

CABLE - socket

1шт.

29

1327506C1

SELF-TAP SCREW,Cross Pan Hd, M4.8 x 19mm, Coated

SCREW, SELF TAP, Cross Pan Hd, M4.8 x 19, Coated

2шт.

30

92100C2

SWITCH

ASSEMBLY - blower motor

1шт.

31

92101C1

SWITCH

ASSEMBLY - thermostat

1шт.

32

92153C1

SWITCH

ASSEMBLY - low pressure

1шт.

33

92115C2

SWITCH

ASSEMBLY - wiper, windshield

1шт.

35

1964672C1

LIGHT

- indicator, air conditioner, Replaces: 92225C1

1шт.

36

96893C1

KNOB

- control, switch

4шт.

37

1977668C1

FOAM

PAD - headliner, front

1шт.

1975866C1

PLATE ASSY.

PLATE - cover, without radio

1шт.

1535219C1

COVER

PLATE - cover, without radio, deluxe

1шт.

187874C1

GASKET

STRIP - 50 foot, foam, bulk roll

1шт.

1974884C1

SEAL

STRIP - 50 foot, foam, bulk roll

1шт.

L115882

RELAY

for high speed blower

1шт.

Выбрано товаров: 37