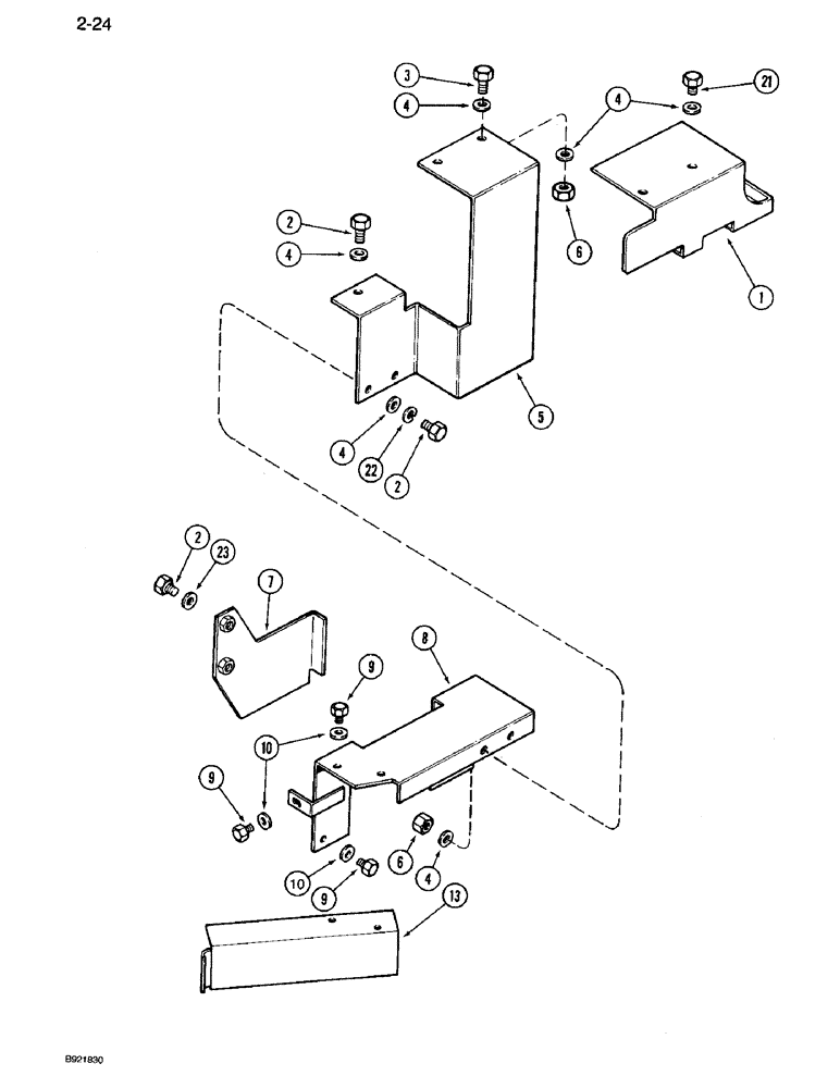
Запчасти Case IH 7110 (2-24) - EXHAUST SYSTEM SHIELDS, P.I.N. JJA0018535 THROUGH JJA0033578 (02) - ENGINE

Схема запчастей Case IH 7110 - (2-24) - EXHAUST SYSTEM SHIELDS, P.I.N. JJA0018535 THROUGH JJA0033578 (02) - ENGINE
8
4
3
5
23
9
13
2
4
1
6
22
9
7
6
2
2
21
4
10
9
4
4
10
FIT
1:1
100%

Артикул

Название

Примечание

Количество

1

1334628C6

GUARD

SHIELD manifold, Replaces: 1334628C3

1шт.

2

614-10020

BOLT,Hex, M10 x 1.5 x 20mm, Cl 8.8, Full Thd

1шт.

3

614-10025

BOLT,Hex, M10 x 1.5 x 25mm, Cl 8.8

hex, 10 x 25 mm, class 10.9

1шт.

4

896-11010

WASHER,11mm ID x 21mm OD x 2.5mm Thk

9шт.

5

1289457C2

SHIELD

turbocharger

1шт.

6

825-1410

NUT,M10, Cl 8

3шт.

7

1334509C1

SHIELD

valve cover, not required

1шт.

8

1968122C1

SHIELD

starter, front

1шт.

9

614-8012

BOLT,Hex, M8 x 1.25 x 12mm, Cl 8.8, Full Thd

5шт.

10

895-11008

WASHER,9mm ID x 16mm OD x 1.6mm Thk

flat, 9 x 17 x 2 mm

5шт.

13

1289443C1

SHIELD

starter, rear

1шт.

21

614-10016

BOLT,Hex, M10 x 1.5 x 16mm, Cl 8.8, Full Thd

2шт.

22

892-11010

LOCK WASHER,M10

2шт.

23

895-11010

WASHER,11mm ID x 20mm OD x 2mm Thk

flat, 11 x 21 x 2 mm

2шт.

Выбрано товаров: 14