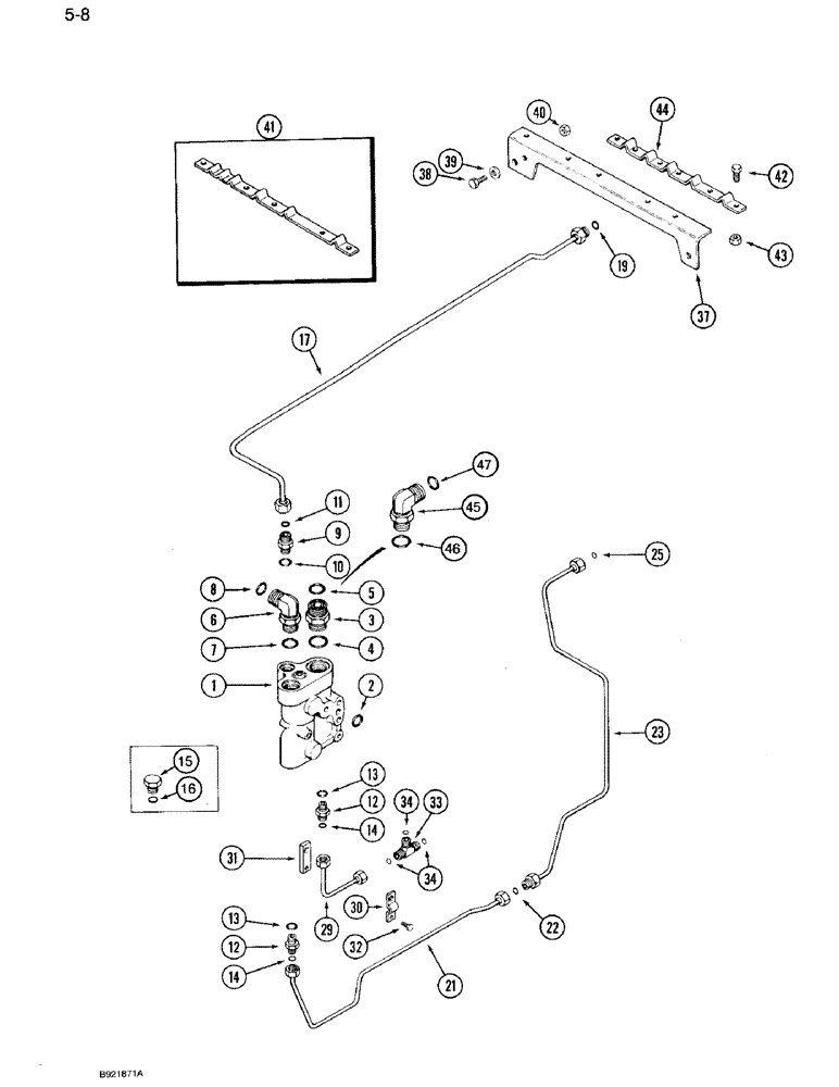
Запчасти Case IH 7120 (5-08) - HYDROSTATIC STEERING SYSTEM, PRIORITY VALVE TO STEERING PUMP, P.I.N. JJA0027701 AND AFTER (05) - STEERING

Схема запчастей Case IH 7120 - (5-08) - HYDROSTATIC STEERING SYSTEM, PRIORITY VALVE TO STEERING PUMP, P.I.N. JJA0027701 AND AFTER (05) - STEERING
23
14
47
12
9
2
41
29
44
1
43
4
14
17
45
42
30
40
38
7
13
5
22
46
11
16
25
37
6
34
19
3
10
39
21
12
13
33
8
15
34
31
32
FIT
1:1
100%

Артикул

Название

Примечание

Количество

1

REF

INSTRUCTION

VALVE ASSEMBLY - priority steering, See Figures 5-34 or 5-35A

1шт.

2

238-6117

O-RING,0.103" Thk x 0.799" ID, -117, Cl 6, 90 Duro

Priority valve seal -117, 90 Duro, .799" ID x .103" Thk

1шт.

3

201-105

HYD CONNECTOR,1-7/16" - 12 Male ORFS x 1-5/16" - 12 Male ORB

ADAPTER - straight, 1-7/16 x 1-5/16 inch thread, if used, Incl. Ref. 4 and 5

1шт.

4

237-6016

O-RING,0.116" Thk x 1.171" ID, -916, Cl 6, 90 Duro

- boss end, 1-11/64 ID x 1/8 inch

1шт.

5

238-6021

O-RING,15/16 X 1 - 1/16, Cl 6

Face End -021, 90 Duro, .926" ID x .070" Thk

1шт.

6

201-307

ELBOW,90 Degree Elbow, 1-3/16" - 12 Male ORFS x 1-1/16" - 12 Male ORB

- 90 degree, 1-3/16 x 1-1/16 inch thread, Includes: Ref. 7 and 8

1шт.

7

237-6012

O-RING,0.116" Thk x 0.924" ID, -912, Cl 6, 90 Duro

12-1, 90 Duro, .924 ID x .116" Thk, Boss end

1шт.

8

238-6018

O-RING,0.07" Thk x 0.739" ID, -18, Cl 6, 90 Duro

Face end -018, 90 Duro, .739" ID x .070" Thk

1шт.

9

201-102

HYD CONNECTOR,13/16" - 16 Male ORFS x 3/4" - 16 Male ORB

CONNECTOR, HYD., , Includes Ref. 10 and 11 13/16"-16 ORFS x 3/4"-16 ORB

1шт.

10

237-6008

O-RING,0.087" Thk x 0.644" ID, -908, Cl 6, 90 Duro

8-1, 90 Duro, .644" ID x .087" Thk, Boss end

1шт.

11

238-6014

O-RING,0.07" Thk x 0.489" ID, -14, Cl 6, 90 Duro

Face end -014, 90 Duro, .489" ID x .070" Thk

1шт.

12

201-101

HYD CONNECTOR,11/16" - 16 Male ORFS x 9/16" - 18 Male ORB

Adapter - straight, Incl Ref. 13 and 14 11/16"-16 ORFS x 9/16"-18 ORB

2шт.

14

238-6012

O-RING,0.07" Thk x 0.364" ID, -12, Cl 6, 90 Duro

Face end -012, 90 Duro, .364" ID x .070" Thk

1шт.

15

218-5158

PLUG,Hex Hd, 1 1/16"-12 ORB

- hex, 1-1/16 inch thread, used without hitch, if used, Includes: Ref. 16

1шт.

16

237-6012

O-RING,0.116" Thk x 0.924" ID, -912, Cl 6, 90 Duro

- 23/64 ID x 5/64 inch

1шт.

17

1340547C1

HYD TUBE

TUBE - supply, steering, Includes: Ref. 19

1шт.

19

238-6014

O-RING,0.07" Thk x 0.489" ID, -14, Cl 6, 90 Duro

1шт.

21

1289489C3

HYD TUBE

TUBE - steering, signal rear, Includes: Ref. 22

1шт.

22

238-6012

O-RING,0.07" Thk x 0.364" ID, -12, Cl 6, 90 Duro

1шт.

23

1340546C1

HYD TUBE

TUBE - steering, signal front, Includes: Ref. 25

1шт.

25

238-6012

O-RING,0.07" Thk x 0.364" ID, -12, Cl 6, 90 Duro

1шт.

29

1289370C2

HYD TUBE,0.375" OD, 99.1, 85.2 mm Length

TUBE - pump, signal short

1шт.

30

1334536C2

CLAMP

- 3/8 inch OD tube

1шт.

31

1334535C2

SUPPORT

PLATE - tube, clamp

1шт.

32

615-6012

BOLT,Hex, M6 x 1 x 12mm, Cl 8.8, Full Thd

- hex, 6 x 12 mm

1шт.

33

201-408

TEE,11/16"-16 ORFS

- union, 11/16 inch thread, Includes: Ref. 34

1шт.

34

238-6012

O-RING,0.07" Thk x 0.364" ID, -12, Cl 6, 90 Duro

Face end -012, 90 Duro, .364" ID x .070" Thk

3шт.

37

1340548C3

SUPPORT

BRACKET - support, tube, Replaces:1340548C2

1шт.

38

613-10030

BOLT,Hex, M10 x 1.5 x 30mm, Cl 8.8, Full Thd

- hex, 10 x 30 mm

2шт.

39

895-11010

WASHER,11mm ID x 20mm OD x 2mm Thk

- flat, 11 x 21 x 2 mm

2шт.

40

825-1410

NUT,M10, Cl 8

2шт.

41

1340549C1

CLAMP

- strap, tube retaining, if equipped

1шт.

42

614-8016

BOLT,Hex, M8 x 1.25 x 16mm, Cl 8.8, Full Thd

- hex, 8 mm - 1.25 x 16 mm

6шт.

43

825-1408

NUT,M8, Cl 8

6шт.

44

1348408C1

CLAMP

- tube support, if equipped

1шт.

45

201-308

ELBOW,90 Degree Elbow, 1-7/16" - 12 Male ORFS x 1-5/16" - 12 Male ORB

- 90 deg, 1-7/16-12 face x 1-5/16 inch adj. O-ring, if used, Includes: Ref. 46 and 47

1шт.

46

237-6016

O-RING,0.116" Thk x 1.171" ID, -916, Cl 6, 90 Duro

- 1-11/64 ID x 7/64 inch wide

1шт.

47

238-6021

O-RING,15/16 X 1 - 1/16, Cl 6

1шт.

13

237-6006

O-RING,0.078" Thk x 0.468" ID, -906, Cl 6, 90 Duro

6-1, 90 Duro, .468" ID x .078" Thk, Boss end

1шт.

Выбрано товаров: 39