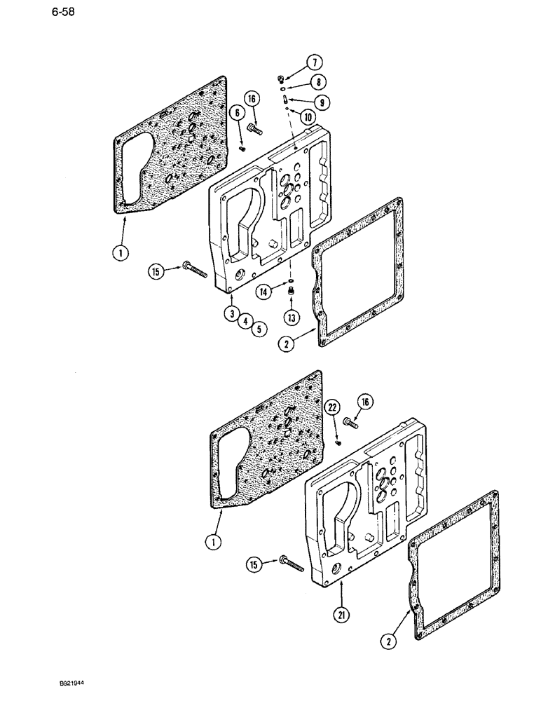
Запчасти Case IH 7120 (6-058) - TRANSMISSION CONTROL VALVE MOUNTING PLATE, TWO SPEED REVERSE VALVES (06) - POWER TRAIN

Схема запчастей Case IH 7120 - (6-058) - TRANSMISSION CONTROL VALVE MOUNTING PLATE, TWO SPEED REVERSE VALVES (06) - POWER TRAIN
15
6
4
2
1
7
2
21
15
13
5
14
22
8
10
16
9
3
1
16
FIT
1:1
100%

Артикул

Название

Примечание

Количество

1

1286268C9

GASKET

- body plate to mounting plate

1шт.

Part of Mounting Plate Kit, P/N 1975531C1

1шт.

Part of Body Plate Kit, P/N 1975530C1

1шт.

Part of Control Valve Kit, P/N 1981078C1, see Figure 6-60

1шт.

2

144143C2

GASKET,0.79mm Thk

- mounting plate to clutch housing

1шт.

3

1975531C1

PACKAGE

PLATE KIT - mounting, Includes: Ref. 1 and 2, see Figures 6-60, 6-64 and 6-76, Includes: Ref. 4, Serial Range: -AJB0002481

1шт.

4

1981290C1

PLATE ASSY.

PLATE ASSEMBLY - mounting, Includes: Ref. 6 - 10

1шт.

5

1981290C1

PLATE ASSY.

PLATE ASSEMBLY - mounting, also order Ref. 1 and 2; and Ref. 43, Figure 6-60, Includes: Ref. 6 - 10, Serial Range: AJB0002481-AJB0013999

1шт.

6

133519C1

SCREEN

- filter

1шт.

7

86529630

PLUG,Hex Soc, 3/8"-24 ORB

Assembly, Includes Ref. 8 Hex Soc, 3/8"-24 ORB

1шт.

8

218-5002

O-RING,0.064" Thk x 0.301" ID, -903, Cl 6, 90 Duro

3-1, .301" ID x .064" Thk

1шт.

9

47-212

RIVET,FH, 1/8" x 3/4"

- flat head steel, 1/8 x 3/4 inch

1шт.

10

30935R1

BALL

- steel, 6 mm diameter

1шт.

13

86529630

PLUG,Hex Soc, 3/8"-24 ORB

Assembly, Includes Ref. 14 Hex Soc, 3/8"-24 ORB

1шт.

14

218-5002

O-RING,0.064" Thk x 0.301" ID, -903, Cl 6, 90 Duro

3-1, .301" ID x .064" Thk

1шт.

15

814-10055

BOLT,Hex, M10 x 1.5 x 55mm, Cl 8.8

4шт.

16

905261R1

HEX SOC SCREW,M10 x 40mm, Cl 12.9

BOLT - hex socket, 10 x 40 mm, Grade 12.9

2шт.

21

1968245C2

PLATE ASSY.

PLATE ASSEMBLY - mounting, order 1975531C2 or 1981290C1 plate above, Includes: Ref. 22, Serial Range: -AJB0014000

1шт.

22

133519C1

SCREEN

- filter

1шт.

Выбрано товаров: 19